Kenmore Elite
Washer

Model #11027087604 Official Kenmore Elite washer

Here are the diagrams and repair parts for Kenmore Elite 11027087604 washer, as well as links to manuals and error code tables, if available.

There are a couple of ways to find the part or diagram you need:

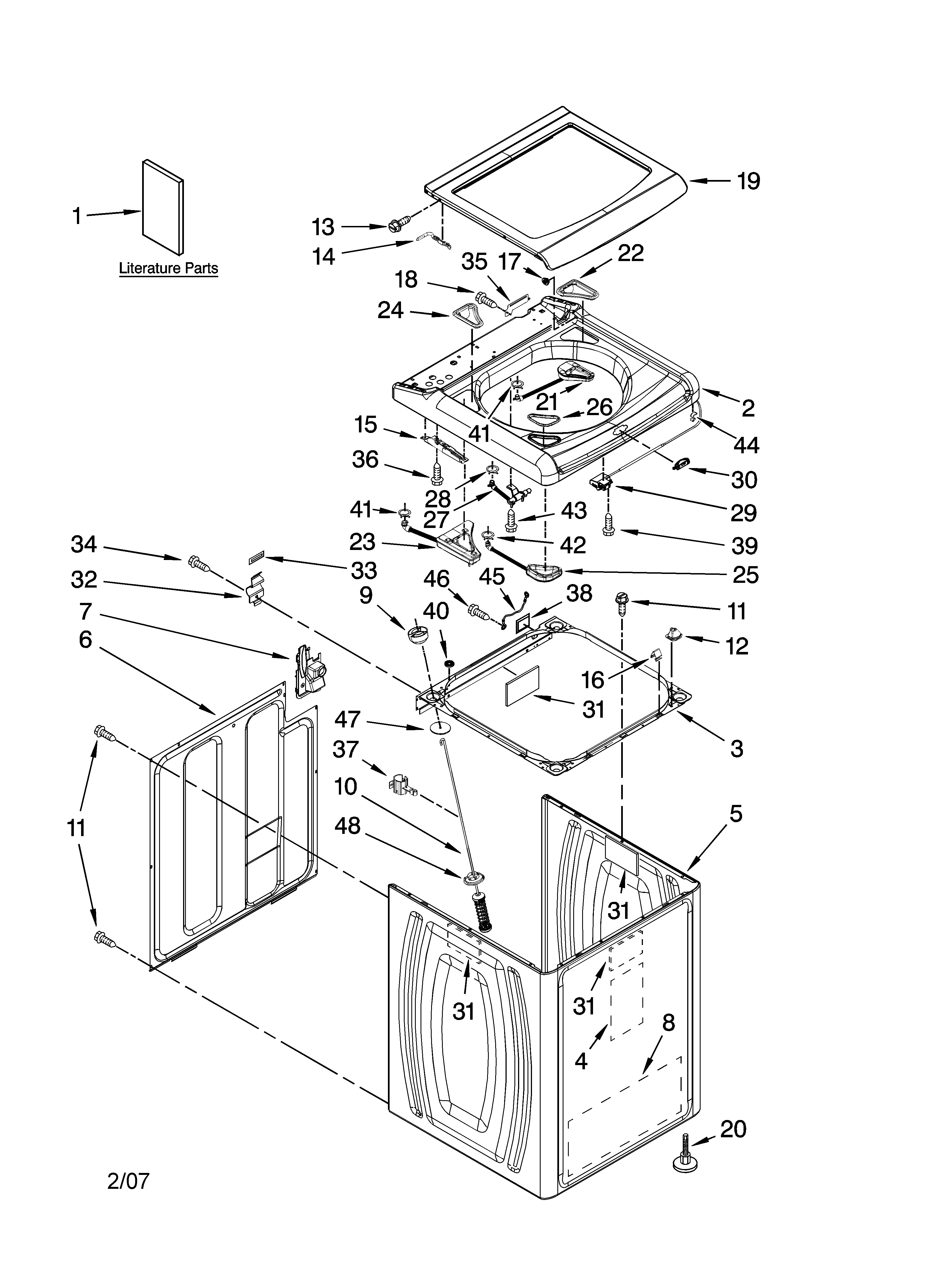
  • Click a diagram to see the parts shown on that diagram.
  • In the search box below, enter all or part of the part number or the part’s name.

Not all parts are shown on the diagrams—those parts are labeled NI, for “not illustrated”.

We encourage you to save the model to your profile, so it’s easy to access parts and manuals for your appliance whenever you log in.

For DIY troubleshooting advice and repair guides, visit our repair help section.

Installation guideOwner’s manual

Showing 10 of 148 parts

Washer Tub Bearing and Drive Shaft Kit#(NI)

Motor, basket and tub parts Diagram

Washer tub bearing and drive shaft kit

Part #W10435302
BEST SELLER
In Stock
$116.96 | 
8% OFF 
Phone Price: $126.96
Washer Suspension Rod Kit (replaces W10189077)#10

Top and cabinet parts Diagram

Suspension

Part #8564009
Replaced by #W10820048
?
Manufacturer substitution
This part replaces 8564009. Substitute parts can look different from the original.
BEST SELLER
In Stock
$54.97 | 
26% OFF 
MSRP: $74.57
Appliance Spray Paint (White) (replaces 094566-64, 206923, 2780-0001, 4395978, 5303203125, 66208, 788343, 799343, 799433, 99343, A0050702, F94566-010, Y057937, Y350930)#NI

Pump parts, optional parts (not included) Diagram

Washer Drain Pump#1

Pump parts, optional parts (not included) Diagram

Pump-water

Part #W10049390
Replaced by #W10536347
?
Manufacturer substitution
This part replaces W10049390. Substitute parts can look different from the original.
BEST SELLER
In Stock
$93.38 | 
22% OFF 
MSRP: $120.00
Washer Cold/Hot Water Fill Hose, 5-ft#19A

Control panel parts Diagram

Washer fill hose

Part #8571378
Replaced by #WP89503
?
Manufacturer substitution
This part replaces 8571378. Substitute parts can look different from the original.
BEST SELLER
In Stock
$14.49 | 
12% OFF 
Phone Price: $16.49
Washer Cold/Hot Water Fill Hose, 5-ft#19

Control panel parts Diagram

Fill hose

Part #8571377
Replaced by #WP89503
?
Manufacturer substitution
This part replaces 8571377. Substitute parts can look different from the original.
BEST SELLER
In Stock
$14.49 | 
12% OFF 
Phone Price: $16.49
Appliance Hose Clamp#41

Top and cabinet parts Diagram

Hose clamp

Part #370451
Replaced by #WP596669
?
Manufacturer substitution
This part replaces 370451. Substitute parts can look different from the original.
BEST SELLER
This item is not returnable
In Stock
$4.37 | 
19% OFF 
Phone Price: $5.37
Appliance Hose Clamp

See All Related Diagrams

Clamp

Part #371503
Replaced by #WP596669
?
Manufacturer substitution
This part replaces 371503. Substitute parts can look different from the original.
BEST SELLER
This item is not returnable
In Stock
$4.37 | 
19% OFF 
Phone Price: $5.37
Washer Lid Hinge Arm#14

Top and cabinet parts Diagram

Washer lid hinge arm

Part #8563964
Replaced by #WP8563964
?
Manufacturer substitution
This part replaces 8563964. Substitute parts can look different from the original.
BEST SELLER
This item is not returnable
In Stock
$4.54 | 
30% OFF 
MSRP: $6.50
Washer Screw#13

Top and cabinet parts Diagram

Lid hinge mounting screw

Part #355274
Replaced by #WPW10119828
?
Manufacturer substitution
This part replaces 355274. Substitute parts can look different from the original.
BEST SELLER
This item is not returnable
In Stock
$3.09 | 
28% OFF 
MSRP: $4.30

Symptoms common to all washers

Choose a symptom to see related washer repairs.

Main causes: leaky water inlet valve, faulty water-level pressure switch, bad electronic control board
Main causes: lack of electrical power, wiring failure, bad power cord, electronic control board failure, bad user interface board
Main causes: water heater failure, bad water temperature switch, faulty control board, bad water valve, faulty water temperature sensor
Main causes: unbalanced load, loose spanner nut, worn drive block, broken shock absorber or suspension spring, debris in drain pump
Main causes: broken lid switch or lid lock, bad pressure switch, broken shifter assembly, faulty control system
Main causes: clogged drain hose, house drain clogged, bad drain pump, water-level pressure switch failure, bad control board or timer
Main causes: worn agitator dogs, bad clutch, broken motor coupler, shifter assembly failure, broken door lock, suspension component failure
Main causes: no water supply, bad water valves, water-level pressure switch failure, control system failure, bad door lock or lid switch
Main causes: bad lid switch or door lock, bad timer or electronic control board, wiring failure, bad water inlet valve assembly

Articles and videos common to all washers

Use the advice and tips in these articles and videos to get the most out of your washer.

January 3, 2022

Why is my washing machine leaking when not in use?

By Lyle Weischwill

Learn how to fix a washing machine leak

December 30, 2021

How to fix a washing machine

By Lyle Weischwill

Learn how to fix your broken washing machine

April 10, 2020

Cleaning your appliances after a drinking water advisory

By Julie Riebe

Find out how to clean and flush household appliances once a boil water advisory is lifted.