McCulloch
Gas Chainsaw

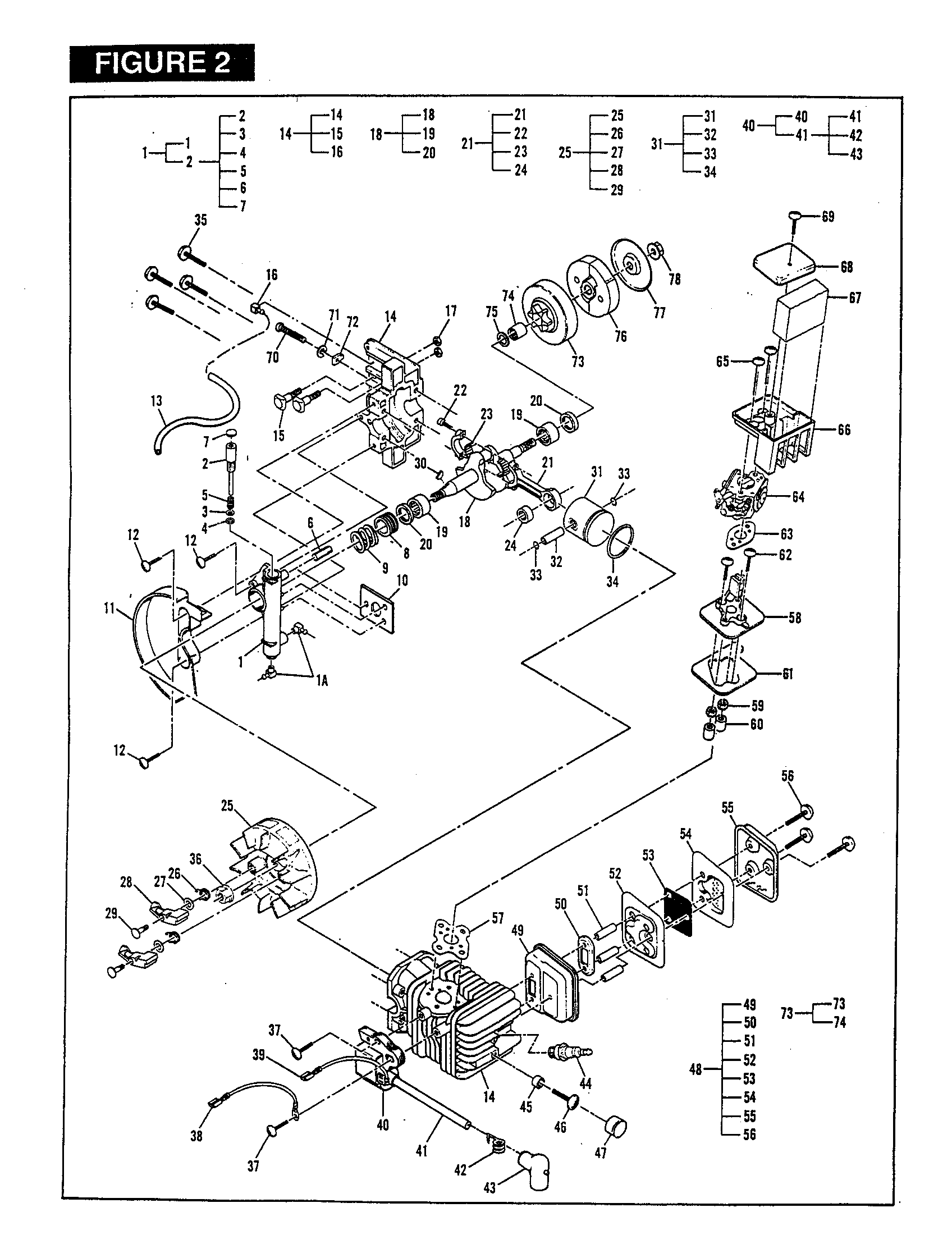
Model #MAC3214 11-600032-07 Official McCulloch 32-cc gas chainsaw

Here are the diagrams and repair parts for McCulloch MAC3214-11-600032-07 32-cc gas chainsaw, as well as links to manuals and error code tables, if available.

There are a couple of ways to find the part or diagram you need:

  • Click a diagram to see the parts shown on that diagram.
  • In the search box below, enter all or part of the part number or the part’s name.

Not all parts are shown on the diagrams—those parts are labeled NI, for “not illustrated”.

We encourage you to save the model to your profile, so it’s easy to access parts and manuals for your appliance whenever you log in.

For DIY troubleshooting advice and repair guides, visit our repair help section.

Showing 10 of 147 parts

Drive Sprocket#73

Powerhead assembly Diagram

Drive sprocket

Part #95646

The manufacturer no longer makes this part, and there's no substitute part

Pkg Bar, 14"

#NI

All parts Diagram

Pkg bar, 14"

Part #214235-01

The manufacturer no longer makes this part, and there's no substitute part

16'bar

#NI

All parts Diagram

16'bar

Part #214236-01

The manufacturer no longer makes this part, and there's no substitute part

Chain

#NI

All parts Diagram

Chain

Part #214925-12

The manufacturer no longer makes this part, and there's no substitute part

Spacer Drum#75

Powerhead assembly Diagram

Spacer drum

Part #215259

The manufacturer no longer makes this part, and there's no substitute part

Hex Nut#17

Powerhead assembly Diagram

Hex nut

Part #110676

The manufacturer no longer makes this part, and there's no substitute part

Clutch Nut#78

Powerhead assembly Diagram

Clutch nut

Part #111079

The manufacturer no longer makes this part, and there's no substitute part

Carb., Zama(#0

Carburetor assembly Diagram

Carb., zama(

Part #224832-01

The manufacturer no longer makes this part, and there's no substitute part

Boot#43

Powerhead assembly Diagram

Boot

Part #95266

The manufacturer no longer makes this part, and there's no substitute part

Srng-comprs#16

Chain brake assembly Diagram

Srng-comprs

Part #215721

The manufacturer no longer makes this part, and there's no substitute part

Symptoms for gas chainsaws

Choose a symptom to see related chainsaw repairs.

Main causes: cracked fuel lines, leaky carburetor seals, damaged fuel tank cap, cracked fuel tank
Main causes: stale gasoline, cracked fuel lines, dirty carburetor, damaged spark plug, worn piston rings
Main causes: bad gas, engine needs tune up, cracked fuel lines, dirty carburetor

Repair guides for gas chainsaws

These step-by-step repair guides will help you safely fix what’s broken on your chainsaw.

February 1, 2014
By Lyle Weischwill
How to rebuild a chainsaw carburetor

If your chainsaw isn't running well, a dirty carburetor could be the problem. You can take it apart, clean it and rebuild it, using a carburetor rebuild kit. This repair guide takes you through the process.

Repair difficulty
Time required
 15 minutes or less
February 1, 2014
By Lyle Weischwill
How to replace chainsaw fuel lines

The fuel line on a chainsaw becomes brittle over time and can crack. Replacing it doesn't require a lot of DYI experience. These instructions show you how.

Repair difficulty
Time required
 15 minutes or less
February 1, 2014
By Lyle Weischwill
How to replace a chainsaw carburetor

If the engine won't start even though there's fuel in the chainsaw, the carburetor could be the problem. Sometimes, it's easier to replace the carburetor than to clean it and rebuild it. Follow these steps to do the job yourself in about half an hour.

Repair difficulty
Time required
 15 minutes or less

Articles and videos common to all chainsaws

Use the advice and tips in these articles and videos to get the most out of your chainsaw.

July 12, 2022

What are the most common replacement parts for chainsaws?

By Lyle Weischwill

Learn about the most common replacement parts for chainsaws and how they can help you fix chainsaw problems.

June 29, 2022

Top questions about Sears and Sears PartsDirect

By Lyle Weischwill

Get answers to frequently asked questions about Sears and Sears PartsDirect.