Craftsman
Tiller

Model #98729908 Official Craftsman tiller

Here are the diagrams and repair parts for Craftsman 98729908 tiller, as well as links to manuals and error code tables, if available.

There are a couple of ways to find the part or diagram you need:

  • Click a diagram to see the parts shown on that diagram.
  • In the search box below, enter all or part of the part number or the part’s name.

Not all parts are shown on the diagrams—those parts are labeled NI, for “not illustrated”.

We encourage you to save the model to your profile, so it’s easy to access parts and manuals for your appliance whenever you log in.

For DIY troubleshooting advice and repair guides, visit our repair help section.

Showing 10 of 322 parts

Lawn Tractor Bolt (replaces 01000668, 1982728, 1983620, 43001, 715326, 910-0253, 9711, B1100046, GW-325284, GW-750A, GW-90012, GW-9711, GW-98068, GW-98-068, GW-B1100046, GW-B70235, GW-M6520008, GW-PT/01395/00, GW-PT/80153/00, GW-T70235, WD-113-207)#8

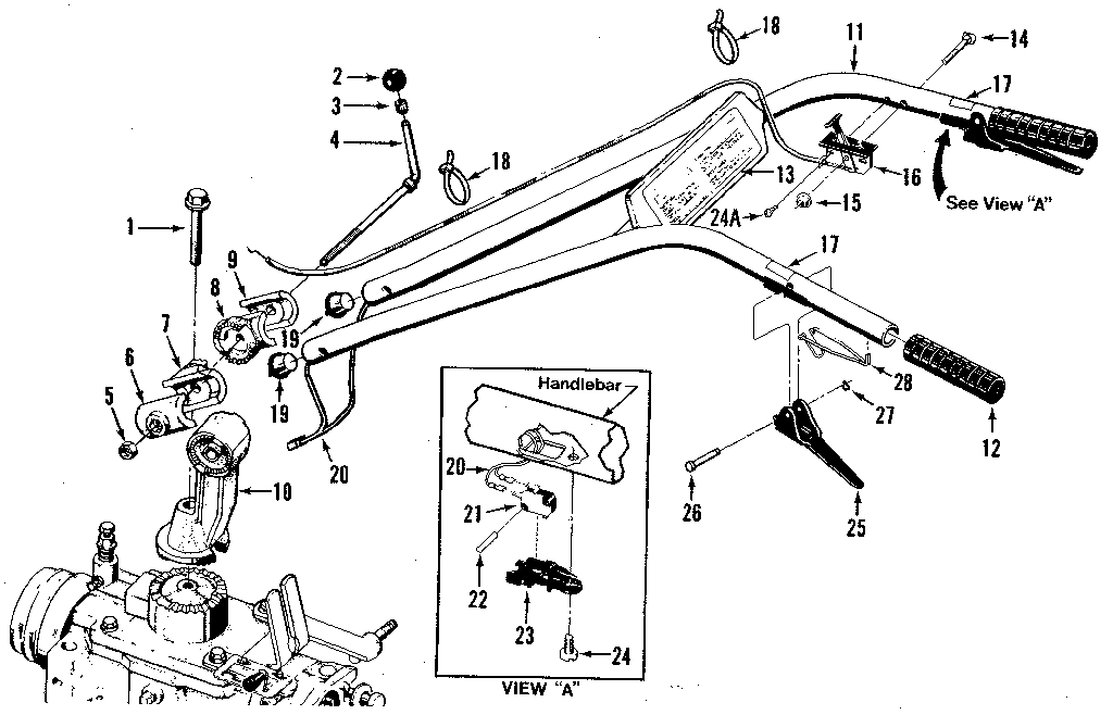
Bolo tine assemblies (figure 7) Diagram

Bolt

Part #9711
Replaced by #710-0514
?
Manufacturer substitution
This part replaces 9711. Substitute parts can look different from the original.
BEST SELLER
This item is not returnable
In Stock
$5.20 | 
16% OFF 
Phone Price: $6.20
Lawn Tractor Hex Bolt#10

Depth regulator & tine hood assemblies (figure 4) Diagram

Bolt

Part #9703
Replaced by #710-3008
?
Manufacturer substitution
This part replaces 9703. Substitute parts can look different from the original.
This item is not returnable
In Stock
$3.94 | 
20% OFF 
Phone Price: $4.94
Lawn Tractor Screw

See All Related Diagrams

Bolt

Part #9751
Replaced by #710-0376
?
Manufacturer substitution
This part replaces 9751. Substitute parts can look different from the original.
This item is not returnable
In Stock
$4.99 | 
17% OFF 
Phone Price: $5.99
Lawn & Garden Equipment Screw (replaces 710-0805, 9854, GW-9854)#5

Wraparound bumper Diagram

Bolt hx here

Part #9758
Replaced by #710-0805A
?
Manufacturer substitution
This part replaces 9758. Substitute parts can look different from the original.
This item is not returnable
In Stock
$4.14
Lawn & Garden Equipment Bolt#32

Wheel speed lever Diagram

Hex bolt

Part #9572
Replaced by #710-0672
?
Manufacturer substitution
This part replaces 9572. Substitute parts can look different from the original.
This item is not returnable
In Stock
$6.60 | 
13% OFF 
Phone Price: $7.60
Tiller Depth Regulator Drag Bar#8

Depth regulator & tine hood assemblies (figure 4) Diagram

Drag bar

Part #2121
Replaced by #1900867001
?
Manufacturer substitution
This part replaces 2121. Substitute parts can look different from the original.
In Stock
$36.48
Lawn & Garden Equipment Hex Nut

#NI

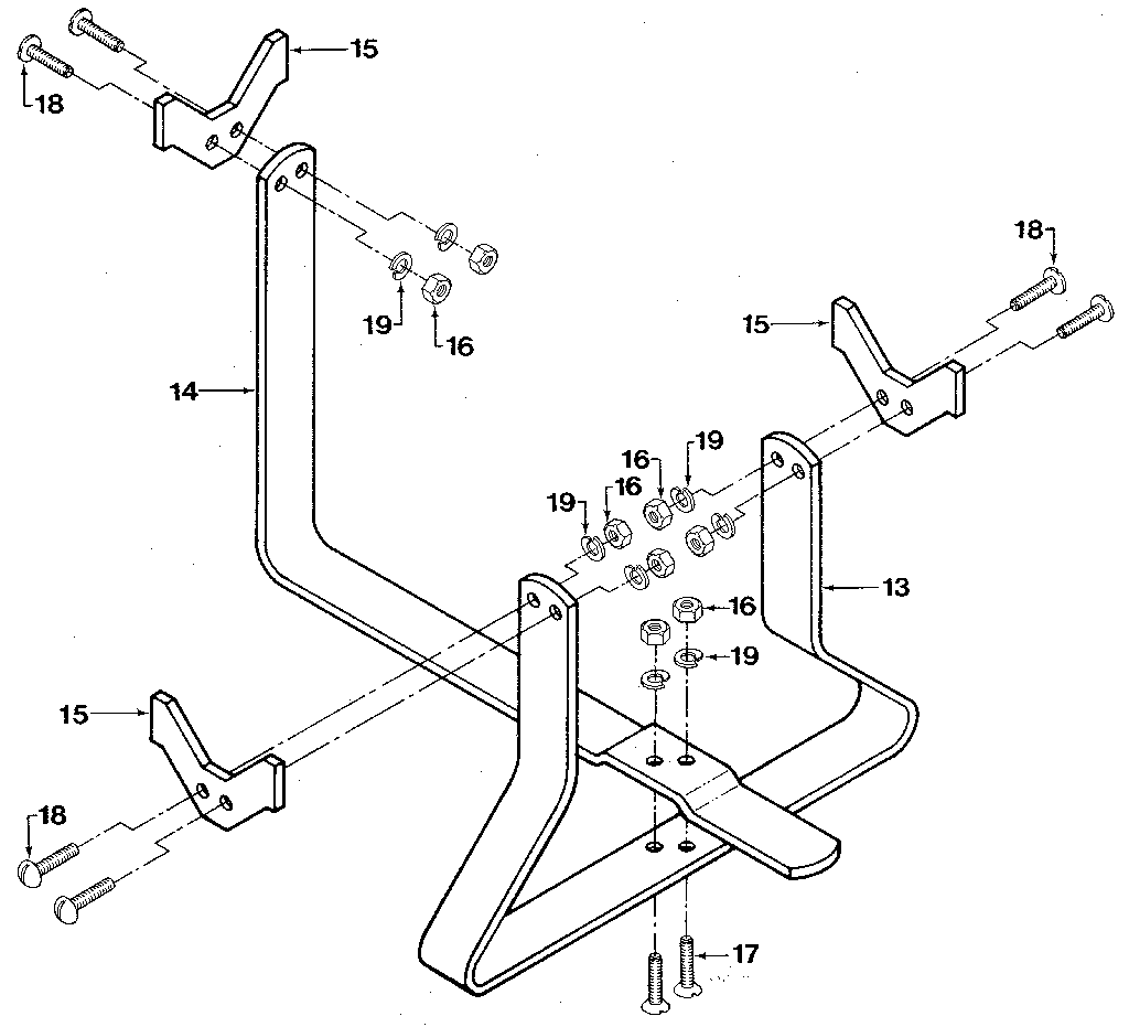
All parts Diagram

Hex nut

Part #9807
Replaced by #712-0375
?
Manufacturer substitution
This part replaces 9807. Substitute parts can look different from the original.
This item is not returnable
In Stock
$3.55
Tiller Clutch Spring#2

Yoke and roller assembly Diagram

Clutch spring

Part #2163
Replaced by #1908156
?
Manufacturer substitution
This part replaces 2163. Substitute parts can look different from the original.
In Stock
$12.81
Seal#4

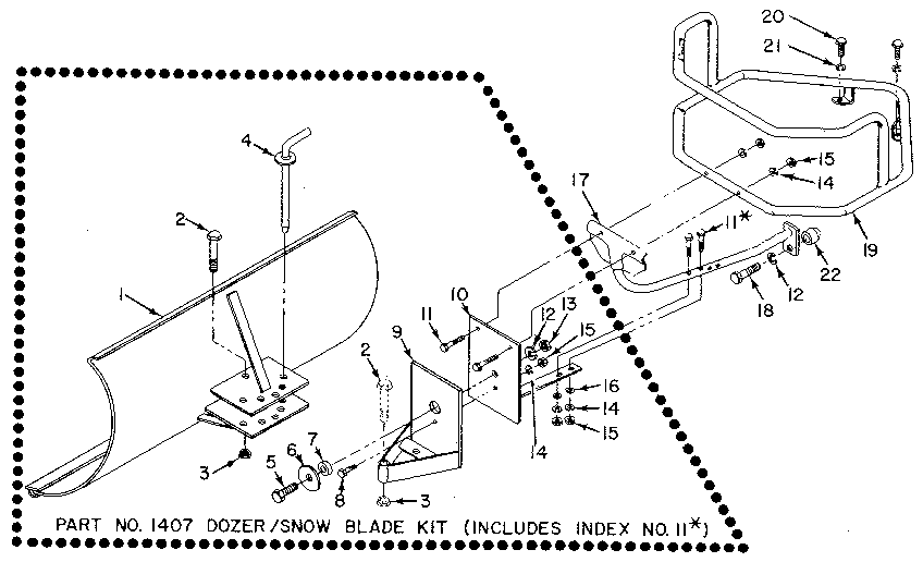
Snow blade assembly Diagram

Pin

Part #1158
Replaced by #921-0175
?
Manufacturer substitution
This part replaces 1158. Substitute parts can look different from the original.
In Stock
$15.29 | 
12% OFF 
Phone Price: $17.29
Lawn & Garden Equipment Bolt#36

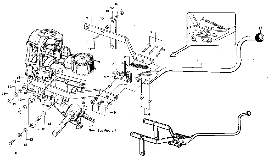
Power unit transmission assemblies (figure 5) Diagram

Hex head bolt

Part #9655
Replaced by #710-0157
?
Manufacturer substitution
This part replaces 9655. Substitute parts can look different from the original.
This item is not returnable
In Stock
$3.46

Symptoms common to all tillers

Choose a symptom to see related tiller repairs.

Main causes: worn or broken drive belts, bad transmission, clutch cable problems
Main causes: broken shaft clevis pins, transmission failure
Main causes: dirty carburetor, engine needs tune up, stale gas
Main causes: carburetor failure, bad gasoline, dirty spark plug, broken recoil starter
Main causes: leaky engine head gasket, damaged sump gasket, damaged oil drain plug seal, loose or cracked fuel line, leaky carburetor seal
Main causes: damaged tines, broken clevis pins, worn drive belt, faulty transmission, clutch cable problems, improper depth-stake setting
Main causes: clutch cable problems, faulty transmission

Repair guides common to all tillers

These step-by-step repair guides will help you safely fix what’s broken on your tiller.

May 1, 2013
Lyle Weischwill
How to replace a tiller recoil starter

The recoil starter spins the engine when you pull the starter rope, and the rope retracts when released. If the recoil starter assembly is broken, follow the steps in this repair guide to replace it.

Repair difficulty
Time required
 15 minutes or less

Articles and videos common to all tillers

Use the advice and tips in these articles and videos to get the most out of your tiller.

August 30, 2022

How to enjoy all the online benefits we offer on our Sears PartsDirect website

Lyle Weischwill

Learn about all the convenient features on our Sears PartsDirect website that make your parts purchases easier.

December 28, 2018

Find the right carburetor assembly for a Craftsman snowblower, tiller or log splitter

Kim Hillegass

This chart will help you find the right carburetor for your Craftsman snowblower, tiller or log splitter.

November 1, 2015

Tiller common questions

Lyle Weischwill

These frequently asked questions might help you figure out what's wrong with your garden tiller.