WC Wood
Upright Freezer

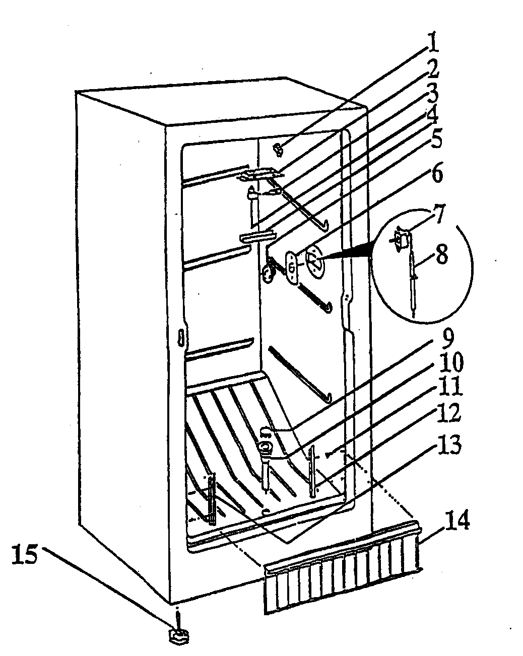
Model #V20NAB Official WC Wood upright freezer

Here are the diagrams and repair parts for WC Wood V20NAB upright freezer, as well as links to manuals and error code tables, if available.

There are a couple of ways to find the part or diagram you need:

  • Click a diagram to see the parts shown on that diagram.
  • In the search box below, enter all or part of the part number or the part’s name.

Not all parts are shown on the diagrams—those parts are labeled NI, for “not illustrated”.

We encourage you to save the model to your profile, so it’s easy to access parts and manuals for your appliance whenever you log in.

For DIY troubleshooting advice and repair guides, visit our repair help section.

Owner’s manualError Codes

Showing 10 of 69 parts

Switch#1

Freezer compartment Diagram

Switch

Part #2-32164-001

The manufacturer no longer makes this part, and there's no substitute part

Key#3D

Door/components Diagram

Key

Part #2-80060-104

The manufacturer no longer makes this part, and there's no substitute part

Screw#11A

Unit compartment/system Diagram

Screw

Part #3-24004-107

The manufacturer no longer makes this part, and there's no substitute part

Vent Plug#1A

Door/components Diagram

Vent plug

Part #3-24898-007

The manufacturer no longer makes this part, and there's no substitute part

Washer

See All Related Diagrams

Washer

Part #1-20152

The manufacturer no longer makes this part, and there's no substitute part

Clamp#15

Unit compartment/system Diagram

Clamp

Part #3-25095-021

The manufacturer no longer makes this part, and there's no substitute part

Hinge Cover#16

Door/components Diagram

Hinge cover

Part #3-80838-003

The manufacturer no longer makes this part, and there's no substitute part

Bolt#1C

Unit compartment/system Diagram

Bolt

Part #2-82082-001

The manufacturer no longer makes this part, and there's no substitute part

Clamp#18

Unit compartment/system Diagram

Clamp

Part #1-80308-101

The manufacturer no longer makes this part, and there's no substitute part

Bushing

See All Related Diagrams

Bushing

Part #3-60199-001

The manufacturer no longer makes this part, and there's no substitute part

Symptoms common to all freestanding freezers

Choose a symptom to see related freezer repairs.

Main causes: burned out light bulb, bad door or lid switch, faulty LED light board, wiring failure, control system failure
Main causes: lack of power, bad compressor, refrigerant leak, bad thermistor, defrost system failure, dirty condenser coils, control failure
Main causes: leaky door or lid gasket, broken defrost heater, bad defrost bi-metal thermostat, defrost control failure, faulty compressor
Main causes: compressor failure, no refrigerant, faulty sensor, control failure, broken defrost heater, bad defrost bi-metal thermostat
Main causes: excessive frost, bad defrost heater, bad defrost bi-metal, control system failure, low refrigerant charge, compressor problems
Main causes: damaged door or lid gasket, cracked cabinet liner, bad defrost bi-metal thermostat, broken defrost heater, bad defrost timer
Main causes: lack of power, control system failure, broken compressor start relay, locked up compressor, compressor motor failure
Main causes: dirty condenser coils, condenser fan failure, dirty bottom front grill, leaky door or lid gasket

Repair guides for upright freezers

February 20, 2015
By Lyle Weischwill
How to replace a freezer control panel

A freezer control panel that doesn’t show the temperature or respond when you press the buttons could be broken. This DIY repair guide and video show how to replace a freezer control panel in less than 15 minutes.

Repair difficulty
Time required
 15 minutes or less
February 20, 2015
By Lyle Weischwill
How to replace a freezer door switch

When the door switch fails, the freezer can’t detect that the door is closed. Follow the steps in this repair guide to replace a defective freezer door switch.

Repair difficulty
Time required
 15 minutes or less
February 20, 2015
By Lyle Weischwill
How to replace a freezer thermistor

When the thermistor can’t sense the freezer temperature, the freezer is colder or warmer than the set temperature. Follow these step-by-step instructions to replace a defective freezer thermistor.

Repair difficulty
Time required
 45 minutes or less

Articles and videos common to all freestanding freezers

Use the advice and tips in these articles and videos to get the most out of your freezer.

August 5, 2022

Introducing new technical repair content that we’re developing for the Sears Technical Institute

By Lyle Weischwill

Learn about Sears Technical Institute and the advanced technical content being developed for aspiring appliance techs.

April 12, 2021

7 tips to prevent freezer burn

By Lyle Weischwill

See how you can save frozen food from freezer burn.

December 15, 2014

5 tips for finding food in the freezer faster

By Lyle Weischwill

Don't get chapped hands digging through the icy depths. Get organized! Here's how.