Amana
Washer

Model #AWM392W2 Official Amana washer

Here are the diagrams and repair parts for Amana AWM392W2 washer, as well as links to manuals and error code tables, if available.

There are a couple of ways to find the part or diagram you need:

  • Click a diagram to see the parts shown on that diagram.
  • In the search box below, enter all or part of the part number or the part’s name.

Not all parts are shown on the diagrams—those parts are labeled NI, for “not illustrated”.

We encourage you to save the model to your profile, so it’s easy to access parts and manuals for your appliance whenever you log in.

For DIY troubleshooting advice and repair guides, visit our repair help section.

Showing 10 of 245 parts

Washer Hose Clamp#3

Drain hose & siphon break Diagram

Hose clamp

Part #36802
Replaced by #WP285655
?
Manufacturer substitution
This part replaces 36802. Substitute parts can look different from the original.
This item is not returnable
In Stock
$6.49 | 
13% OFF 
Phone Price: $7.49
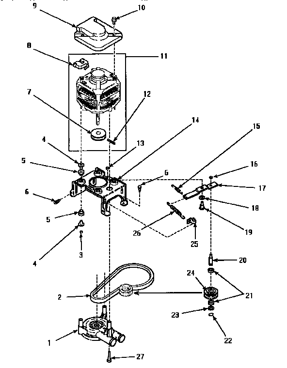
Washer Main Bearing#3

Transmission assy & balance ring Diagram

Bearing

Part #27182
Replaced by #WP40004201P
?
Manufacturer substitution
This part replaces 27182. Substitute parts can look different from the original.
In Stock
$33.17 | 
36% OFF 
MSRP: $52.00
Washer Drain Hose#12

Drain hose & siphon break Diagram

Drain hose

Part #37245
Replaced by #WP40053901
?
Manufacturer substitution
This part replaces 37245. Substitute parts can look different from the original.
In Stock
$38.59 | 
11% OFF 
Phone Price: $43.59
Dryer Motor Bracket Bolt#7

Transmission assy & balance ring Diagram

Cap screw

Part #36991
Replaced by #3400500
?
Manufacturer substitution
This part replaces 36991. Substitute parts can look different from the original.
In Stock
$16.79 | 
11% OFF 
Phone Price: $18.79
Washer Drive Belt#2

Motor, pump & idler assembly Diagram

Washer belt

Part #28808
Replaced by #WP28808
?
Manufacturer substitution
This part replaces 28808. Substitute parts can look different from the original.
This item is not returnable
In Stock
$37.39 | 
12% OFF 
Phone Price: $42.39
Washer Main Bearing#10

Bearing housing & pivot dome Diagram

Bearing

Part #28944R
Replaced by #WP40004001
?
Manufacturer substitution
This part replaces 28944R. Substitute parts can look different from the original.
In Stock
$52.69 | 
9% OFF 
Phone Price: $57.69
Laundry Appliance Retainer Ring#22

Motor, pump & idler assembly Diagram

Retainer ring

Part #23748
Replaced by #WP23748
?
Manufacturer substitution
This part replaces 23748. Substitute parts can look different from the original.
This item is not returnable
In Stock
$8.59 | 
10% OFF 
Phone Price: $9.59
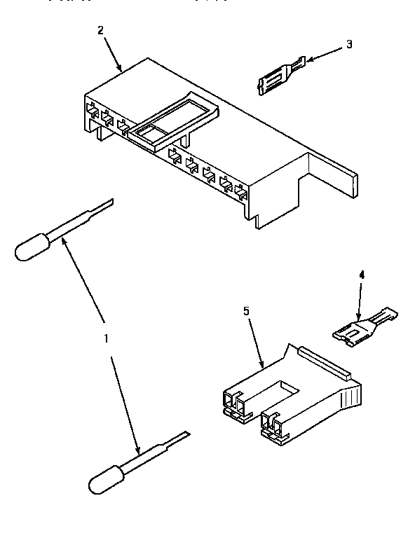
Inlet Gasket#1

Inlet hose & mixing valve mount Diagram

Washer

Part #20290
Replaced by #Y013783
?
Manufacturer substitution
This part replaces 20290. Substitute parts can look different from the original.
This item is not returnable
In Stock
$6.49 | 
13% OFF 
Phone Price: $7.49
Appliance Hose Clamp#6

Inlet hose & mixing valve mount Diagram

Hose clamp

Part #36801
Replaced by #WP596669
?
Manufacturer substitution
This part replaces 36801. Substitute parts can look different from the original.
This item is not returnable
In Stock
$4.37 | 
19% OFF 
Phone Price: $5.37
Washer Water Inlet Valve#6

34963 mixing valve assembly Diagram

Mix valve

Part #34963
Replaced by #WP34963
?
Manufacturer substitution
This part replaces 34963. Substitute parts can look different from the original.
In Stock
$167.79 | 
12% OFF 
MSRP: $190.00

Symptoms common to all washers

Choose a symptom to see related washer repairs.

Main causes: leaky water inlet valve, faulty water-level pressure switch, bad electronic control board
Main causes: lack of electrical power, wiring failure, bad power cord, electronic control board failure, bad user interface board
Main causes: water heater failure, bad water temperature switch, faulty control board, bad water valve, faulty water temperature sensor
Main causes: unbalanced load, loose spanner nut, worn drive block, broken shock absorber or suspension spring, debris in drain pump
Main causes: broken lid switch or lid lock, bad pressure switch, broken shifter assembly, faulty control system
Main causes: clogged drain hose, house drain clogged, bad drain pump, water-level pressure switch failure, bad control board or timer
Main causes: worn agitator dogs, bad clutch, broken motor coupler, shifter assembly failure, broken door lock, suspension component failure
Main causes: no water supply, bad water valves, water-level pressure switch failure, control system failure, bad door lock or lid switch
Main causes: bad lid switch or door lock, bad timer or electronic control board, wiring failure, bad water inlet valve assembly

Articles and videos common to all washers

Use the advice and tips in these articles and videos to get the most out of your washer.

January 3, 2022

Why is my washing machine leaking when not in use?

By Lyle Weischwill

Learn how to fix a washing machine leak

December 30, 2021

How to fix a washing machine

By Lyle Weischwill

Learn how to fix your broken washing machine

April 10, 2020

Cleaning your appliances after a drinking water advisory

By Julie Riebe

Find out how to clean and flush household appliances once a boil water advisory is lifted.