Amana
Trash Compactor

Model #ESMC-1-A/P18011-8TA Official Amana compactor

Here are the diagrams and repair parts for Amana ESMC-1-A-P18011-8TA compactor, as well as links to manuals and error code tables, if available.

There are a couple of ways to find the part or diagram you need:

  • Click a diagram to see the parts shown on that diagram.
  • In the search box below, enter all or part of the part number or the part’s name.

Not all parts are shown on the diagrams—those parts are labeled NI, for “not illustrated”.

We encourage you to save the model to your profile, so it’s easy to access parts and manuals for your appliance whenever you log in.

For DIY troubleshooting advice and repair guides, visit our repair help section.

Showing 10 of 141 parts

Refrigerator Screw#132

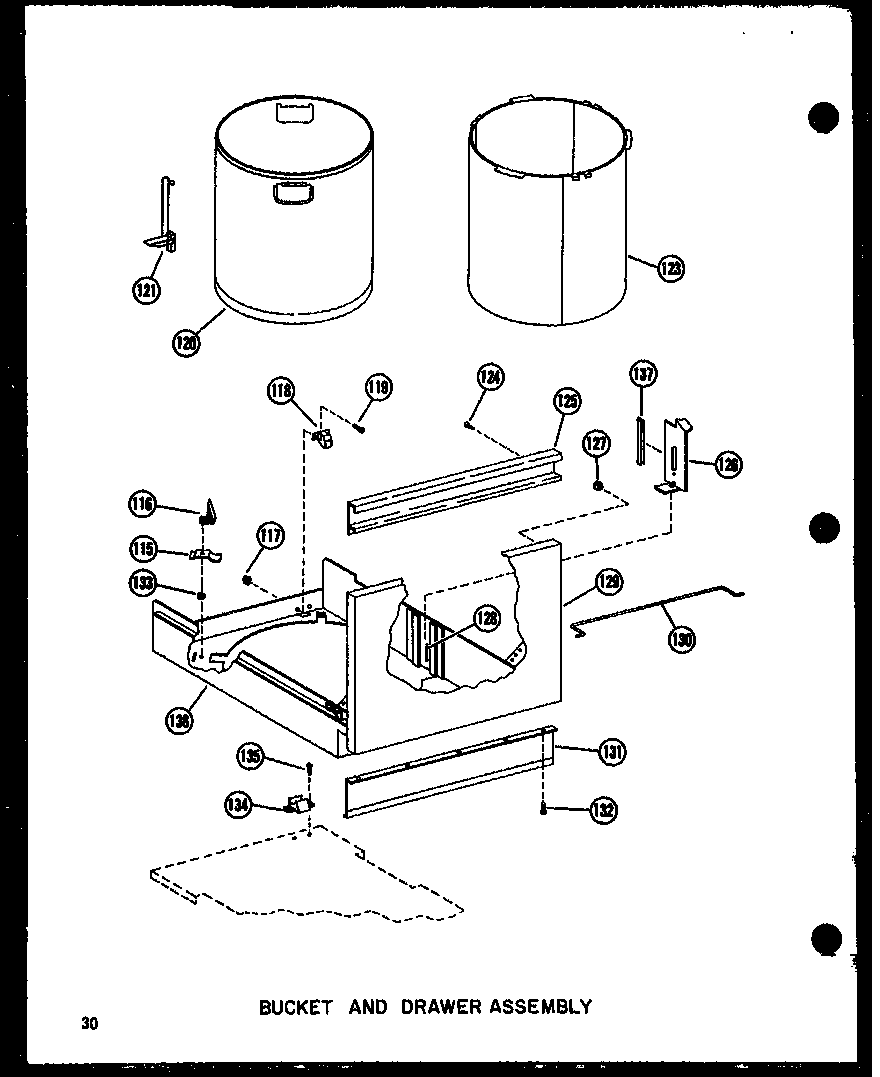
Bucket and drawer assembly Diagram

Screw

Part #M0211531
Replaced by #W11233072
?
Manufacturer substitution
This part replaces M0211531. Substitute parts can look different from the original.
In Stock
$16.79 | 
11% OFF 
Phone Price: $18.79
Refrigerator Screw#4

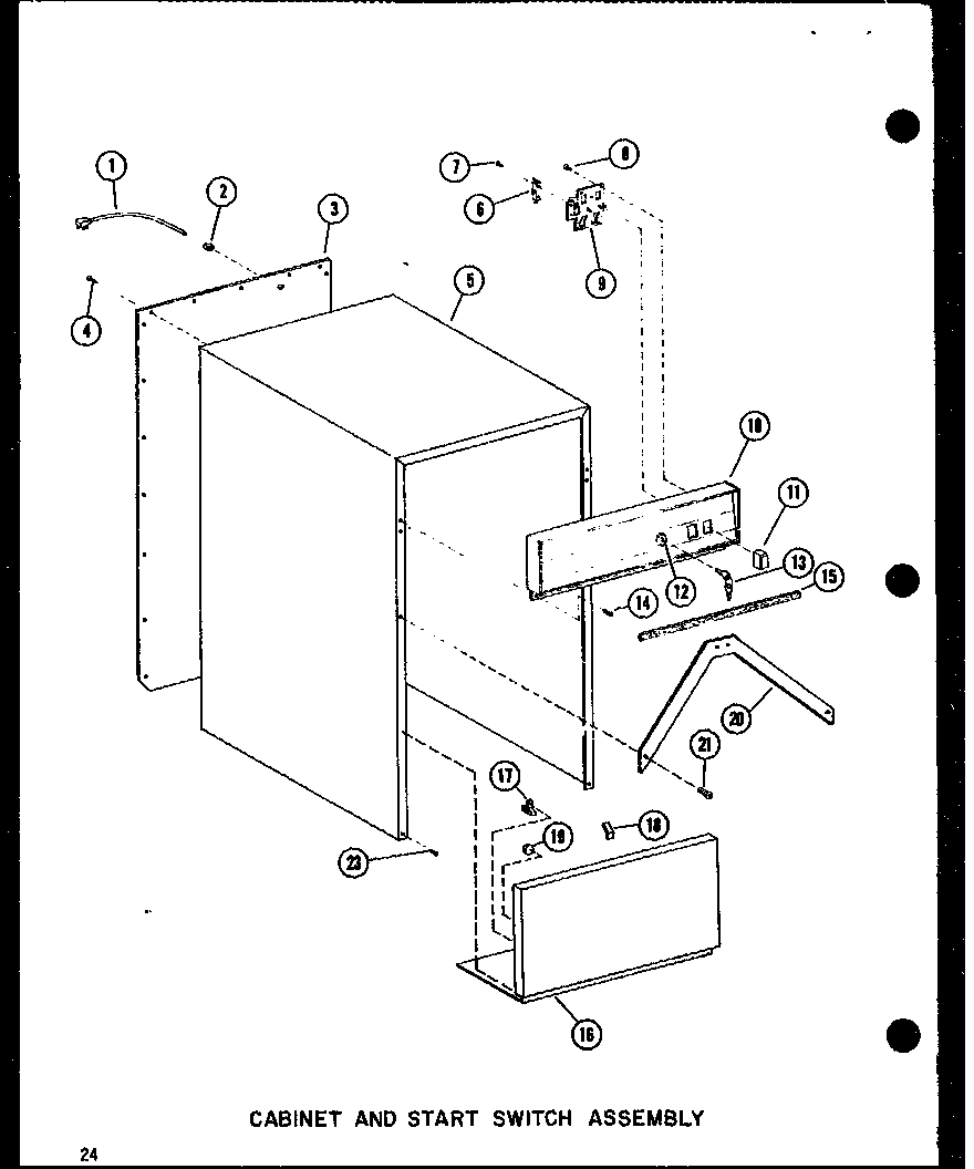
Cabinet and start switch assembly Diagram

Screw

Part #M0211317
Replaced by #WP489464
?
Manufacturer substitution
This part replaces M0211317. Substitute parts can look different from the original.
This item is not returnable
In Stock
$6.49 | 
13% OFF 
Phone Price: $7.49
Refrigerator Nut#117

Bucket and drawer assembly Diagram

Nut

Part #M0282005
Replaced by #M0282005
?
Manufacturer substitution
This part replaces M0282005. Substitute parts can look different from the original.
This item is not returnable
In Stock
$5.99
Appliance Screw, #8-32 x 0.29-in#8

Cabinet and start switch assembly Diagram

Screw

Part #M0234029
Replaced by #WPW10068250
?
Manufacturer substitution
This part replaces M0234029. Substitute parts can look different from the original.
This item is not returnable
In Stock
$5.09 | 
16% OFF 
Phone Price: $6.09
Screw#70

Chassis assembly Diagram

Screw

Part #M0216529

The manufacturer no longer makes this part, and there's no substitute part

MOTOR, 1/3 H.P., 1725 R.P.M. 115V-60 CYCLE#107A

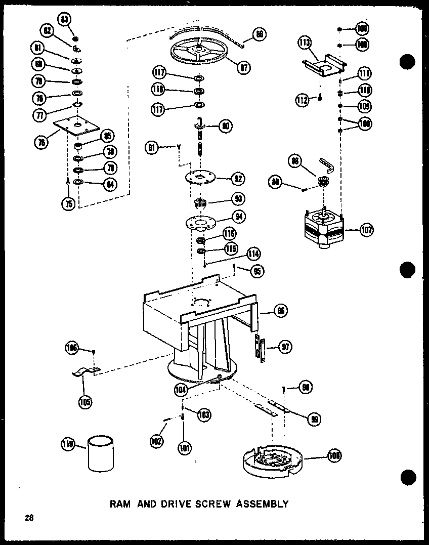
Ram and drive screw assembly Diagram

Motor, 1/3 h.p., 1725 r.p.m. 115v-60 cycle

Part #D1801001

The manufacturer no longer makes this part, and there's no substitute part

OUTER CASE, AUTUMN GOLD#5D

Cabinet and start switch assembly Diagram

Outer case, autumn gold

Part #C1705716

The manufacturer no longer makes this part, and there's no substitute part

LOCATER, TRASH BUCKET#116

Bucket and drawer assembly Diagram

Locater, trash bucket

Part #A1503301

The manufacturer no longer makes this part, and there's no substitute part

BRACE, OUTER CASE#20

Cabinet and start switch assembly Diagram

Brace, outer case

Part #C1709501

The manufacturer no longer makes this part, and there's no substitute part

FRONT, DRAWER, COPPERTONE#129B

Bucket and drawer assembly Diagram

Front, drawer, coppertone

Part #C1703502

The manufacturer no longer makes this part, and there's no substitute part

Symptoms common to all trash compactors

Choose a symptom to see related trash compactor repairs.

Main causes: bent drawer support rollers, damaged trash container
Main causes: stripped or broken power nuts, broken or disconnected drive gear and sprocket chain, damaged drive parts
Main causes: broken drive gear and sprocket chain, stripped power nuts, faulty top limit and directional switch
Main cause: faulty drawer tilt switch
Main causes: stuck foot pedal, bad momentary start switch, power switch failure
Main causes: lack of power, faulty drawer safety switch, bad power switch, momentary start switch failure, bad drive motor, wiring failure

Repair guides common to all trash compactors

These step-by-step repair guides will help you safely fix what’s broken on your trash compactor.

How to replace a trash compactor motor centrifugal switch

If the trash compactor ram won’t return to the top position, replace the motor centrifugal switch by following the instructions in this repair guide.

Repair difficulty
Time required
 45 minutes or less
How to replace a trash compactor momentary start switch

The momentary start switch starts the motor when you lift the foot pedal. This repair guide shows how to replace the switch if it stops working

Repair difficulty
Time required
 15 minutes or less
June 1, 2013
By Lyle Weischwill
How to replace a trash compactor power switch

If the trash compactor won’t power up, use the steps in this repair guide to replace the power switch.

Repair difficulty
Time required
 30 minutes or less

Articles and videos common to all trash compactors

Use the advice and tips in these articles and videos to get the most out of your trash compactor.

August 30, 2022

How to enjoy all the online benefits we offer on our Sears PartsDirect website

By Lyle Weischwill

Learn about all the convenient features on our Sears PartsDirect website that make your parts purchases easier.

August 19, 2022

Are DIY appliance repairs safe?

By Lyle Weischwill

Find out how to stay safe when repairing your appliances.

August 17, 2021

How to read a wiring schematic video

By Lyle Weischwill

Learn how to decipher symbols so you can buy the right part for your problem.