Thermador
Bottom-Mount Refrigerator

Model #KBURT3675E01 Official Thermador refrigerator

Here are the diagrams and repair parts for Thermador KBURT3675E01 refrigerator, as well as links to manuals and error code tables, if available.

There are a couple of ways to find the part or diagram you need:

  • Click a diagram to see the parts shown on that diagram.
  • In the search box below, enter all or part of the part number or the part’s name.

Not all parts are shown on the diagrams—those parts are labeled NI, for “not illustrated”.

We encourage you to save the model to your profile, so it’s easy to access parts and manuals for your appliance whenever you log in.

For DIY troubleshooting advice and repair guides, visit our repair help section.

Error Codes

Showing 10 of 222 parts

Refrigerator Machine Compartment Cover, Rear#903

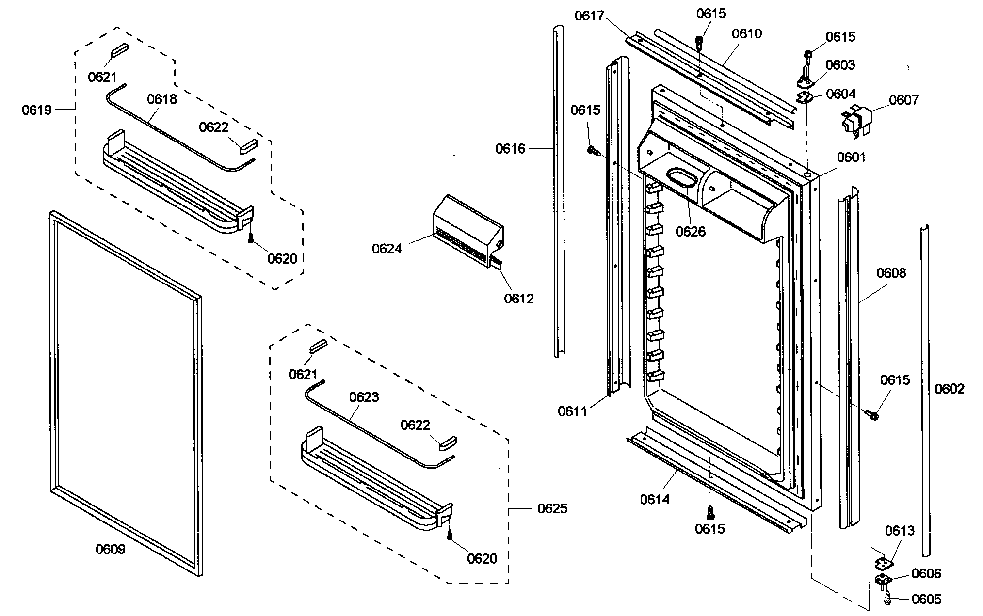
Top grille Diagram

Refrigerator panel

Part #471749
Replaced by #00471749
?
Manufacturer substitution
This part replaces 471749. Substitute parts can look different from the original.
In Stock
$390.61
Refrigerator Nut#704

Freezer door Diagram

Refrigerator nut

Part #422497
Replaced by #00422497
?
Manufacturer substitution
This part replaces 422497. Substitute parts can look different from the original.
In Stock
$17.21
Refrigerator Fan Motor#210

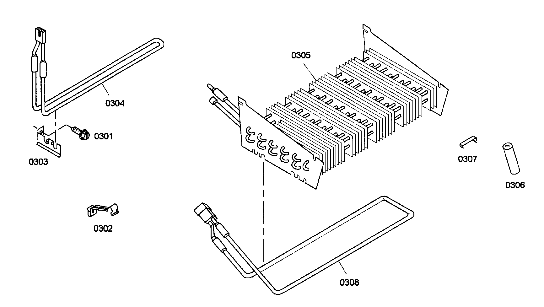
Compressor Diagram

Refrigerator fan motor

Part #498206
Replaced by #00498206
?
Manufacturer substitution
This part replaces 498206. Substitute parts can look different from the original.
In Stock
$354.46
Refrigerator Hinge#112

Cabinet parts Diagram

Refrigerator hinge

Part #422505
Replaced by #00422505
?
Manufacturer substitution
This part replaces 422505. Substitute parts can look different from the original.
In Stock
$129.51
Switch#837

Control asy Diagram

Refrigerator switch

Part #416124
Replaced by #00422513
?
Manufacturer substitution
This part replaces 416124. Substitute parts can look different from the original.
In Stock
$65.58
Refrigerator Bracket#505

Shelfs Diagram

Refrigerator bracket

Part #437627
Replaced by #00437627
?
Manufacturer substitution
This part replaces 437627. Substitute parts can look different from the original.
In Stock
$71.96
Refrigerator Valve#NI

Cabinet parts Diagram

Refrigerator valve

Part #422400
Replaced by #00422400
?
Manufacturer substitution
This part replaces 422400. Substitute parts can look different from the original.
In Stock
$67.98
Refrigerator Cap#803

Control asy Diagram

Refrigerator cap

Part #422470
Replaced by #00422470
?
Manufacturer substitution
This part replaces 422470. Substitute parts can look different from the original.
In Stock
$79.81
Refrigerator Scraper#418

Icemaker Diagram

Refrigerator scraper

Part #487772
Replaced by #00487772
?
Manufacturer substitution
This part replaces 487772. Substitute parts can look different from the original.
In Stock
$62.00
Refrigerator Valve#NI

Cabinet parts Diagram

Refrigerator valve

Part #422407
Replaced by #00422407
?
Manufacturer substitution
This part replaces 422407. Substitute parts can look different from the original.
In Stock
$27.37

Symptoms common to all refrigerators

Choose a symptom to see related refrigerator repairs.

Main causes: leaky door gasket, defrost system failure, evaporator fan not running, dirty condenser coils, condenser fan not running
Things to do: clean condenser coils, replace the water filter, clean the interior, adjust doors to prevent air leaks, clean the drain pan
Main causes: jammed ice cubes, broken ice maker assembly, dirty water filter, kinked water line, bad water valve, freezer not cold enough
Main causes: damaged door seal, faulty defrost sensor or bi-metal thermostat, broken defrost heater, bad defrost timer or control board
Main causes: control board or cold control failure, broken compressor start relay, compressor motor failure, defrost timer problems
Main causes: blocked air vents, compressor problems, condenser or evaporator fan not working, control system failure, sensor problems
Main causes: blocked vents, defrost system problems, evaporator fan failure, dirty condenser coils, bad sensors, condenser fan not working
Main causes: water valve leaking, frozen or broken defrost drain tube, overflowing drain pan, cracked water system tubing, leaking door seal

Repair guides common to all refrigerators

These step-by-step repair guides will help you safely fix what’s broken on your refrigerator.

July 20, 2015
Lyle Weischwill
How to clean refrigerator condenser coils

Help your refrigerator run more efficiently by cleaning the condenser coils. It's easy and takes just a few minutes.

Repair difficulty
Time required
 15 minutes or less
July 20, 2015
Lyle Weischwill
How to replace a refrigerator water valve

Replace the water valve that feeds water to the ice maker and water dispenser if it no longer controls the flow of water.

Repair difficulty
Time required
 15 minutes or less
How to replace a refrigerator temperature control board

If the temperature in your refrigerator doesn't match the temperature you set, the problem could be the temperature control board—a service technician can give you a definite diagnosis. If the board is at fault, follow these steps to replace it yourself.

Repair difficulty
Time required
 30 minutes or less

Articles and videos common to all refrigerators

Use the advice and tips in these articles and videos to get the most out of your refrigerator.

June 2, 2022

How to Remove a GE French Door Refrigerator Flipper Mullion

Lyle Weischwill

Learn how to replace the flipper mullion on a GE French door refrigerator.

April 19, 2022

How to change the water filter in an LG refrigerator

Lyle Weischwill

Get tips and advice on replacing the water filter in your LG refrigerator.

December 30, 2021

How to fix your evaporator cooling fan

Lyle Weischwill

Learn how to fix a broken evaporator fan