WC Wood
Upright Freezer

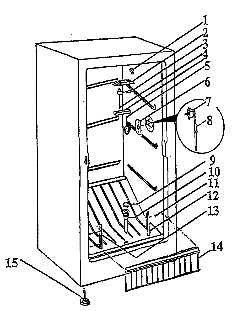
Model #V2003RW3 Official WC Wood upright freezer

Here are the diagrams and repair parts for WC Wood V2003RW3 upright freezer, as well as links to manuals and error code tables, if available.

There are a couple of ways to find the part or diagram you need:

  • Click a diagram to see the parts shown on that diagram.
  • In the search box below, enter all or part of the part number or the part’s name.

Not all parts are shown on the diagrams—those parts are labeled NI, for “not illustrated”.

We encourage you to save the model to your profile, so it’s easy to access parts and manuals for your appliance whenever you log in.

For DIY troubleshooting advice and repair guides, visit our repair help section.

Owner’s manualError Codes

Showing 10 of 55 parts

Light Bulb#3

Freezer compartment Diagram

Light bulb

Part #1-34291-002

The manufacturer no longer makes this part, and there's no substitute part

Gasket Assembly#5

Door/components Diagram

Gasket assembly

Part #0-90000-100

The manufacturer no longer makes this part, and there's no substitute part

Drier#12

Unit compartment/system Diagram

Drier

Part #3-34960-001

The manufacturer no longer makes this part, and there's no substitute part

Capacitor#9

Unit compartment/system Diagram

Capacitor

Part #3-35956-013

The manufacturer no longer makes this part, and there's no substitute part

Screw#17F

Unit compartment/system Diagram

Screw

Part #3-24004-109

The manufacturer no longer makes this part, and there's no substitute part

Hinge Assembly#15

Door/components Diagram

Hinge assembly

Part #0-90008-075

The manufacturer no longer makes this part, and there's no substitute part

Levell Leg#15

Freezer compartment Diagram

Levell leg

Part #0-90028-005

The manufacturer no longer makes this part, and there's no substitute part

Compressor#1

Unit compartment/system Diagram

Compressor

Part #0-90006-119

The manufacturer no longer makes this part, and there's no substitute part

Sleeve#8

Freezer compartment Diagram

Sleeve

Part #1-80639-002

The manufacturer no longer makes this part, and there's no substitute part

Key#3D

Door/components Diagram

Key

Part #2-80060-104

The manufacturer no longer makes this part, and there's no substitute part

Symptoms common to all freestanding freezers

Choose a symptom to see related freezer repairs.

Main causes: burned out light bulb, bad door or lid switch, faulty LED light board, wiring failure, control system failure
Main causes: lack of power, bad compressor, refrigerant leak, bad thermistor, defrost system failure, dirty condenser coils, control failure
Main causes: leaky door or lid gasket, broken defrost heater, bad defrost bi-metal thermostat, defrost control failure, faulty compressor
Main causes: compressor failure, no refrigerant, faulty sensor, control failure, broken defrost heater, bad defrost bi-metal thermostat
Main causes: excessive frost, bad defrost heater, bad defrost bi-metal, control system failure, low refrigerant charge, compressor problems
Main causes: damaged door or lid gasket, cracked cabinet liner, bad defrost bi-metal thermostat, broken defrost heater, bad defrost timer
Main causes: lack of power, control system failure, broken compressor start relay, locked up compressor, compressor motor failure
Main causes: dirty condenser coils, condenser fan failure, dirty bottom front grill, leaky door or lid gasket

Repair guides for upright freezers

February 20, 2015
Lyle Weischwill
How to replace a freezer control panel

A freezer control panel that doesn’t show the temperature or respond when you press the buttons could be broken. This DIY repair guide and video show how to replace a freezer control panel in less than 15 minutes.

Repair difficulty
Time required
 15 minutes or less
February 20, 2015
Lyle Weischwill
How to replace a freezer door switch

When the door switch fails, the freezer can’t detect that the door is closed. Follow the steps in this repair guide to replace a defective freezer door switch.

Repair difficulty
Time required
 15 minutes or less
February 20, 2015
Lyle Weischwill
How to replace a freezer thermistor

When the thermistor can’t sense the freezer temperature, the freezer is colder or warmer than the set temperature. Follow these step-by-step instructions to replace a defective freezer thermistor.

Repair difficulty
Time required
 45 minutes or less

Articles and videos common to all freestanding freezers

Use the advice and tips in these articles and videos to get the most out of your freezer.

August 19, 2022

Are DIY appliance repairs safe?

Lyle Weischwill

Find out how to stay safe when repairing your appliances.

August 17, 2021

How to read a wiring schematic video

Lyle Weischwill

Learn how to decipher symbols so you can buy the right part for your problem.

December 15, 2014

5 tips for finding food in the freezer faster

Kim Hillegass

Don't get chapped hands digging through the icy depths. Get organized! Here's how.