Craftsman
Boating

Model #298585120 Official Craftsman 1.2-hp outboard motor

Here are the diagrams and repair parts for Craftsman 298585120 1.2-hp outboard motor, as well as links to manuals and error code tables, if available.

There are a couple of ways to find the part or diagram you need:

  • Click a diagram to see the parts shown on that diagram.
  • In the search box below, enter all or part of the part number or the part’s name.

Not all parts are shown on the diagrams—those parts are labeled NI, for “not illustrated”.

We encourage you to save the model to your profile, so it’s easy to access parts and manuals for your appliance whenever you log in.

For DIY troubleshooting advice and repair guides, visit our repair help section.

Showing 10 of 173 parts

Washer

See All Related Diagrams

Washer

Part #992-01060-041

The manufacturer no longer makes this part, and there's no substitute part

Washer#31

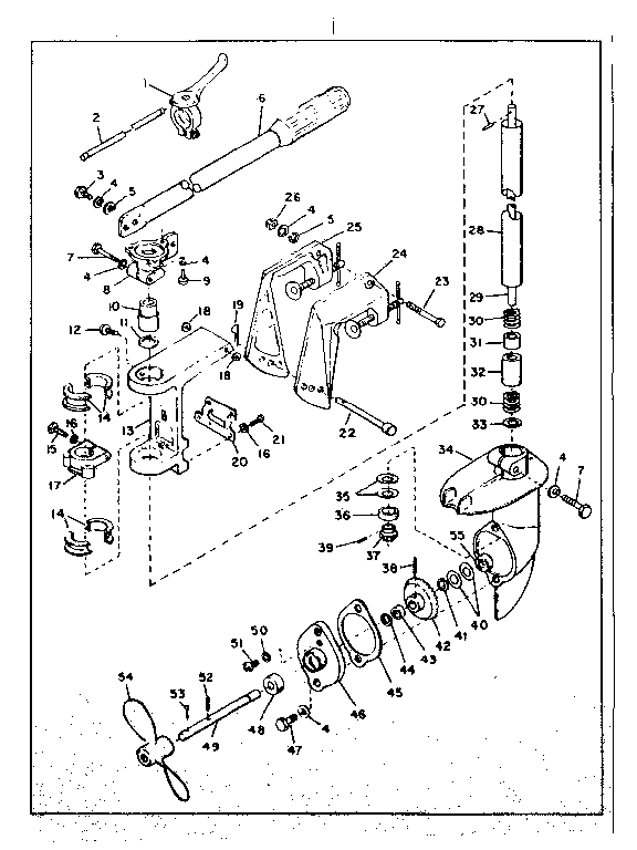
Engine assembly Diagram

Washer

Part #065-00000-200

The manufacturer no longer makes this part, and there's no substitute part

Start Handle#1

Engine assembly Diagram

Handle

Part #785-10207-901
Replaced by #669-3241
?
Manufacturer substitution
This part replaces 785-10207-901. Substitute parts can look different from the original.
This item is not returnable
In Stock
$4.29
Washer,s.,3#26

Engine assembly Diagram

Washer

Part #992-10030-012
Replaced by #669-5210
?
Manufacturer substitution
This part replaces 992-10030-012. Substitute parts can look different from the original.
This item is not returnable
In Stock
$2.28
Lawn & Garden Equipment Screw#8

Engine assembly Diagram

Screw (silver)

Part #990-11040-252
Replaced by #669-4877
?
Manufacturer substitution
This part replaces 990-11040-252. Substitute parts can look different from the original.
This item is not returnable
In Stock
$2.28
Starter Pawl#35

Engine assembly Diagram

Pawl

Part #788-00601-203
Replaced by #669-3297
?
Manufacturer substitution
This part replaces 788-00601-203. Substitute parts can look different from the original.
This item is not returnable
In Stock
$2.28
Screw#6

Power head, carburetor & column assembly Diagram

Screw

Part #990-11060-122

The manufacturer no longer makes this part, and there's no substitute part

Seal#48

Steering, mounting & gear housing assembly Diagram

Seal

Part #999-66092-064
Replaced by #669-5619
?
Manufacturer substitution
This part replaces 999-66092-064. Substitute parts can look different from the original.
This item is not returnable
In Stock
$2.80
Throttle Retainer#43

Power head, carburetor & column assembly Diagram

Seat spring

Part #619-22602-200
Replaced by #669-6143
?
Manufacturer substitution
This part replaces 619-22602-200. Substitute parts can look different from the original.
This item is not returnable
In Stock
$2.22
Washer#25

Engine assembly Diagram

Washer

Part #992-01030-011

The manufacturer no longer makes this part, and there's no substitute part