Kenmore
Central Air Conditioner

Model #10668131 Official Kenmore air conditioner

Here are the diagrams and repair parts for Kenmore 10668131 air conditioner, as well as links to manuals and error code tables, if available.

There are a couple of ways to find the part or diagram you need:

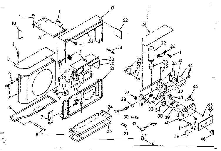
  • Click a diagram to see the parts shown on that diagram.
  • In the search box below, enter all or part of the part number or the part’s name.

Not all parts are shown on the diagrams—those parts are labeled NI, for “not illustrated”.

We encourage you to save the model to your profile, so it’s easy to access parts and manuals for your appliance whenever you log in.

For DIY troubleshooting advice and repair guides, visit our repair help section.

Showing 10 of 196 parts

Appliance Screw

See All Related Diagrams

Screw

Part #488480
Replaced by #WP489069
?
Manufacturer substitution
This part replaces 488480. Substitute parts can look different from the original.
This item is not returnable
In Stock
$4.39 | 
19% OFF 
Phone Price: $5.39
Washer#10

Accessory kit parts Diagram

Washer

Part #486420

The manufacturer no longer makes this part, and there's no substitute part

Nut#8

Unit parts Diagram

Nut

Part #642829

The manufacturer no longer makes this part, and there's no substitute part

Refrigerator Permagum Sealer

#NI

All parts Diagram

Sealer

Part #470168
Replaced by #212643
?
Manufacturer substitution
This part replaces 470168. Substitute parts can look different from the original.
This item is not returnable
In Stock
$50.09 | 
9% OFF 
Phone Price: $55.09
Ring#55

Air flow parts Diagram

Ring

Part #42819

The manufacturer no longer makes this part, and there's no substitute part

Washer#70

Accessory kit parts Diagram

Washer

Part #487405
Replaced by #90315
?
Manufacturer substitution
This part replaces 487405. Substitute parts can look different from the original.
This item is not returnable
In Stock
$3.40
Screw#47

Air flow parts Diagram

Screw

Part #487421

The manufacturer no longer makes this part, and there's no substitute part

Bracket#57

Air flow parts Diagram

Bracket

Part #43449
Replaced by #WP43449
?
Manufacturer substitution
This part replaces 43449. Substitute parts can look different from the original.
This item is not returnable
In Stock
$4.33
Dishwasher Screw#60

Cabinet parts Diagram

Screw

Part #488485
Replaced by #WP965173
?
Manufacturer substitution
This part replaces 488485. Substitute parts can look different from the original.
This item is not returnable
In Stock
$5.85
Screw#27

Unit parts Diagram

Screw

Part #595085

The manufacturer no longer makes this part, and there's no substitute part

Articles and videos common to all central air conditioners

November 30, 2022

2023 HVAC regulation changes and how they may affect you

By Lyle Weischwill

Find out how new DOE standards going into effect in 2023 can affect you and what you need to do.

October 24, 2022

Easy DIY appliance repairs that anyone can do

By Lyle Weischwill

Get advice on simple DIY fixes for appliances that you can safely do on your own.

August 5, 2022

Introducing new technical repair content that we’re developing for the Sears Technical Institute

By Lyle Weischwill

Learn about Sears Technical Institute and the advanced technical content being developed for aspiring appliance techs.