Amana
Dryer

Model #LE8107W2-PLE8107W2 Official Amana electric dryer

Here are the diagrams and repair parts for Amana LE8107W2-PLE8107W2 electric dryer, as well as links to manuals and error code tables, if available.

There are a couple of ways to find the part or diagram you need:

  • Click a diagram to see the parts shown on that diagram.
  • In the search box below, enter all or part of the part number or the part’s name.

Not all parts are shown on the diagrams—those parts are labeled NI, for “not illustrated”.

We encourage you to save the model to your profile, so it’s easy to access parts and manuals for your appliance whenever you log in.

For DIY troubleshooting advice and repair guides, visit our repair help section.

Owner’s manual

Showing 10 of 119 parts

Dryer Drum Belt (replaces 40111201)#5

Motor, exhaust fan and belt Diagram

Belt

Part #59174
Replaced by #WP40111201
?
Manufacturer substitution
This part replaces 59174. Substitute parts can look different from the original.
BEST SELLER
In Stock
$15.11 | 
39% OFF 
MSRP: $24.59
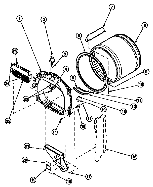
Dryer Drum Glide Bearing (replaces 37001298)#13

Fr blkhd, air duct, felt seal & cylinder Diagram

Glide

Part #501676
Replaced by #WP37001298
?
Manufacturer substitution
This part replaces 501676. Substitute parts can look different from the original.
BEST SELLER
In Stock
$8.69 | 
10% OFF 
Phone Price: $9.69
Dryer Thermal Fuse, 360-degree F (replaces 40113801)#4

Heater box assy originally on elec dryer Diagram

Fuse

Part #62600
Replaced by #WP40113801
?
Manufacturer substitution
This part replaces 62600. Substitute parts can look different from the original.
BEST SELLER
In Stock
$13.79 | 
13% OFF 
Phone Price: $15.79
Dryer Idler Pulley (replaces Y54414)#16

Motor, exhaust fan and belt Diagram

Pulley

Part #54414
Replaced by #WPY54414
?
Manufacturer substitution
This part replaces 54414. Substitute parts can look different from the original.
In Stock
$17.09 | 
10% OFF 
Phone Price: $19.09
Dryer Heating Element (replaces 61195)#7

Heater box assy originally on elec dryer Diagram

Heater kit

Part #61927
Replaced by #61927
?
Manufacturer substitution
This part replaces 61927. Substitute parts can look different from the original.
Back Order
$87.09 | 
5% OFF 
Phone Price: $92.09
Laundry Appliance Retainer Ring

See All Related Diagrams

Retainer ring

Part #23748
Replaced by #WP23748
?
Manufacturer substitution
This part replaces 23748. Substitute parts can look different from the original.
This item is not returnable
In Stock
$8.59 | 
10% OFF 
Phone Price: $9.59
Dryer Idler Pulley Arm#13

Motor, exhaust fan and belt Diagram

Lever

Part #500910
Replaced by #WP37001144
?
Manufacturer substitution
This part replaces 500910. Substitute parts can look different from the original.
This item is not returnable
In Stock
$22.79 | 
18% OFF 
Phone Price: $27.79
Dryer Nut#20

Motor, exhaust fan and belt Diagram

Hex nut

Part #52566
Replaced by #WPW10139757
?
Manufacturer substitution
This part replaces 52566. Substitute parts can look different from the original.
This item is not returnable
In Stock
$4.33
Dryer Door Catch#3

Loading door with drying rack Diagram

Strike

Part #500039
Replaced by #LA-1003
?
Manufacturer substitution
This part replaces 500039. Substitute parts can look different from the original.
This item is not returnable
In Stock
$20.69 | 
19% OFF 
Phone Price: $25.69
STS WIRE TER#10A

Terminals Diagram

Terminal

Part #00165
Replaced by #WP7405P034-60
?
Manufacturer substitution
This part replaces 00165. Substitute parts can look different from the original.
This item is not returnable
In Stock
$2.78

Symptoms common to all dryers

Choose a symptom to see related dryer repairs.

Main causes: bad drum support roller, damaged idler pulley, broken blower fan blade, worn drum glide bearing, bad drive motor
Main causes: bad gas valve coils, broken heating element, tripped safety thermostat or fuse, bad operating thermostat, control failure
Main causes: bad timer or electronic control board, door switch failure
Main causes: lack of electrical power, bad power cord, wiring failure, bad control board, blown thermal fuse, bad door switch
Main causes: clogged exhaust vent, bad motor relay, loose dryer door catch, bad door switch, control system failure, faulty drive motor
Main causes: damaged door strike, worn door catch
Main causes: door switch failure, lack of power, broken belt, blown thermal fuse, bad drive motor, control system failure
Main causes: clogged exhaust system, heating system failure, deposits on moisture sensor, control system failure

Repair guides common to all dryers

These step-by-step repair guides will help you safely fix what’s broken on your dryer.

August 1, 2014
Lyle Weischwill
How to replace a dryer drum support roller

If your dryer thumps or squeals, replace the drum support roller to restore quiet to your home.

Repair difficulty
Time required
 90 minutes or less
August 1, 2014
Lyle Weischwill
How to replace a dryer thermistor

The thermistor senses the air temperature in the dryer. If your dryer overheats or doesn't heat at all, the thermistor could be the problem.

Repair difficulty
Time required
 30 minutes or less
August 1, 2014
Lyle Weischwill
How to replace a dryer idler pulley

The idler pulley exerts pressure keeps the drive belt tight so it can rotate the drum. A worn idler pulley squeals or squeaks when the dryer is running. Follow these instructions to replace it.

Repair difficulty
Time required
 90 minutes or less

Articles and videos common to all dryers

Use the advice and tips in these articles and videos to get the most out of your dryer.

October 24, 2022

Easy DIY appliance repairs that anyone can do

Lyle Weischwill

Get advice on simple DIY fixes for appliances that you can safely do on your own.

January 4, 2022

How to replace a Maytag dryer heating element

Lyle Weischwill

Learn how to replace a Maytag dryer heating element

August 17, 2021

How to read a wiring schematic video

Lyle Weischwill

Learn how to decipher symbols so you can buy the right part for your problem.