GE
Dryer

Model #GFDN245GL1BB Official GE gas dryer

Here are the diagrams and repair parts for GE GFDN245GL1BB gas dryer, as well as links to manuals and error code tables, if available.

There are a couple of ways to find the part or diagram you need:

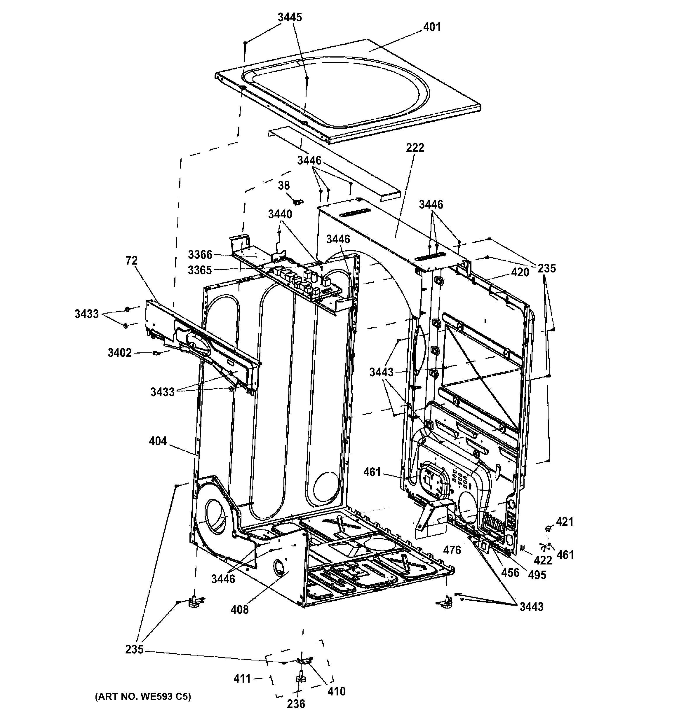
  • Click a diagram to see the parts shown on that diagram.
  • In the search box below, enter all or part of the part number or the part’s name.

Not all parts are shown on the diagrams—those parts are labeled NI, for “not illustrated”.

We encourage you to save the model to your profile, so it’s easy to access parts and manuals for your appliance whenever you log in.

For DIY troubleshooting advice and repair guides, visit our repair help section.

Installation guideOwner’s manual

Showing 10 of 129 parts

Dryer Drum Belt#213

Blower & motor Diagram

Dryer drum belt

Part #WE12M29
BEST SELLER
In Stock
$32.59 | 
13% OFF 
Phone Price: $37.59
Dryer LP Conversion Kit (replaces WB25X0217, WE25M32, WE25X0217, WE25X10029, WE25X190, WE25X214, WE25X216)#9999

Gas valve & burner assembly Diagram

In Stock
$37.55 | 
12% OFF 
Phone Price: $42.55
Dryer Rear Bearing#3106

Drum Diagram

Dryer rear bearing

Part #WE1M462
BEST SELLER
In Stock
$18.29 | 
10% OFF 
Phone Price: $20.29
Dryer Rear Bearing O-Ring#3127

Drum Diagram

Dryer rear bearing o-ring

Part #WE1M461
BEST SELLER
This item is not returnable
In Stock
$7.49 | 
12% OFF 
Phone Price: $8.49
Dryer Natural Gas Conversion Kit (replaces WE25X0218, WE25X204)#9999

Gas valve & burner assembly Diagram

Dryer natural gas conversion kit

Part #WE25X0218
Replaced by #WE25X218
?
Manufacturer substitution
This part replaces WE25X0218. Substitute parts can look different from the original.
In Stock
$23.79 | 
17% OFF 
Phone Price: $28.79
Dryer Door Switch (replaces WE04M0415, WE4M335)#380

Front panel Diagram

In Stock
$19.88 | 
10% OFF 
Was: $22.09
Dryer Idler Pulley (replaces WE12X0083, WE12X80, WE12X92)#216

Blower & motor Diagram

Idler pulley

Part #WE12M8
Replaced by #WE12X83
?
Manufacturer substitution
This part replaces WE12M8. Substitute parts can look different from the original.
In Stock
$26.45 | 
16% OFF 
Phone Price: $31.45
Dryer Door Strike (replaces WE01X1192)#3049

Front panel Diagram

Door strike

Part #WE01X1192
Replaced by #WE1X1192
?
Manufacturer substitution
This part replaces WE01X1192. Substitute parts can look different from the original.
This item is not returnable
In Stock
$7.69 | 
12% OFF 
Phone Price: $8.69
Dryer Radiant Sensor (replaces WE04X0448)#552

Drum Diagram

In Stock
$46.19 | 
10% OFF 
Phone Price: $51.19
Dryer Leveling Leg (replaces WE01M0642, WE2X355)#236

Cabinet & top panel Diagram

Dryer leveling leg (replaces we01m0642, we2x355)

Part #WE1M642
This item is not returnable
In Stock
$7.69 | 
12% OFF 
Phone Price: $8.69

Symptoms common to all dryers

Choose a symptom to see related dryer repairs.

Main causes: bad drum support roller, damaged idler pulley, broken blower fan blade, worn drum glide bearing, bad drive motor
Main causes: bad gas valve coils, broken heating element, tripped safety thermostat or fuse, bad operating thermostat, control failure
Main causes: bad timer or electronic control board, door switch failure
Main causes: lack of electrical power, bad power cord, wiring failure, bad control board, blown thermal fuse, bad door switch
Main causes: clogged exhaust vent, bad motor relay, loose dryer door catch, bad door switch, control system failure, faulty drive motor
Main causes: damaged door strike, worn door catch
Main causes: door switch failure, lack of power, broken belt, blown thermal fuse, bad drive motor, control system failure
Main causes: clogged exhaust system, heating system failure, deposits on moisture sensor, control system failure

Repair guides common to all dryers

These step-by-step repair guides will help you safely fix what’s broken on your dryer.

August 1, 2014
Lyle Weischwill
How to replace a dryer drum support roller

If your dryer thumps or squeals, replace the drum support roller to restore quiet to your home.

Repair difficulty
Time required
 90 minutes or less
August 1, 2014
Lyle Weischwill
How to replace a dryer thermistor

The thermistor senses the air temperature in the dryer. If your dryer overheats or doesn't heat at all, the thermistor could be the problem.

Repair difficulty
Time required
 30 minutes or less
August 1, 2014
Lyle Weischwill
How to replace a dryer idler pulley

The idler pulley exerts pressure keeps the drive belt tight so it can rotate the drum. A worn idler pulley squeals or squeaks when the dryer is running. Follow these instructions to replace it.

Repair difficulty
Time required
 90 minutes or less

Articles and videos common to all dryers

Use the advice and tips in these articles and videos to get the most out of your dryer.

October 24, 2022

Easy DIY appliance repairs that anyone can do

Lyle Weischwill

Get advice on simple DIY fixes for appliances that you can safely do on your own.

January 4, 2022

How to replace a Maytag dryer heating element

Lyle Weischwill

Learn how to replace a Maytag dryer heating element

August 17, 2021

How to read a wiring schematic video

Lyle Weischwill

Learn how to decipher symbols so you can buy the right part for your problem.