Panasonic
Countertop Microwave

Model #NN-S586WA Official Panasonic microwave

Here are the diagrams and repair parts for Panasonic NN-S586WA microwave, as well as links to manuals and error code tables, if available.

There are a couple of ways to find the part or diagram you need:

  • Click a diagram to see the parts shown on that diagram.
  • In the search box below, enter all or part of the part number or the part’s name.

Not all parts are shown on the diagrams—those parts are labeled NI, for “not illustrated”.

We encourage you to save the model to your profile, so it’s easy to access parts and manuals for your appliance whenever you log in.

For DIY troubleshooting advice and repair guides, visit our repair help section.

Showing 10 of 151 parts

Microwave Micro-Switch#29

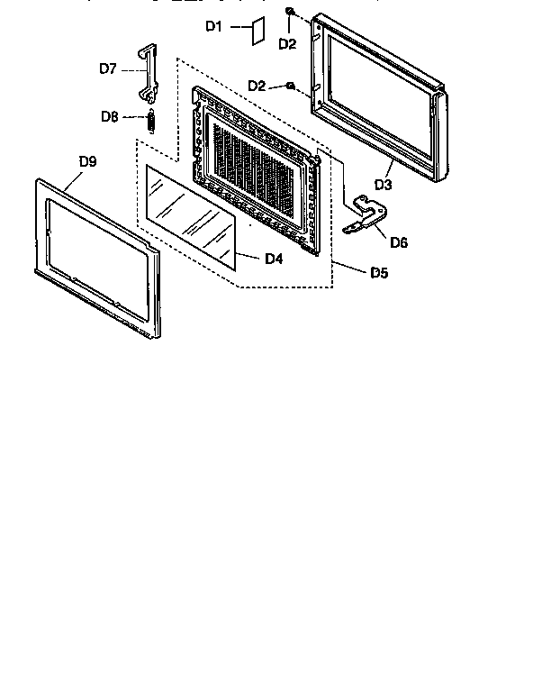
Microwave parts Diagram

Switch

Part #J6142-1450
Replaced by #3B73362F
?
Manufacturer substitution
This part replaces J6142-1450. Substitute parts can look different from the original.
BEST SELLER
This item is not returnable
In Stock
$5.27 | 
16% OFF 
Phone Price: $6.27
Connector

#NI

All parts Diagram

Connector

Part #AEEMMF00703W
This item is not returnable
In Stock
$2.99
Oven Lamp So#33

Microwave parts Diagram

Oven lamp so

Part #B61524740AQ
This item is not returnable
In Stock
$4.57
Cable

#NI

All parts Diagram

Cable

Part #AT40P005
In Stock
$10.49
Capacitor#39

Microwave parts Diagram

Capacitor

Part #B63907050AP
In Stock
$58.78
Connector

#NI

All parts Diagram

Connector

Part #AEEMMF01505W
This item is not returnable
In Stock
$4.99
Zr Diode

#NI

All parts Diagram

Zr diode

Part #ERZC10DK471F
This item is not returnable
In Stock
$5.26
Microwave Nameplate#E1

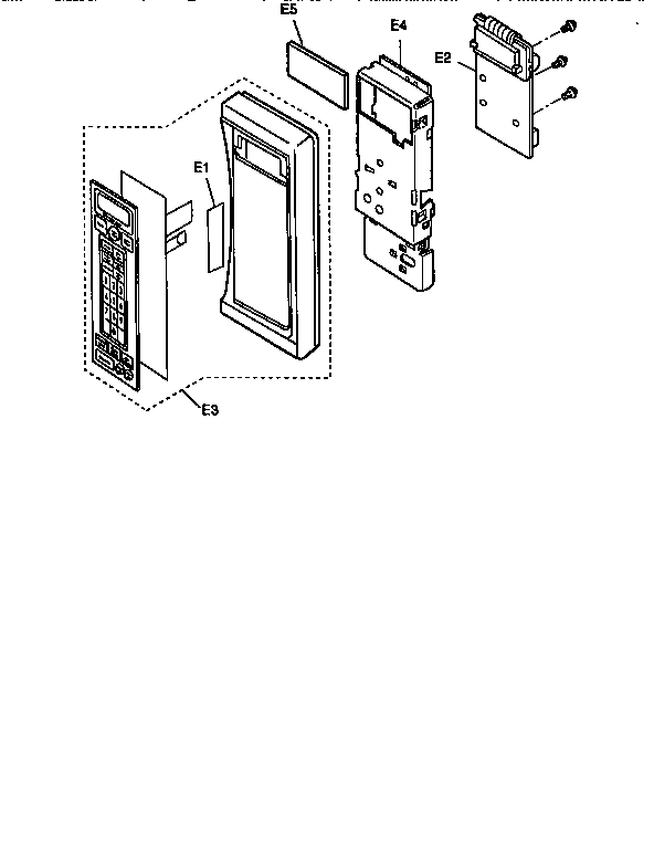
Control panel Diagram

Microwave nameplate

Part #B00078640AP
This item is not returnable
In Stock
$2.99
Spacer#21

Microwave parts Diagram

Spacer

Part #B3138-1480
This item is not returnable
In Stock
$2.49
Wire

#NI

All parts Diagram

Wire

Part #B03537050AP
In Stock
$13.49

Articles and videos common to all microwaves

November 12, 2022

5 Holiday Cleaning Tasks Essential to Boosting Your Home’s Image

Lyle Weischwill

Get tips on completing essential holiday cleaning tasks to brighten your home.

August 19, 2022

Are DIY appliance repairs safe?

Lyle Weischwill

Find out how to stay safe when repairing your appliances.

August 5, 2022

Introducing new technical repair content that we’re developing for the Sears Technical Institute

Lyle Weischwill

Learn about Sears Technical Institute and the advanced technical content being developed for aspiring appliance techs.