Amana
Air Conditioner

Model #RCC42A2B/P1218506C Official Amana air conditioner

Here are the diagrams and repair parts for Amana RCC42A2B-P1218506C air conditioner, as well as links to manuals and error code tables, if available.

There are a couple of ways to find the part or diagram you need:

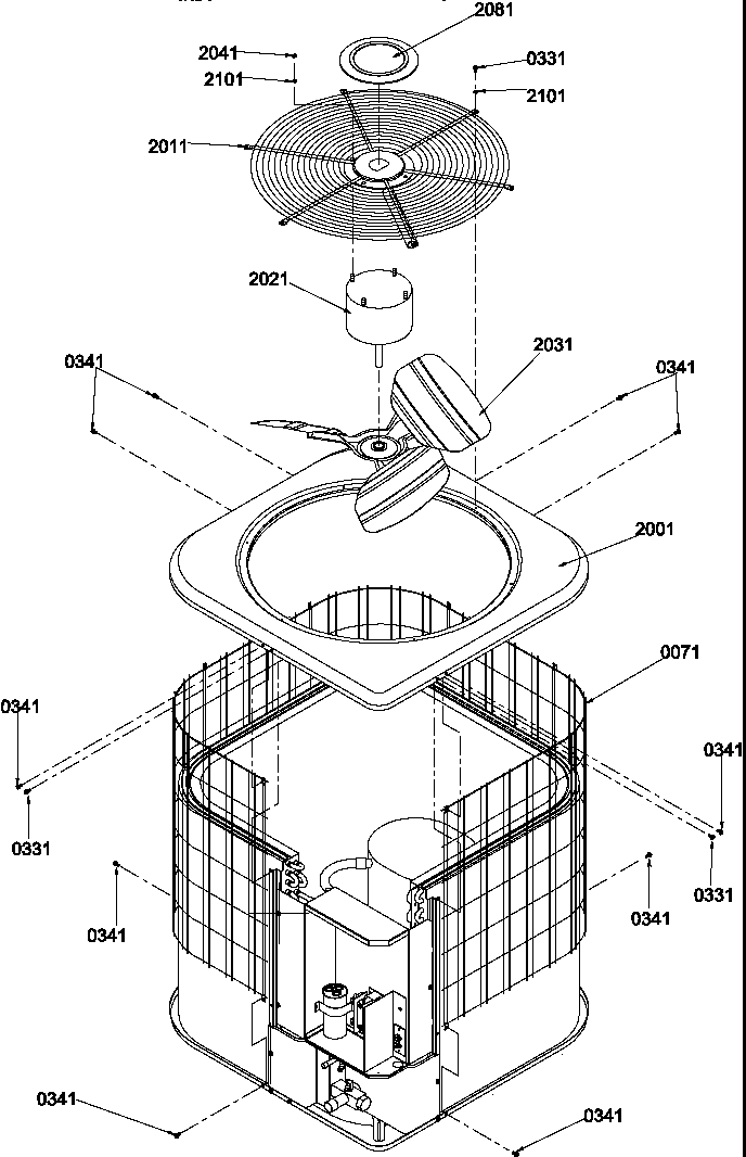
  • Click a diagram to see the parts shown on that diagram.
  • In the search box below, enter all or part of the part number or the part’s name.

Not all parts are shown on the diagrams—those parts are labeled NI, for “not illustrated”.

We encourage you to save the model to your profile, so it’s easy to access parts and manuals for your appliance whenever you log in.

For DIY troubleshooting advice and repair guides, visit our repair help section.

Showing 10 of 173 parts

Central Air Conditioner Contactor#101

Control box Diagram

Contactor

Part #C6170004
Replaced by #CONT2P030024V5
?
Manufacturer substitution
This part replaces C6170004. Substitute parts can look different from the original.
In Stock
$59.69 | 
8% OFF 
Phone Price: $64.69
Condenser Fan#2031

Cabinet/top Diagram

Condenser fan

Part #10625707
In Stock
$102.77
Screw#251

Control box Diagram

Screw

Part #M0216529

The manufacturer no longer makes this part, and there's no substitute part

Central Air Conditioner Dual-Motor Run Capacitor#91

Control box Diagram

Capacitor

Part #D6789047
Replaced by #CAP050800440RTP
?
Manufacturer substitution
This part replaces D6789047. Substitute parts can look different from the original.
In Stock
$36.63
TUBE-SUCTION#25

Control cover/compressor/tubing Diagram

Tube-suction

Part #11071602

The manufacturer no longer makes this part, and there's no substitute part

CUTOUT-HIGH PRESS#53

Tubing Diagram

Cutout-high press

Part #C6453406

The manufacturer no longer makes this part, and there's no substitute part

Grommet#61

Control box Diagram

Grommet

Part #A4603801

The manufacturer no longer makes this part, and there's no substitute part

CAPACITOR-50/5 MFD, 370V#91

Control box Diagram

Capacitor-50/5 mfd, 370v

Part #D6789043

The manufacturer no longer makes this part, and there's no substitute part

RETAINER CLIP-CRANKCASE HEATER

#NI

All parts Diagram

Retainer clip-crankcase heater

Part #10482601

The manufacturer no longer makes this part, and there's no substitute part

CONTROL BOX-1 PIECE#11

Control box Diagram

Control box-1 piece

Part #11174705

The manufacturer no longer makes this part, and there's no substitute part