Whirlpool
Bottom-Mount Refrigerator

Model #WRF736SDAW11 Official Whirlpool refrigerator

Here are the diagrams and repair parts for Whirlpool WRF736SDAW11 refrigerator, as well as links to manuals and error code tables, if available.

There are a couple of ways to find the part or diagram you need:

  • Click a diagram to see the parts shown on that diagram.
  • In the search box below, enter all or part of the part number or the part’s name.

Not all parts are shown on the diagrams—those parts are labeled NI, for “not illustrated”.

We encourage you to save the model to your profile, so it’s easy to access parts and manuals for your appliance whenever you log in.

For DIY troubleshooting advice and repair guides, visit our repair help section.

Showing 10 of 293 parts

Refrigerator Carbon Air Filter (replaces 2319308, W10315189, W10335147)#12

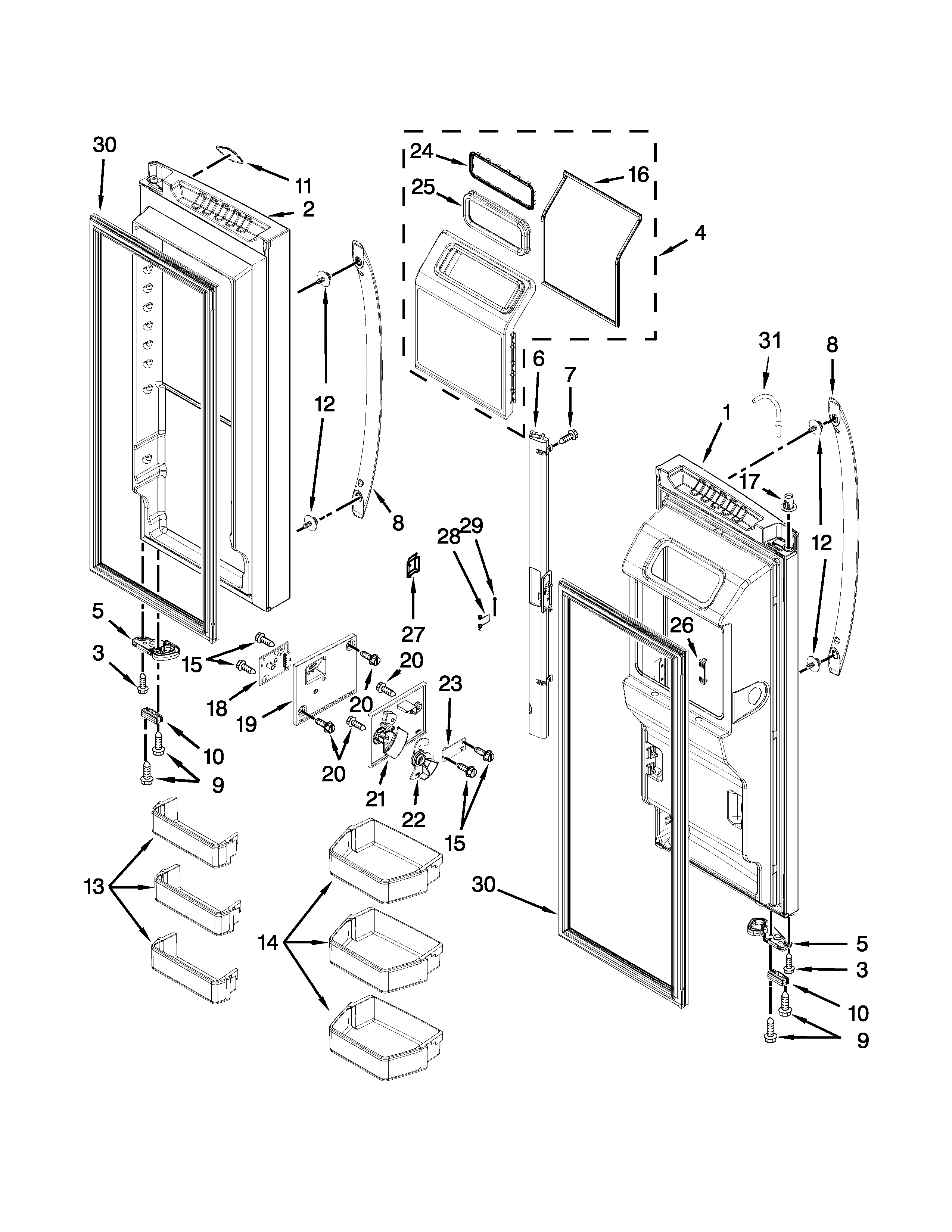
Refrigerator liner parts Diagram

Refrigerator air filter

Part #W10315189
Replaced by #W10311524
?
Manufacturer substitution
This part replaces W10315189. Substitute parts can look different from the original.
BEST SELLER

Get free shipping with Automatic Reorder

In Stock
$18.59
Whirlpool EveryDrop 2 Refrigerator Water Filter (replaces W10413645A)#11

Refrigerator liner parts Diagram

Refrigerator cartridge wrap assembly

Part #W10609378
Replaced by #EDR2RXD1
?
Manufacturer substitution
This part replaces W10609378. Substitute parts can look different from the original.
BEST SELLER

Get free shipping with Automatic Reorder

In Stock
$59.99
Refrigerator Door Switch (replaces W11234536, W11428639, WP1118894, WPC3680310)

See All Related Diagrams

Refrigerator switch

Part #C3680310V
Replaced by #W11384469
?
Manufacturer substitution
This part replaces C3680310V. Substitute parts can look different from the original.
BEST SELLER
In Stock
$21.01 | 
19% OFF 
Phone Price: $26.01
Refrigerator FreshFlow Produce Preserver Refill, 2-pack (replaces W10346771)#20

Shelf parts Diagram

Refrigerator preserver

Part #W10346771
Replaced by #W10346771A
?
Manufacturer substitution
This part replaces W10346771. Substitute parts can look different from the original.
BEST SELLER

Get free shipping with Automatic Reorder

In Stock
$23.49 | 
18% OFF 
Phone Price: $28.49
Refrigerator Door Handle Mounting Screw

See All Related Diagrams

Screw

Part #W10460893
Replaced by #WPW10661886
?
Manufacturer substitution
This part replaces W10460893. Substitute parts can look different from the original.
BEST SELLER
In Stock
$8.56 | 
10% OFF 
Phone Price: $9.56
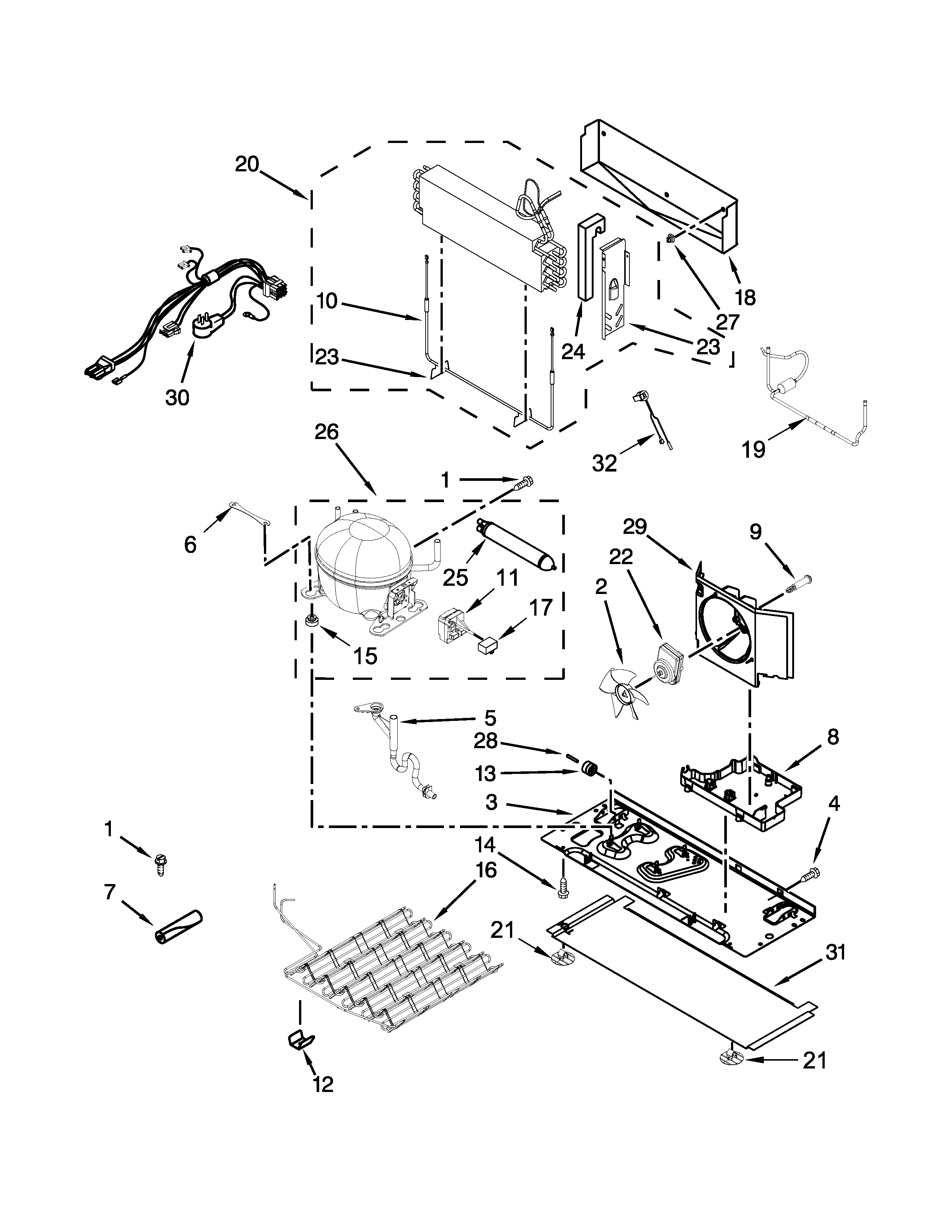
Refrigerator Compressor Start Relay#11

Unit parts Diagram

Refrigerator start relay

Part #W10197428
Replaced by #WPW10197428
?
Manufacturer substitution
This part replaces W10197428. Substitute parts can look different from the original.
BEST SELLER
In Stock
$63.43 | 
10% OFF 
Was: $70.48
Appliance Spray Paint (White) (replaces 094566-64, 206923, 2780-0001, 4395978, 5303203125, 66208, 788343, 799343, 799433, 99343, A0050702, F94566-010, Y057937, Y350930)#NI

Optional parts (not included) Diagram

Spray paint (white)

Part #350930
Replaced by #350930
?
Manufacturer substitution
This part replaces 350930. Substitute parts can look different from the original.
BEST SELLER
This item is not returnable
In Stock
$15.69 | 
11% OFF 
Phone Price: $17.69
Refrigerator Ice Container#8

Motor and ice container parts Diagram

Refrigerator ice container

Part #W10347093
Replaced by #WPW10347093
?
Manufacturer substitution
This part replaces W10347093. Substitute parts can look different from the original.
BEST SELLER
In Stock
$180.00 | 
18% OFF 
MSRP: $220.00
Refrigerator Temperature Sensor Kit (replaces 12791409SP, 12791411, 12791417, 12791417SP, 12791419SP, W10280385, W10280386, W10308052, W10438639, W10438761, W10452402)#19

Freezer liner parts Diagram

Refrigerator thermistor

Part #W10280385
Replaced by #W10316760
?
Manufacturer substitution
This part replaces W10280385. Substitute parts can look different from the original.
BEST SELLER
In Stock
$42.53 | 
20% OFF 
MSRP: $53.00
Refrigerator Run Capacitor#17

Unit parts Diagram

Refrigerator run capacitor

Part #W10350564
Replaced by #WPW10350564
?
Manufacturer substitution
This part replaces W10350564. Substitute parts can look different from the original.
BEST SELLER
In Stock
$53.20 | 
10% OFF 
Was: $59.09

Symptoms common to all refrigerators

Choose a symptom to see related refrigerator repairs.

Main causes: leaky door gasket, defrost system failure, evaporator fan not running, dirty condenser coils, condenser fan not running
Things to do: clean condenser coils, replace the water filter, clean the interior, adjust doors to prevent air leaks, clean the drain pan
Main causes: jammed ice cubes, broken ice maker assembly, dirty water filter, kinked water line, bad water valve, freezer not cold enough
Main causes: damaged door seal, faulty defrost sensor or bi-metal thermostat, broken defrost heater, bad defrost timer or control board
Main causes: control board or cold control failure, broken compressor start relay, compressor motor failure, defrost timer problems
Main causes: blocked air vents, compressor problems, condenser or evaporator fan not working, control system failure, sensor problems
Main causes: blocked vents, defrost system problems, evaporator fan failure, dirty condenser coils, bad sensors, condenser fan not working
Main causes: water valve leaking, frozen or broken defrost drain tube, overflowing drain pan, cracked water system tubing, leaking door seal

Repair guides common to all refrigerators

These step-by-step repair guides will help you safely fix what’s broken on your refrigerator.

July 20, 2015
By Lyle Weischwill
How to clean refrigerator condenser coils

Help your refrigerator run more efficiently by cleaning the condenser coils. It's easy and takes just a few minutes.

Repair difficulty
Time required
 15 minutes or less
July 20, 2015
By Lyle Weischwill
How to replace a refrigerator water valve

Replace the water valve that feeds water to the ice maker and water dispenser if it no longer controls the flow of water.

Repair difficulty
Time required
 15 minutes or less
How to replace a refrigerator temperature control board

If the temperature in your refrigerator doesn't match the temperature you set, the problem could be the temperature control board—a service technician can give you a definite diagnosis. If the board is at fault, follow these steps to replace it yourself.

Repair difficulty
Time required
 30 minutes or less

Articles and videos common to all refrigerators

Use the advice and tips in these articles and videos to get the most out of your refrigerator.

June 2, 2022

How to Remove a GE French Door Refrigerator Flipper Mullion

By Lyle Weischwill

Learn how to replace the flipper mullion on a GE French door refrigerator.

April 19, 2022

How to change the water filter in an LG refrigerator

By Lyle Weischwill

Get tips and advice on replacing the water filter in your LG refrigerator.

December 30, 2021

How to fix your evaporator cooling fan

By Lyle Weischwill

Learn how to fix a broken evaporator fan