GE
Washer

Model #WSKP2060W1WH Official GE washer

Here are the diagrams and repair parts for GE WSKP2060W1WH washer, as well as links to manuals and error code tables, if available.

There are a couple of ways to find the part or diagram you need:

  • Click a diagram to see the parts shown on that diagram.
  • In the search box below, enter all or part of the part number or the part’s name.

Not all parts are shown on the diagrams—those parts are labeled NI, for “not illustrated”.

We encourage you to save the model to your profile, so it’s easy to access parts and manuals for your appliance whenever you log in.

For DIY troubleshooting advice and repair guides, visit our repair help section.

Showing 10 of 103 parts

Washer Hose Clamp Kit

See All Related Diagrams

Univ clamp

Part #WH01X2036
Replaced by #WH1X2036
?
Manufacturer substitution
This part replaces WH01X2036. Substitute parts can look different from the original.
In Stock
$11.39 | 
15% OFF 
Phone Price: $13.39
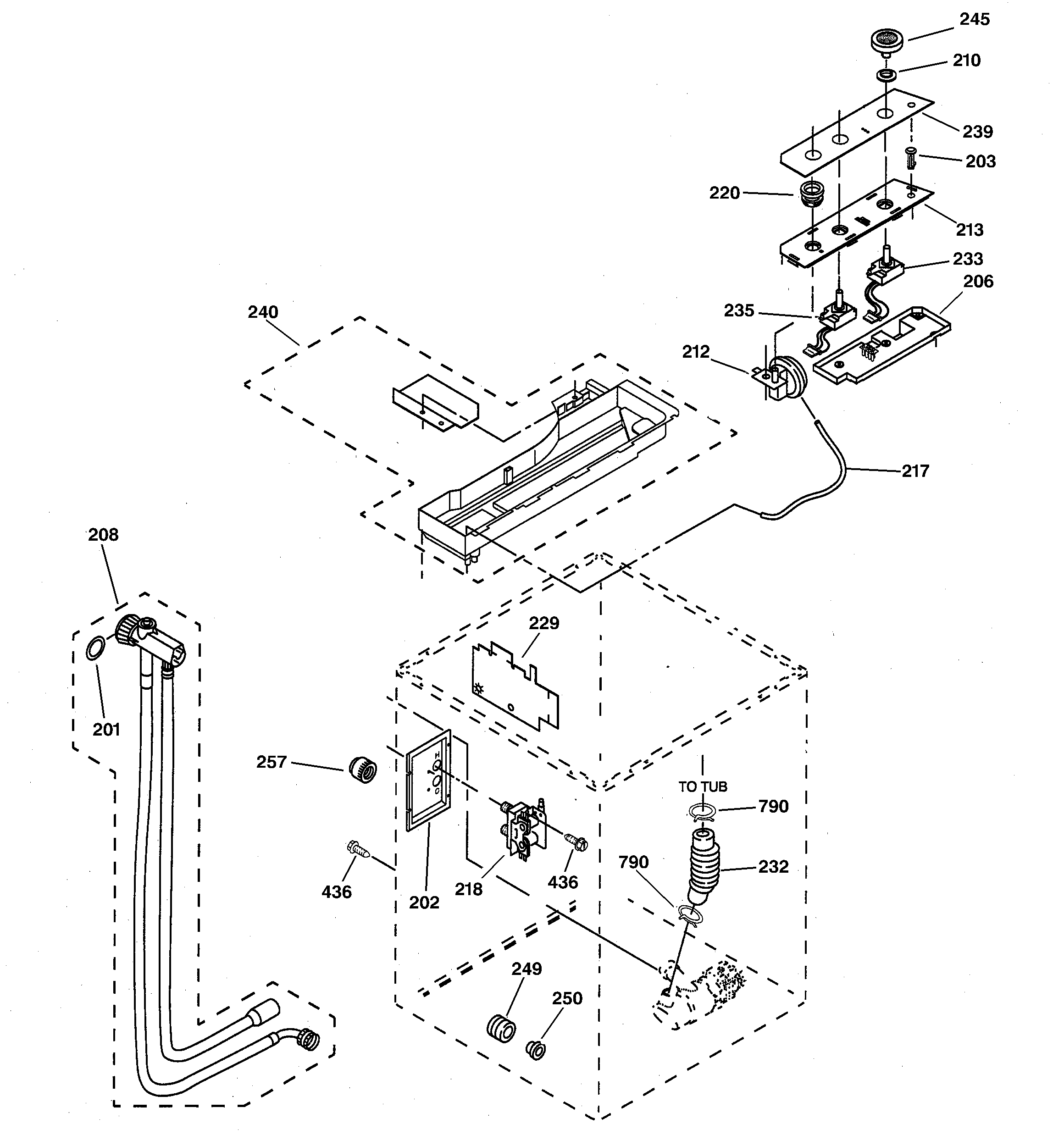
Water Switch#212

Controls & rear panel parts Diagram

Water switch

Part #WH12X10038
In Stock
$82.03
Installation#1

Top & cabinet parts Diagram

Installation

Part #31-2805
In Stock
$8.49
Uc Wsks  Wsk#1

Top & cabinet parts Diagram

Uc wsks wsk

Part #49-9887
Replaced by #49-9988
?
Manufacturer substitution
This part replaces 49-9887. Substitute parts can look different from the original.
In Stock
$8.49
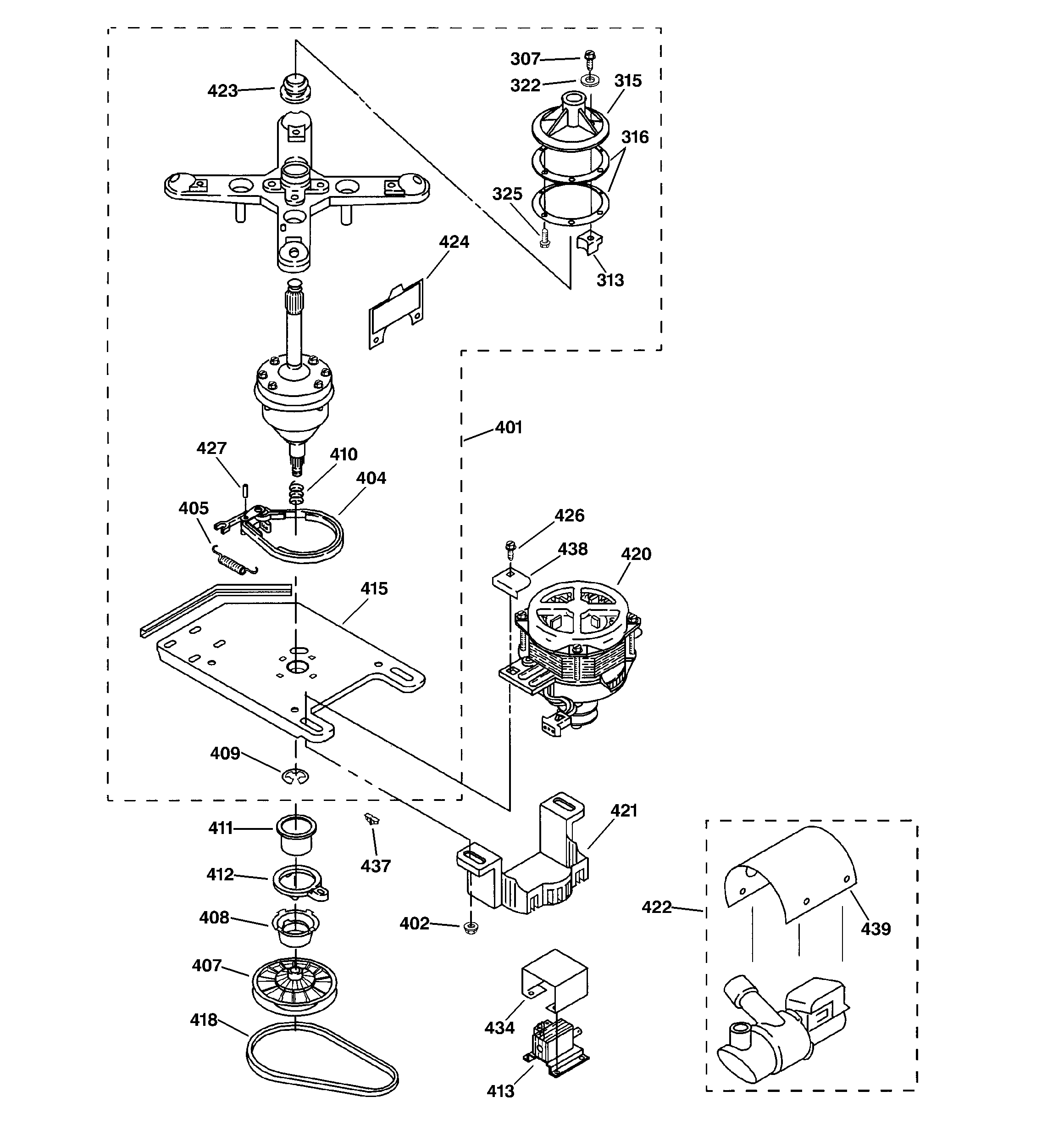
Washer Drain Pump Assembly#422

Brake, clutch, gearcase, motor & pu Diagram

Pump

Part #WH23X10010
Replaced by #WH23X10022
?
Manufacturer substitution
This part replaces WH23X10010. Substitute parts can look different from the original.
In Stock
$198.29 | 
5% OFF 
Phone Price: $208.29
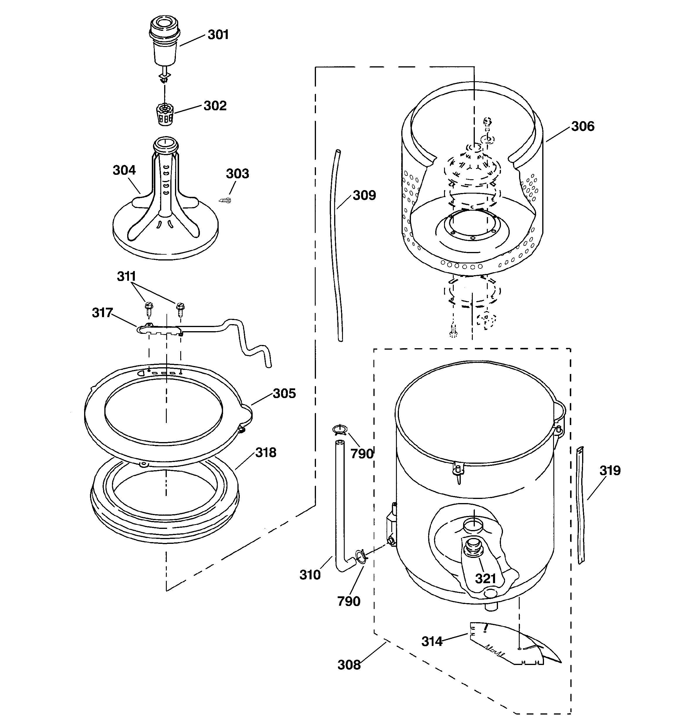
Pressure Hose#309

Agitator, basket & tub parts Diagram

Pressure swt

Part #WH41X0389
Replaced by #WH41X349
?
Manufacturer substitution
This part replaces WH41X0389. Substitute parts can look different from the original.
In Stock
$71.79 | 
7% OFF 
Phone Price: $76.79
Washer Lid Strike (replaces WH01X2672, WH1X2793)#111

Top & cabinet parts Diagram

Strike lid

Part #WH01X2793
Replaced by #WH1X2672
?
Manufacturer substitution
This part replaces WH01X2793. Substitute parts can look different from the original.
In Stock
$26.19 | 
16% OFF 
Phone Price: $31.19
Ring Balan#318

Agitator, basket & tub parts Diagram

Balance ring

Part #WH45X0168
Replaced by #WH45X168
?
Manufacturer substitution
This part replaces WH45X0168. Substitute parts can look different from the original.
In Stock
$70.49
Block Sadd#313

Brake, clutch, gearcase, motor & pu Diagram

Block saddle

Part #WH01X2798
Replaced by #WH1X2798
?
Manufacturer substitution
This part replaces WH01X2798. Substitute parts can look different from the original.
In Stock
$28.49
Basket#306

Agitator, basket & tub parts Diagram

Basket

Part #WH45X0166
Replaced by #WH45X166
?
Manufacturer substitution
This part replaces WH45X0166. Substitute parts can look different from the original.
In Stock
$291.49

Symptoms common to all washers

Choose a symptom to see related washer repairs.

Main causes: leaky water inlet valve, faulty water-level pressure switch, bad electronic control board
Main causes: lack of electrical power, wiring failure, bad power cord, electronic control board failure, bad user interface board
Main causes: water heater failure, bad water temperature switch, faulty control board, bad water valve, faulty water temperature sensor
Main causes: unbalanced load, loose spanner nut, worn drive block, broken shock absorber or suspension spring, debris in drain pump
Main causes: broken lid switch or lid lock, bad pressure switch, broken shifter assembly, faulty control system
Main causes: clogged drain hose, house drain clogged, bad drain pump, water-level pressure switch failure, bad control board or timer
Main causes: worn agitator dogs, bad clutch, broken motor coupler, shifter assembly failure, broken door lock, suspension component failure
Main causes: no water supply, bad water valves, water-level pressure switch failure, control system failure, bad door lock or lid switch
Main causes: bad lid switch or door lock, bad timer or electronic control board, wiring failure, bad water inlet valve assembly

Articles and videos common to all washers

Use the advice and tips in these articles and videos to get the most out of your washer.

January 3, 2022

Why is my washing machine leaking when not in use?

Lyle Weischwill

Learn how to fix a washing machine leak

December 30, 2021

How to fix a washing machine

Lyle Weischwill

Learn how to fix your broken washing machine

April 10, 2020

Cleaning your appliances after a drinking water advisory

Wayne Archer

Find out how to clean and flush household appliances once a boil water advisory is lifted.