GE
Electric Cooktop

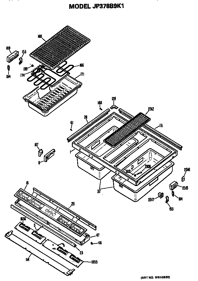
Model #JP378B9K1 Official GE built-in cooktop

Here are the diagrams and repair parts for GE JP378B9K1 built-in cooktop, as well as links to manuals and error code tables, if available.

There are a couple of ways to find the part or diagram you need:

  • Click a diagram to see the parts shown on that diagram.
  • In the search box below, enter all or part of the part number or the part’s name.

Not all parts are shown on the diagrams—those parts are labeled NI, for “not illustrated”.

We encourage you to save the model to your profile, so it’s easy to access parts and manuals for your appliance whenever you log in.

For DIY troubleshooting advice and repair guides, visit our repair help section.

Error Codes

Showing 10 of 107 parts

Terminal Housing

#33

All parts Diagram

Terminal housing

Part #WB17X5096
In Stock
$175.39 | 
5% OFF 
Phone Price: $185.39
Screw

#NI

All parts Diagram

Screw

Part #WB1X5471
This item is not returnable
In Stock
$2.16
Screw

#459

All parts Diagram

Screw

Part #WB1X537
This item is not returnable
In Stock
$5.00
Range Washer, 12-pack

#312

All parts Diagram

Washer

Part #WB1X119
Replaced by #WB1X119D
?
Manufacturer substitution
This part replaces WB1X119. Substitute parts can look different from the original.
This item is not returnable
In Stock
$22.29 | 
18% OFF 
Phone Price: $27.29
Appliance Screw, #8-18 x 1/4-in, 12-pack

#769

All parts Diagram

Screw

Part #WB1X500
Replaced by #WB1X500D
?
Manufacturer substitution
This part replaces WB1X500. Substitute parts can look different from the original.
This item is not returnable
In Stock
$8.29 | 
11% OFF 
Phone Price: $9.29
Use and Care Guide

#LITR

All parts Diagram

Use and care guide

Part #49-4831
Replaced by #49-4999
?
Manufacturer substitution
This part replaces 49-4831. Substitute parts can look different from the original.
In Stock
$8.49
Range Screw

#148

All parts Diagram

Screw

Part #WB1X5763
Replaced by #WB1X536
?
Manufacturer substitution
This part replaces WB1X5763. Substitute parts can look different from the original.
In Stock
$7.69 | 
12% OFF 
Phone Price: $8.69
Sleeve

#51

All parts Diagram

Sleeve

Part #WB2X1409

The manufacturer no longer makes this part, and there's no substitute part

Tub Tube

#37

All parts Diagram

Tub tube

Part #WB49X5422

The manufacturer no longer makes this part, and there's no substitute part

Screw

#1244

All parts Diagram

Screw

Part #WB1X5764

The manufacturer no longer makes this part, and there's no substitute part

Symptoms common to all cooktops

Choose a symptom to see related cooktop repairs.

Main causes: lack of electrical power, gas supply failure, bad pressure regulator, control system failure

Repair guides for electric cooktops

How to replace a coil surface element on an electric cooktop

Easily replace a coil surface element in 15 minutes or less by following these step-by-step instructions.

Repair difficulty
Time required
 15 minutes or less
November 20, 2014
By Lyle Weischwill
How to replace the glass top on an electric cooktop

Don't use a cracked or damage glass cooktop—replace it, using these instructions to guide you.

Repair difficulty
Time required
 30 minutes or less
How to replace a radiant element on an electric cooktop

Follow these step-by-step instructions to replace a damaged radiant element on your electric cooktop when the element won’t heat when it receives voltage from the control.

Repair difficulty
Time required
 45 minutes or less

Articles and videos common to all cooktops

Use the advice and tips in these articles and videos to get the most out of your cooktop.

November 12, 2022

5 Holiday Cleaning Tasks Essential to Boosting Your Home’s Image

By Lyle Weischwill

Get tips on completing essential holiday cleaning tasks to brighten your home.

August 19, 2022

Are DIY appliance repairs safe?

By Lyle Weischwill

Find out how to stay safe when repairing your appliances.

July 9, 2021

How to clean stainless steel appliances video

By Lyle Weischwill

Learn how to keep the stainless-steel appliances in your home clean and shining bright.