Kenmore
Tools & Attachment

Model #11654212403 Official Kenmore powermate attachment

Here are the diagrams and repair parts for Kenmore 11654212403 powermate attachment, as well as links to manuals and error code tables, if available.

There are a couple of ways to find the part or diagram you need:

  • Click a diagram to see the parts shown on that diagram.
  • In the search box below, enter all or part of the part number or the part’s name.

Not all parts are shown on the diagrams—those parts are labeled NI, for “not illustrated”.

We encourage you to save the model to your profile, so it’s easy to access parts and manuals for your appliance whenever you log in.

For DIY troubleshooting advice and repair guides, visit our repair help section.

Owner’s manual

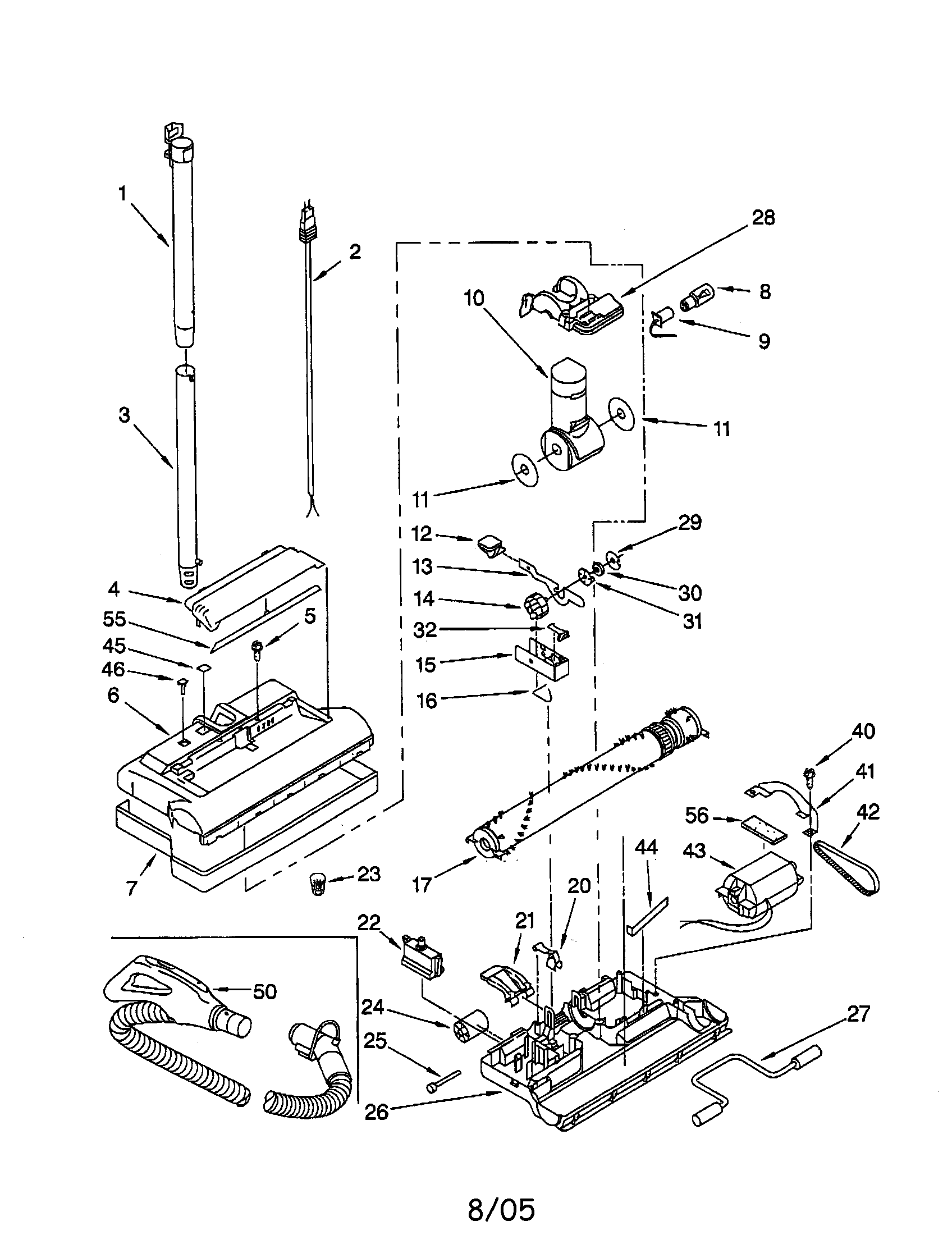
Showing 10 of 43 parts

Vacuum Beater Bar Belt#42

Power-mate assembly Diagram

Belt

Part #742024
Replaced by #KS742024
?
Manufacturer substitution
This part replaces 742024. Substitute parts can look different from the original.
BEST SELLER
This item is not returnable
In Stock
$5.49 | 
15% OFF 
Phone Price: $6.49
Vacuum Light Bulb#8

Power-mate assembly Diagram

Bulb

Part #4370018
Replaced by #5240
?
Manufacturer substitution
This part replaces 4370018. Substitute parts can look different from the original.
BEST SELLER
This item is not returnable
Back Order
$7.29 | 
12% OFF 
Phone Price: $8.29
Vacuum PowerMate Swivel Seal#11

Power-mate assembly Diagram

Swivel seal (white)

Part #742019
Replaced by #KS742019
?
Manufacturer substitution
This part replaces 742019. Substitute parts can look different from the original.
This item is not returnable
In Stock
$7.69 | 
12% OFF 
Phone Price: $8.69
Vacuum Axle Lifter#20

Power-mate assembly Diagram

Vacuum axle lifter

Part #4370726
Replaced by #4370726
?
Manufacturer substitution
This part replaces 4370726. Substitute parts can look different from the original.
This item is not returnable
Back Order
$14.39 | 
12% OFF 
Phone Price: $16.39
Vacuum Handle Release Pedal#21

Power-mate assembly Diagram

Vacuum handle release pedal

Part #KC47AGJ3V06
Replaced by #KC47AGJ3V06
?
Manufacturer substitution
This part replaces KC47AGJ3V06. Substitute parts can look different from the original.
This item is not returnable
Back Order
$4.79 | 
17% OFF 
Phone Price: $5.79
INDICATORCAM#31

Power-mate assembly Diagram

Catch

Part #722955
Replaced by #KS588543
?
Manufacturer substitution
This part replaces 722955. Substitute parts can look different from the original.
In Stock
$9.00
INDICATORCAM#14

Power-mate assembly Diagram

Indicator cam

Part #747291
Replaced by #KS588543
?
Manufacturer substitution
This part replaces 747291. Substitute parts can look different from the original.
In Stock
$9.00
Vacuum Twist-On Wire Connector#23

Power-mate assembly Diagram

Wire connector (tan)

Part #4154460
Replaced by #KS4154460
?
Manufacturer substitution
This part replaces 4154460. Substitute parts can look different from the original.
This item is not returnable
In Stock
$2.49
Vacuum PowerMate Front Axle#27

Power-mate assembly Diagram

Axle (silver)

Part #744029
Replaced by #KS744029
?
Manufacturer substitution
This part replaces 744029. Substitute parts can look different from the original.
This item is not returnable
Back Order
$7.79 | 
11% OFF 
Phone Price: $8.79
Vacuum PowerMate Swivel#10

Power-mate assembly Diagram

Swivel (gray)

Part #4155049
Replaced by #KS4155049
?
Manufacturer substitution
This part replaces 4155049. Substitute parts can look different from the original.
This item is not returnable
In Stock
$16.19 | 
11% OFF 
Phone Price: $18.19