Kenmore
Central Vacuum

Model #1164052291 Official Kenmore vacuum cleaner

Here are the diagrams and repair parts for Kenmore 1164052291 vacuum cleaner, as well as links to manuals and error code tables, if available.

There are a couple of ways to find the part or diagram you need:

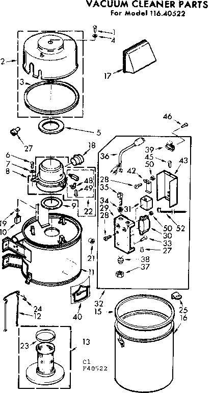
  • Click a diagram to see the parts shown on that diagram.
  • In the search box below, enter all or part of the part number or the part’s name.

Not all parts are shown on the diagrams—those parts are labeled NI, for “not illustrated”.

We encourage you to save the model to your profile, so it’s easy to access parts and manuals for your appliance whenever you log in.

For DIY troubleshooting advice and repair guides, visit our repair help section.

Showing 10 of 112 parts

Vacuum Floor Brush#11

Attachment parts Diagram

Brush

Part #722791
Replaced by #5268
?
Manufacturer substitution
This part replaces 722791. Substitute parts can look different from the original.
BEST SELLER
In Stock
$16.19 | 
11% OFF 
Phone Price: $18.19
Vacuum Upholstery Nozzle#7

Attachment parts Diagram

Upholstery nozzle

Part #722381
Replaced by #52651
?
Manufacturer substitution
This part replaces 722381. Substitute parts can look different from the original.
BEST SELLER
This item is not returnable
In Stock
$17.99 | 
10% OFF 
Phone Price: $19.99
Screw#28

Attachment parts Diagram

Screw

Part #595294

The manufacturer no longer makes this part, and there's no substitute part

Screw#33

Unit parts Diagram

Screw

Part #681275

The manufacturer no longer makes this part, and there's no substitute part

Dishwasher Screw#49

Unit parts Diagram

Screw

Part #569358
Replaced by #303776
?
Manufacturer substitution
This part replaces 569358. Substitute parts can look different from the original.
In Stock
$8.59 | 
10% OFF 
Phone Price: $9.59
Nut#50

Unit parts Diagram

Nut

Part #680697

The manufacturer no longer makes this part, and there's no substitute part

Screw#6

Unit parts Diagram

Screw

Part #680213

The manufacturer no longer makes this part, and there's no substitute part

Nut#37

Attachment parts Diagram

Nut

Part #680219

The manufacturer no longer makes this part, and there's no substitute part

Machine Screw#39

Attachment parts Diagram

Machine screw

Part #680778

The manufacturer no longer makes this part, and there's no substitute part

Screw#46

Unit parts Diagram

Screw

Part #681151

The manufacturer no longer makes this part, and there's no substitute part

Symptoms common to all vacuum cleaners

Choose a symptom to see related vacuum cleaner repairs.

Main causes: damaged vacuum hose, clogged motor air filter, bad suction motor
Main causes: broken drive belt, damaged brush roll, tripped brush roll motor overload, bad brush roll motor, wiring failure
Main causes: lack of power, bad power cord, drive motor failure, wiring failure
Main causes: weak suction motor, vacuum bag is full, clog in suction air path, dirty exhaust filter, leaky vacuum hose

Articles and videos common to all vacuum cleaners

Use the advice and tips in these articles and videos to get the most out of your vacuum.

January 5, 2015

10 must-have tools for appliance repair

By Lyle Weischwill

Come see which tools made our top 10 must-haves for DIY appliance repair.

December 18, 2014

Deciding between a canister or upright vacuum

By Lyle Weischwill

Undecided about canister or upright? We compare them.

July 1, 2013

Vacuum common questions

By Lyle Weischwill

Find the answers to frequently asked questions about vacuum cleaners.