Kenmore
Upright Vacuum

Model #1753440181 Official Kenmore upright vacuum cleaner

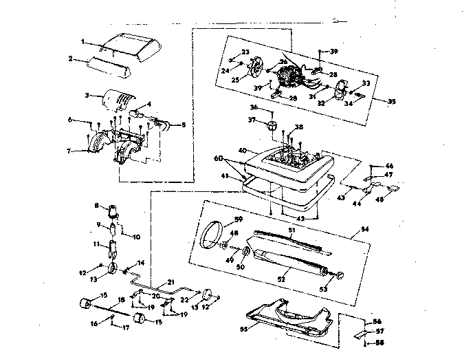
Here are the diagrams and repair parts for Kenmore 1753440181 upright vacuum cleaner, as well as links to manuals and error code tables, if available.

There are a couple of ways to find the part or diagram you need:

  • Click a diagram to see the parts shown on that diagram.
  • In the search box below, enter all or part of the part number or the part’s name.

Not all parts are shown on the diagrams—those parts are labeled NI, for “not illustrated”.

We encourage you to save the model to your profile, so it’s easy to access parts and manuals for your appliance whenever you log in.

For DIY troubleshooting advice and repair guides, visit our repair help section.

Showing 10 of 79 parts

Washer#49

Figure "b" Diagram

Washer

Part #706382-321

The manufacturer no longer makes this part, and there's no substitute part

Washer#22

Figure "b" Diagram

Washer

Part #706239-313

The manufacturer no longer makes this part, and there's no substitute part

Latch#57

Figure "b" Diagram

Latch

Part #660081-001

The manufacturer no longer makes this part, and there's no substitute part

Retainer Plate#16

Figure "b" Diagram

Retainer plate

Part #643015-000

The manufacturer no longer makes this part, and there's no substitute part

Switch Plate#15

Figure "a" Diagram

Switch plate

Part #644880-007

The manufacturer no longer makes this part, and there's no substitute part

Mounting Screw#36

Figure "b" Diagram

Mounting screw

Part #643146-001

The manufacturer no longer makes this part, and there's no substitute part

Axle#21

Figure "b" Diagram

Axle

Part #643740-001

The manufacturer no longer makes this part, and there's no substitute part

Shouldr Wash#31

Figure "b" Diagram

Shouldr wash

Part #643044-001

The manufacturer no longer makes this part, and there's no substitute part

Dust Bag#26

Figure "a" Diagram

Dust bag

Part #641073-071

The manufacturer no longer makes this part, and there's no substitute part

Cover#3

Figure "b" Diagram

Cover

Part #644774-001

The manufacturer no longer makes this part, and there's no substitute part

Symptoms common to all vacuum cleaners

Choose a symptom to see related vacuum cleaner repairs.

Main causes: damaged vacuum hose, clogged motor air filter, bad suction motor
Main causes: broken drive belt, damaged brush roll, tripped brush roll motor overload, bad brush roll motor, wiring failure
Main causes: lack of power, bad power cord, drive motor failure, wiring failure
Main causes: weak suction motor, vacuum bag is full, clog in suction air path, dirty exhaust filter, leaky vacuum hose

Articles and videos common to all vacuum cleaners

Use the advice and tips in these articles and videos to get the most out of your vacuum.

January 5, 2015

10 must-have tools for appliance repair

By Lyle Weischwill

Come see which tools made our top 10 must-haves for DIY appliance repair.

December 18, 2014

Deciding between a canister or upright vacuum

By Lyle Weischwill

Undecided about canister or upright? We compare them.

July 1, 2013

Vacuum common questions

By Lyle Weischwill

Find the answers to frequently asked questions about vacuum cleaners.