Carrier
Central Air Conditioner

Model #38TKB048 SERIES300 Official Carrier condensing unit

Here are the diagrams and repair parts for Carrier 38TKB048-SERIES300 condensing unit, as well as links to manuals and error code tables, if available.

There are a couple of ways to find the part or diagram you need:

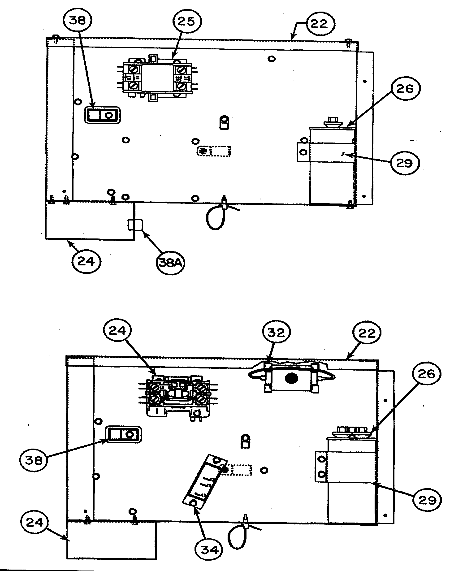
  • Click a diagram to see the parts shown on that diagram.
  • In the search box below, enter all or part of the part number or the part’s name.

Not all parts are shown on the diagrams—those parts are labeled NI, for “not illustrated”.

We encourage you to save the model to your profile, so it’s easy to access parts and manuals for your appliance whenever you log in.

For DIY troubleshooting advice and repair guides, visit our repair help section.

Installation guideOwner’s manual

Showing 10 of 56 parts

Central Air Conditioner Capacitor Strap#29

Control box/cover Diagram

Central air conditioner capacitor strap

Part #317739-302
This item is not returnable
In Stock
$2.56
Nameplate#8

Inlet grille/service panel Diagram

Nameplate

Part #312250-402
This item is not returnable
In Stock
$6.44
Paint#NI

Inlet grille/service panel Diagram

Paint

Part #313974-751
In Stock
$24.36
Paint#NI

Inlet grille/service panel Diagram

Paint

Part #313974-752
In Stock
$30.49
Paint#NI

Inlet grille/service panel Diagram

Paint

Part #313974-755
In Stock
$30.49
Cover#2

Top/control box cover Diagram

Cover

Part #312212-702137
In Stock
$587.40
Filter Drier#NI

Inlet grille/service panel Diagram

Filter drier

Part #P502-8163S
In Stock
$41.02
Fan#43

Fan blade/pan base Diagram

Fan

Part #312292-402
In Stock
$27.49
Pan Base#1

Top/control box cover Diagram

Pan base

Part #312206-702137
In Stock
$651.14
Valve#NI

Inlet grille/service panel Diagram

Valve

Part #EC39DM061
This item is not returnable
In Stock
$2.16

Articles and videos common to all central air conditioners

October 24, 2022

Easy DIY appliance repairs that anyone can do

Lyle Weischwill

Get advice on simple DIY fixes for appliances that you can safely do on your own.

August 5, 2022

Introducing new technical repair content that we’re developing for the Sears Technical Institute

Lyle Weischwill

Learn about Sears Technical Institute and the advanced technical content being developed for aspiring appliance techs.

June 29, 2022

Top questions about Sears and Sears PartsDirect

Lyle Weischwill

Get answers to frequently asked questions about Sears and Sears PartsDirect.