Carrier
Central Air Conditioner

Model #38BRC036 SERIES300 Official Carrier condensing unit

Here are the diagrams and repair parts for Carrier 38BRC036-SERIES300 condensing unit, as well as links to manuals and error code tables, if available.

There are a couple of ways to find the part or diagram you need:

  • Click a diagram to see the parts shown on that diagram.
  • In the search box below, enter all or part of the part number or the part’s name.

Not all parts are shown on the diagrams—those parts are labeled NI, for “not illustrated”.

We encourage you to save the model to your profile, so it’s easy to access parts and manuals for your appliance whenever you log in.

For DIY troubleshooting advice and repair guides, visit our repair help section.

Owner’s manual

Showing 10 of 52 parts

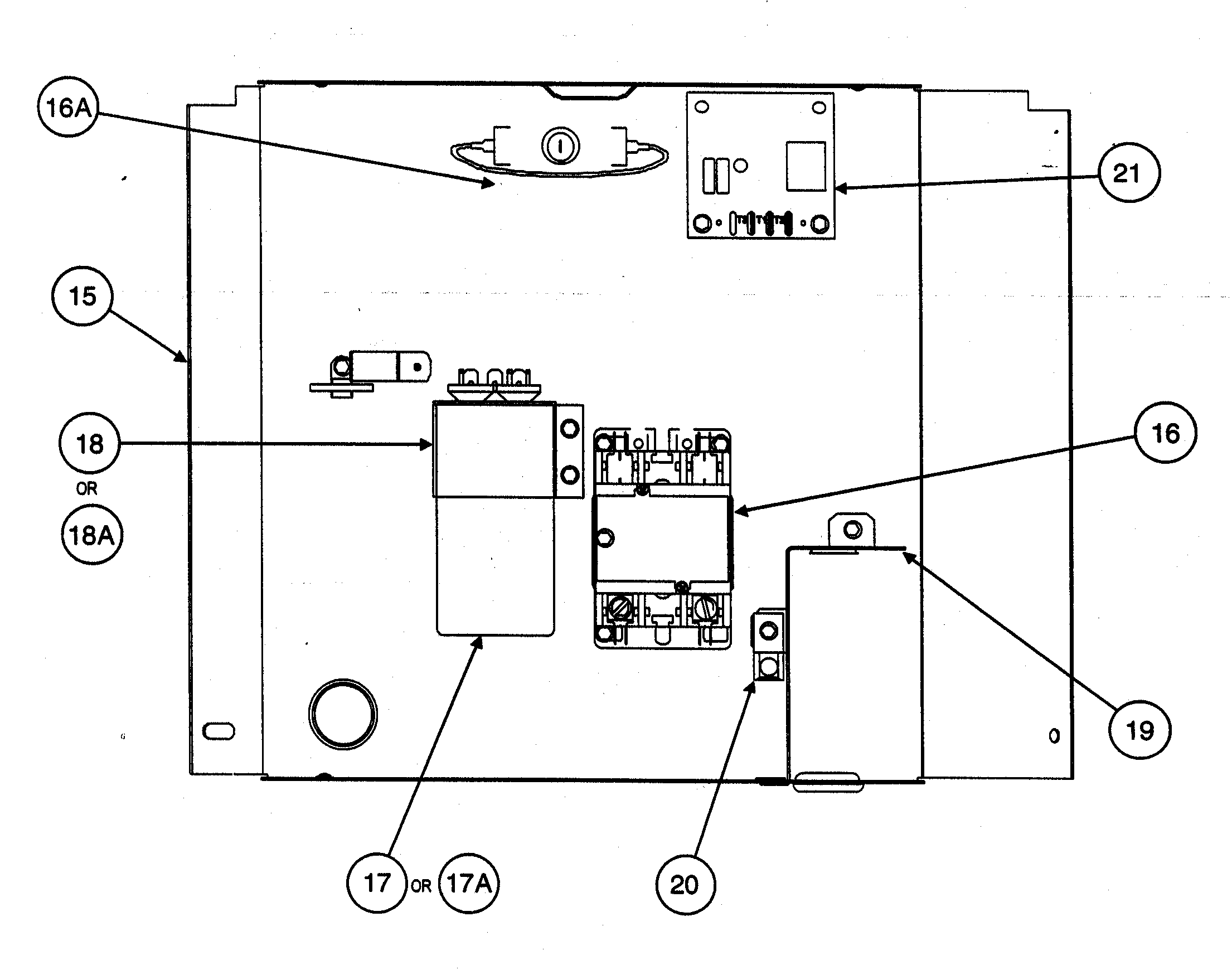
Central Air Conditioner Capacitor Strap#18

Control box Diagram

Central air conditioner capacitor strap

Part #317739-302
This item is not returnable
In Stock
$2.56
Filter Drier#NI

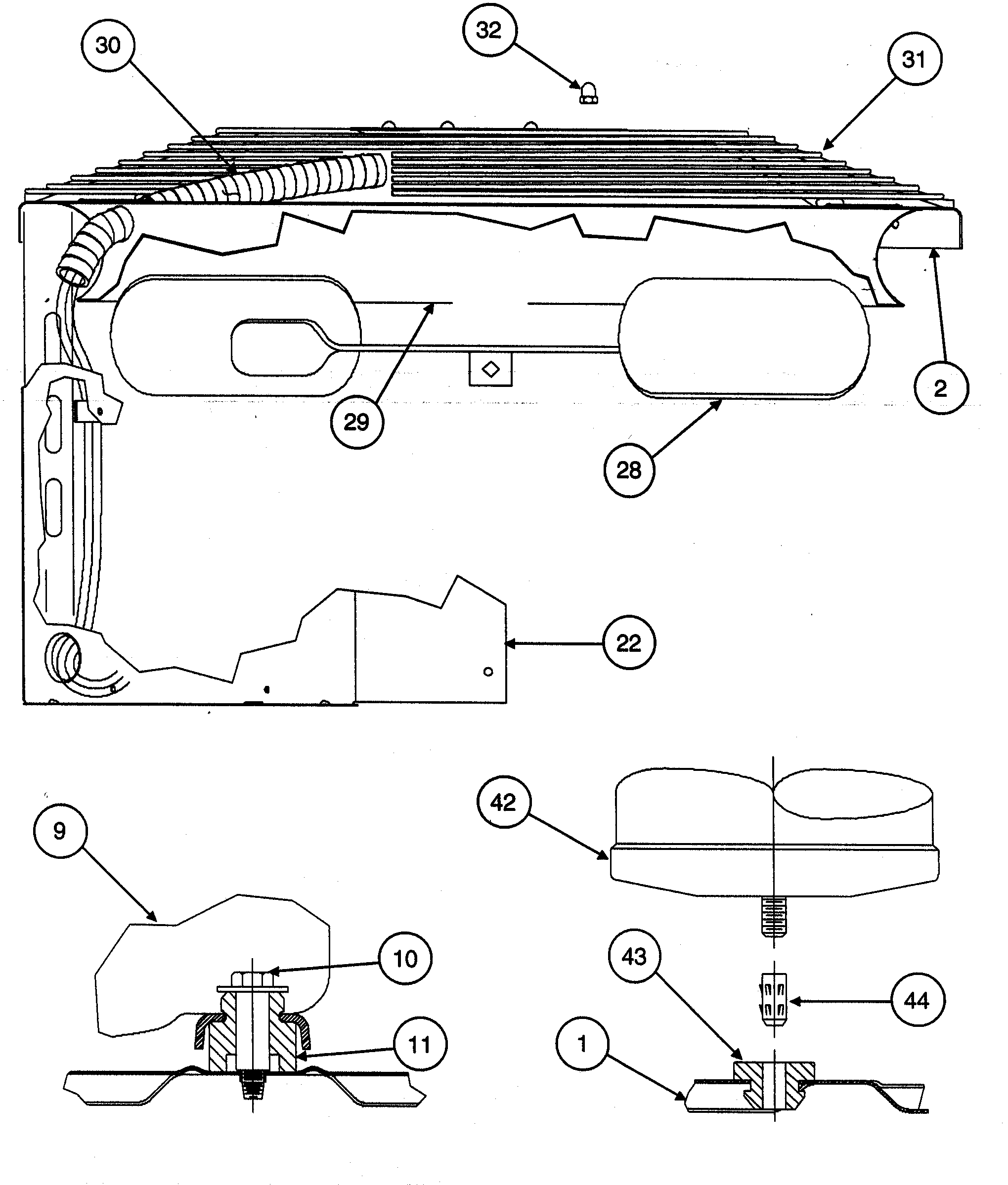
Fan guard/inlet grille Diagram

Filter drier

Part #P502-8083S
In Stock
$34.00
Raceway#30

Control box cover/fan motor Diagram

Raceway

Part #319421-302
This item is not returnable
In Stock
$3.49
Press Switch#NI

Fan guard/inlet grille Diagram

Press switch

Part #HK02ZA395
In Stock
$64.39 | 
7% OFF 
Phone Price: $69.39
Vlv Check#NI

Fan guard/inlet grille Diagram

Vlv check

Part #EC36SZ063
In Stock
$11.18
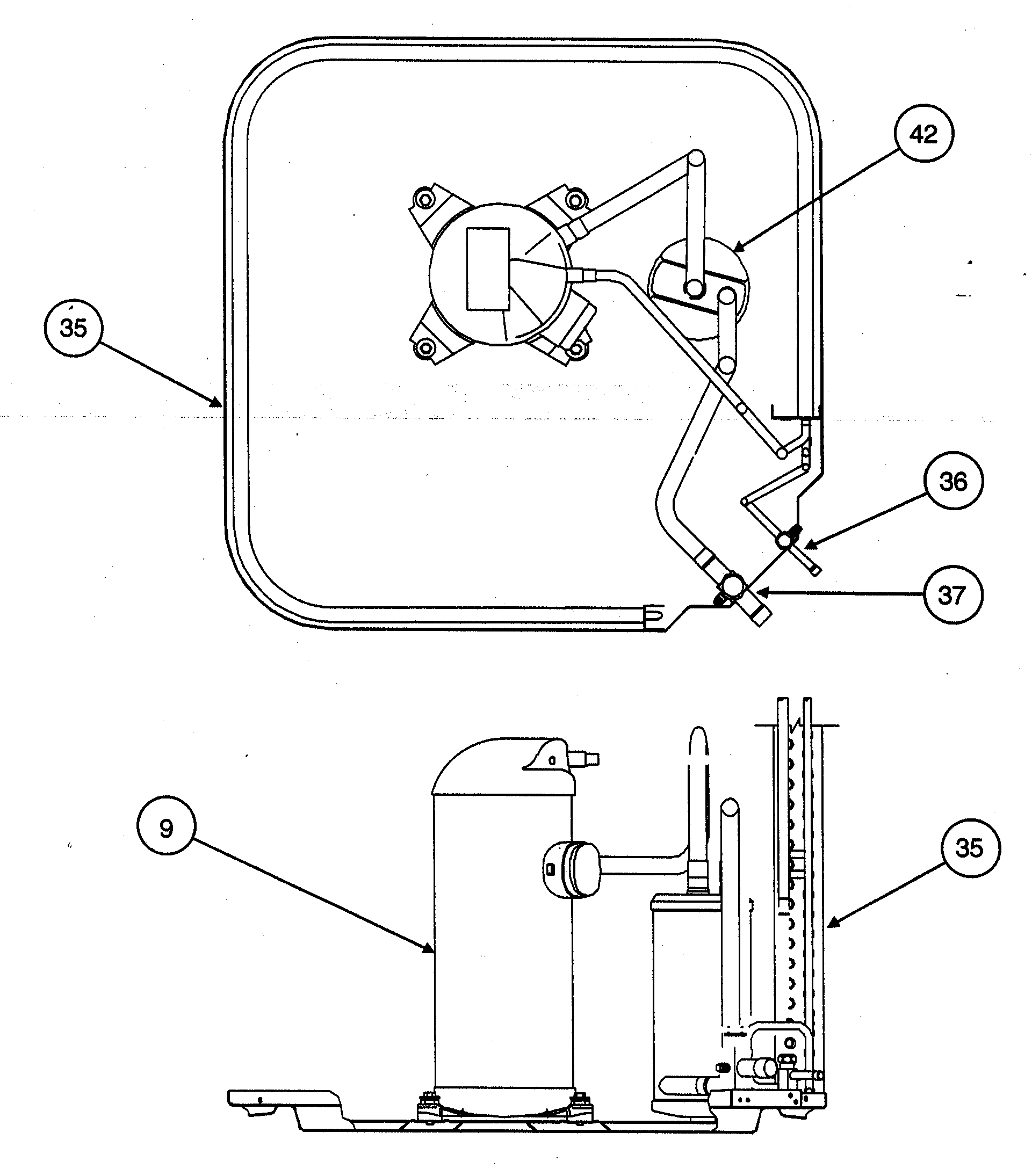
Valve Suction

See All Related Diagrams

Valve suction

Part #317413-401
In Stock
$76.10
Paint#NI

Fan guard/inlet grille Diagram

Paint

Part #313974-755
In Stock
$30.49
Paint#NI

Fan guard/inlet grille Diagram

Paint

Part #313974-752
In Stock
$30.49
Pressuresta#NI

Fan guard/inlet grille Diagram

Pressuresta

Part #HK02ZB028
In Stock
$31.84
Central Air Conditioner Condenser Fan Motor#29

Control box cover/fan motor Diagram

In Stock
$352.39 | 
$10.00 OFF 
Phone Price: $362.39

Articles and videos common to all central air conditioners

November 30, 2022

2023 HVAC regulation changes and how they may affect you

By Lyle Weischwill

Find out how new DOE standards going into effect in 2023 can affect you and what you need to do.

October 24, 2022

Easy DIY appliance repairs that anyone can do

By Lyle Weischwill

Get advice on simple DIY fixes for appliances that you can safely do on your own.

August 5, 2022

Introducing new technical repair content that we’re developing for the Sears Technical Institute

By Lyle Weischwill

Learn about Sears Technical Institute and the advanced technical content being developed for aspiring appliance techs.