Sony
Camera

Model #SLT-A57 Official Sony camera

Here are the diagrams and repair parts for Sony SLT-A57 camera, as well as links to manuals and error code tables, if available.

There are a couple of ways to find the part or diagram you need:

  • Click a diagram to see the parts shown on that diagram.
  • In the search box below, enter all or part of the part number or the part’s name.

Not all parts are shown on the diagrams—those parts are labeled NI, for “not illustrated”.

We encourage you to save the model to your profile, so it’s easy to access parts and manuals for your appliance whenever you log in.

For DIY troubleshooting advice and repair guides, visit our repair help section.

Owner’s manual

Showing 10 of 150 parts

Gear Sensor#609

Mirror box 1 Diagram

Gear sensor

Part #429252901
This item is not returnable
In Stock
$3.93
Pcb Ao-003#302

Main pcb Diagram

Pcb ao-003

Part #188562411
In Stock
$10.31
Logo/emblm#207

Top cover Diagram

Logo/emblm

Part #414388311
In Stock
$16.44
Guide Plate#461

Imager assy Diagram

Guide plate

Part #419422701
This item is not returnable
In Stock
$2.57
Ring Com#604

Mirror box 1 Diagram

Ring com

Part #429253402
In Stock
$41.14
Filter Blo#453

Imager assy Diagram

Filter blo

Part #185622411
In Stock
$57.61
Battery#NI

Main assy 1 Diagram

Battery

Part #NPFM500H
In Stock
$241.30
Lock Spring#559

Battery holder Diagram

Lock spring

Part #429365301
This item is not returnable
In Stock
$3.23
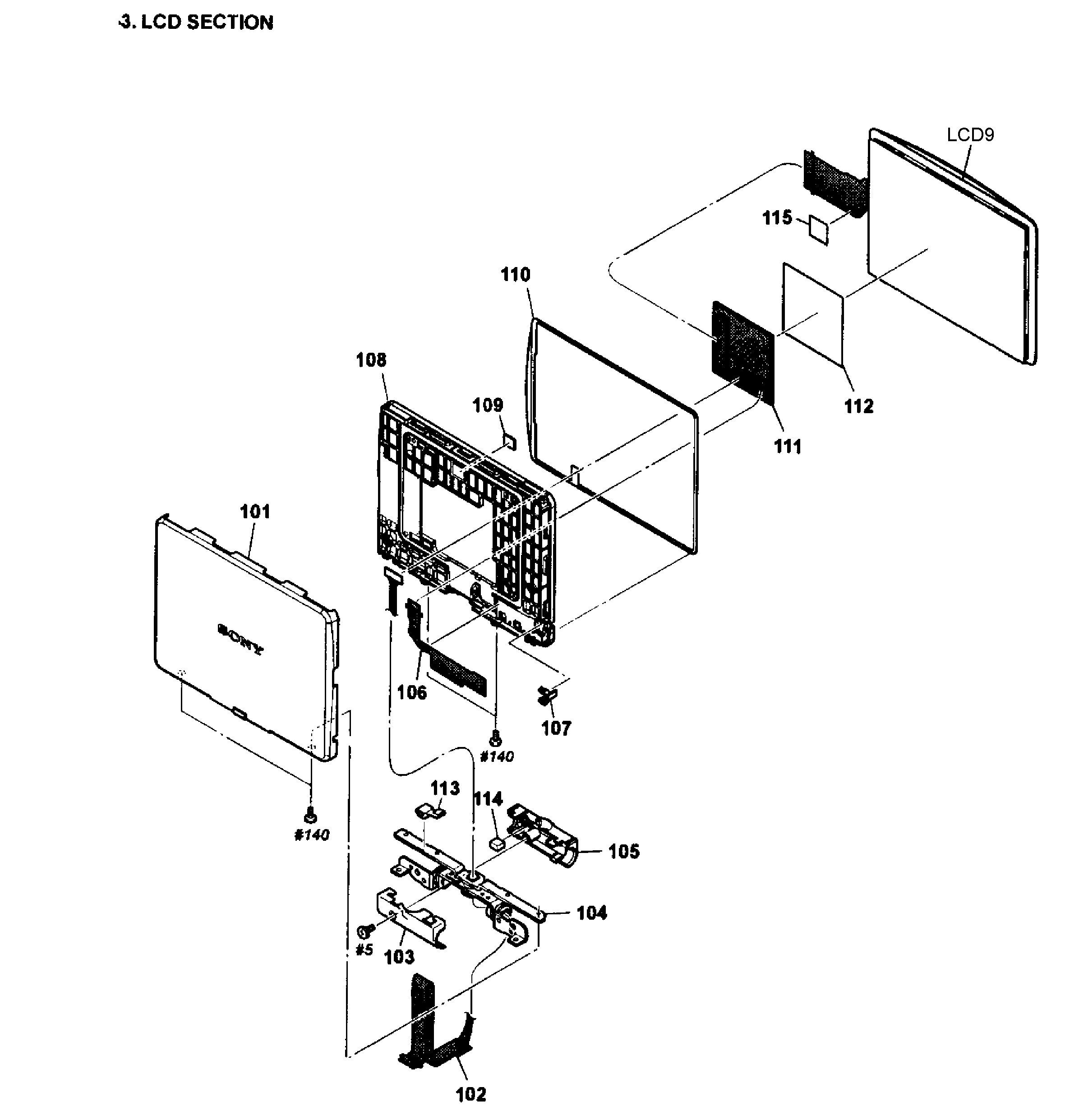
Magnet#114

Lcd assy Diagram

Magnet

Part #147150911
This item is not returnable
In Stock
$3.54
Roller A(s#614

Mirror box 1 Diagram

Roller a(s

Part #328366801
In Stock
$8.74