Motorguide
Boating

Model #GT3000 Official Motorguide electric fishing motor

Here are the diagrams and repair parts for Motorguide GT3000 electric fishing motor, as well as links to manuals and error code tables, if available.

There are a couple of ways to find the part or diagram you need:

  • Click a diagram to see the parts shown on that diagram.
  • In the search box below, enter all or part of the part number or the part’s name.

Not all parts are shown on the diagrams—those parts are labeled NI, for “not illustrated”.

We encourage you to save the model to your profile, so it’s easy to access parts and manuals for your appliance whenever you log in.

For DIY troubleshooting advice and repair guides, visit our repair help section.

Showing 10 of 53 parts

Screw#2

Main asm Diagram

Screw

Part #AR133-01

The manufacturer no longer makes this part, and there's no substitute part

E-Ring#4

Armature asm Diagram

E-ring

Part #MR219-01

The manufacturer no longer makes this part, and there's no substitute part

Cap Assembly#6

Armature asm Diagram

Cap assembly

Part #FF3205-01

The manufacturer no longer makes this part, and there's no substitute part

Shaft Seal#5

Armature asm Diagram

Shaft seal

Part #MR223-01

The manufacturer no longer makes this part, and there's no substitute part

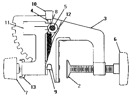
Support#11

Clamp asm Diagram

Support

Part #CK021-01

The manufacturer no longer makes this part, and there's no substitute part

Brush Assembly#8

Armature asm Diagram

Brush assembly

Part #FF3201-01

The manufacturer no longer makes this part, and there's no substitute part

Motor

See All Related Diagrams

Motor

Part #FF397-06

The manufacturer no longer makes this part, and there's no substitute part

Spring#12

Clamp asm Diagram

Spring

Part #CK014-01

The manufacturer no longer makes this part, and there's no substitute part

Bushing#14

Main asm Diagram

Bushing

Part #GR019-01

The manufacturer no longer makes this part, and there's no substitute part

O-Ring#13

Armature asm Diagram

O-ring

Part #HF217-01

The manufacturer no longer makes this part, and there's no substitute part