Thermador
Gas Cooktop

Model #GGNCV365W Official Thermador gas cooktop

Here are the diagrams and repair parts for Thermador GGNCV365W gas cooktop, as well as links to manuals and error code tables, if available.

There are a couple of ways to find the part or diagram you need:

  • Click a diagram to see the parts shown on that diagram.
  • In the search box below, enter all or part of the part number or the part’s name.

Not all parts are shown on the diagrams—those parts are labeled NI, for “not illustrated”.

We encourage you to save the model to your profile, so it’s easy to access parts and manuals for your appliance whenever you log in.

For DIY troubleshooting advice and repair guides, visit our repair help section.

Error Codes

Showing 10 of 218 parts

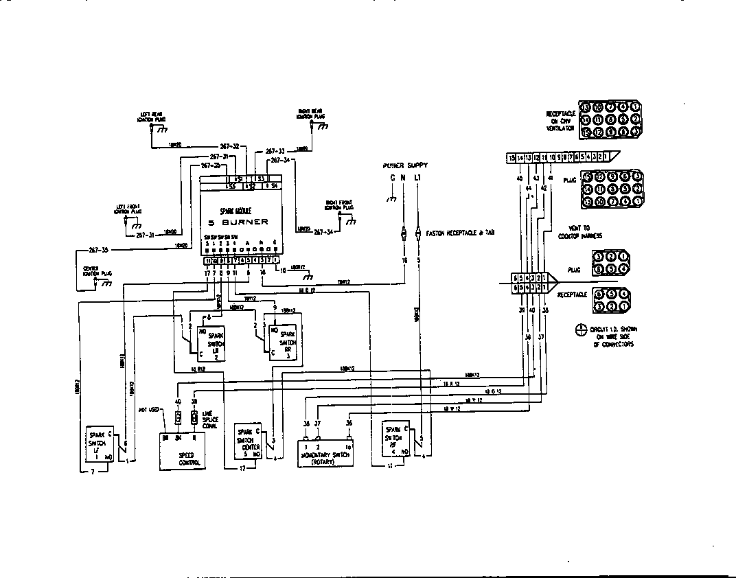
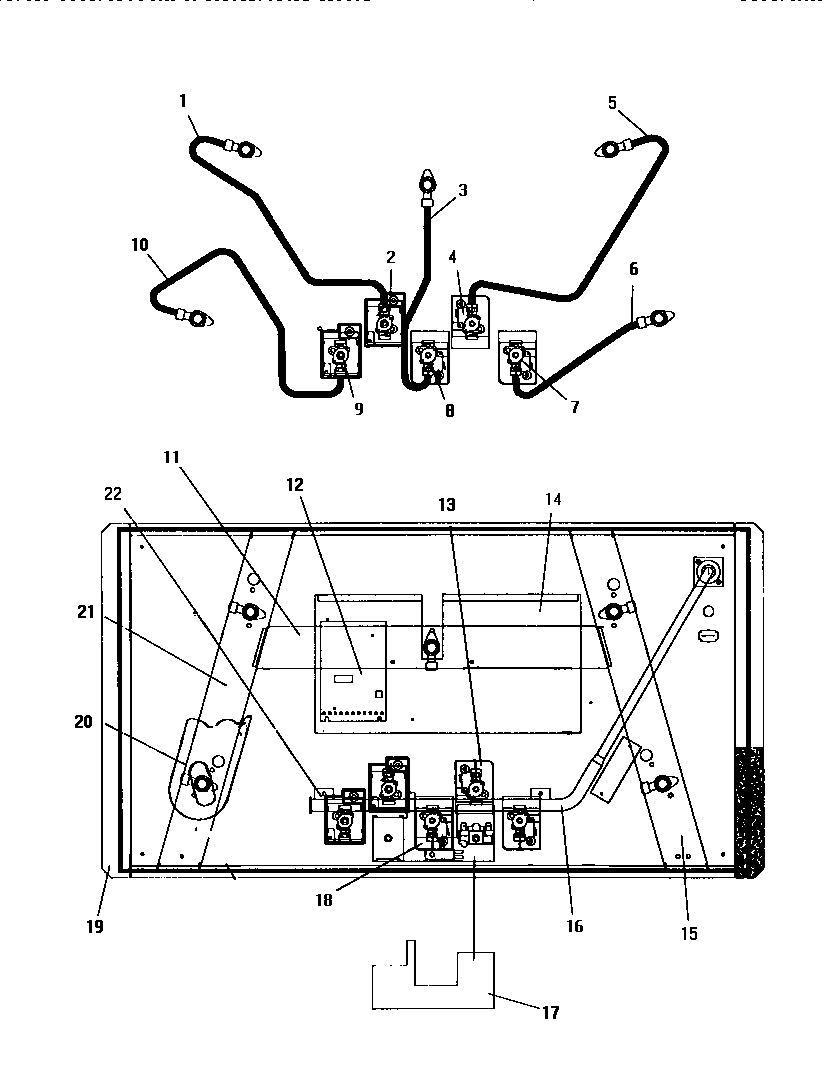
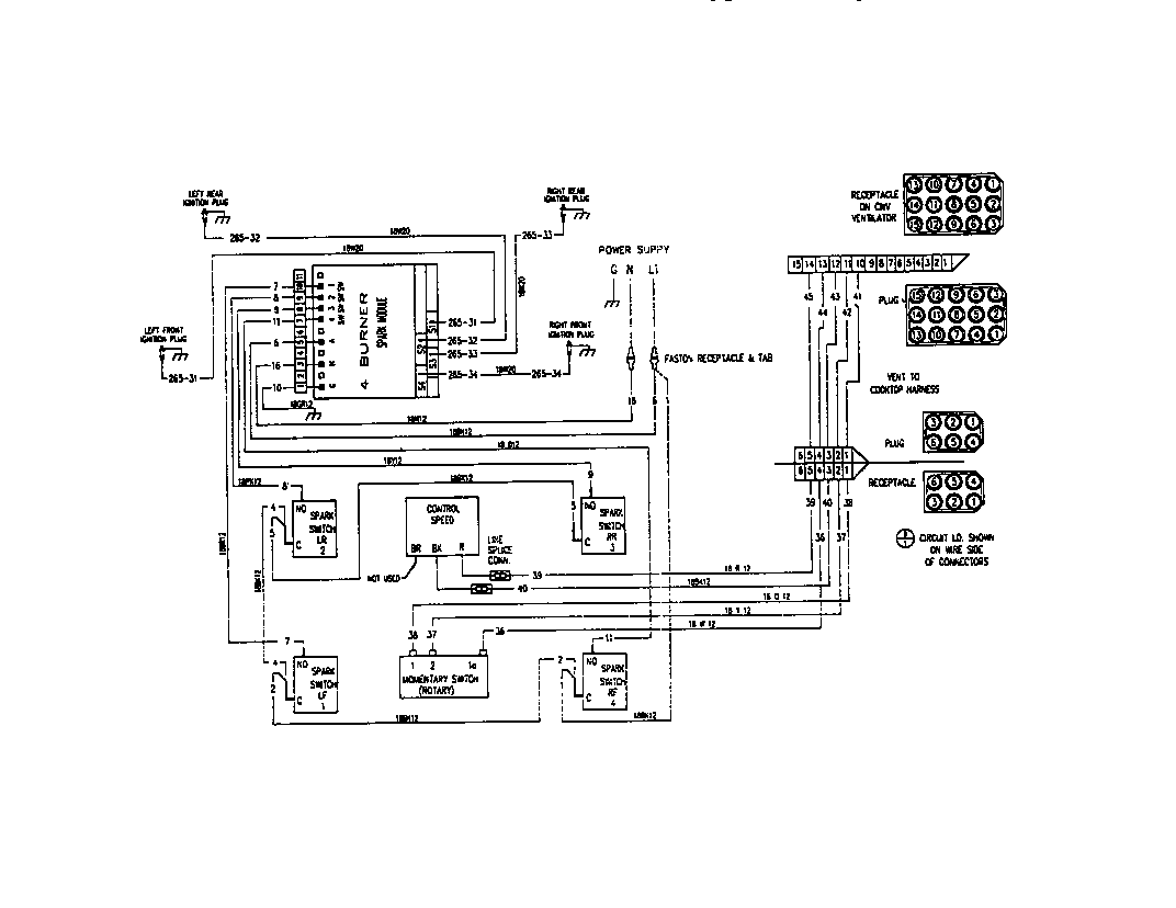
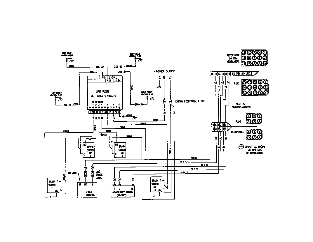
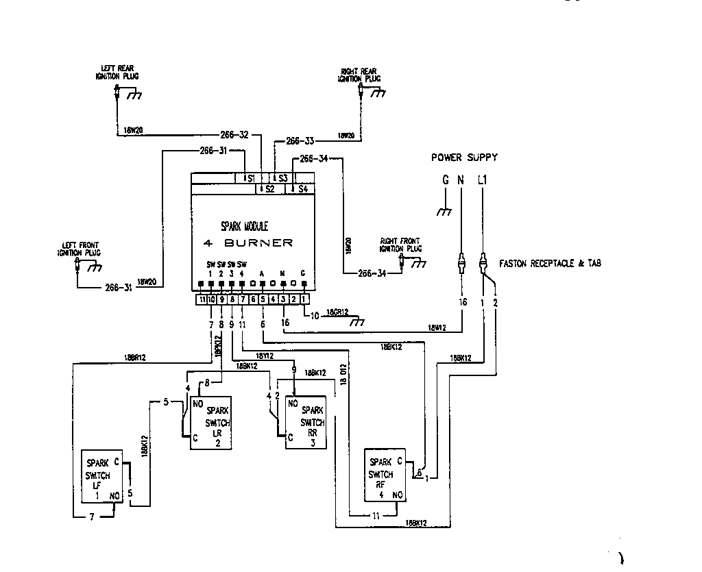
Cooktop Re-Ignition Spark Module#12

Burner box (ggn365) (ggn365w) (ggncv30) (ggncv30w) (ggncv36) (ggncv365) (ggncv365w) (ggncv36w) Diagram

Module

Part #20-01-924-01
Replaced by #00753257
?
Manufacturer substitution
This part replaces 20-01-924-01. Substitute parts can look different from the original.
In Stock
$187.17 | 
5% OFF 
Phone Price: $197.17
Cooktop Re-Ignition Spark Module

See All Related Diagrams

Module

Part #20-09-166
Replaced by #00753257
?
Manufacturer substitution
This part replaces 20-09-166. Substitute parts can look different from the original.
In Stock
$187.17 | 
5% OFF 
Phone Price: $197.17
Glass#6

Cooktop (ggn30) (ggn30w) (ggn365) (ggn365w) (ggncv30) (ggncv30w) (ggncv36) (ggncv365) (ggncv365w) (ggncv36w) Diagram

Glass

Part #20-02-201-04
In Stock
$460.99
Instl-manl

#NI

All parts Diagram

Instl-manl

Part #20-02-275
In Stock
$9.99
U&c-guide

#NI

All parts Diagram

U&c-guide

Part #20-02-373
In Stock
$19.49
Screw

See All Related Diagrams

Screw

Part #14-91-118
In Stock
$77.99
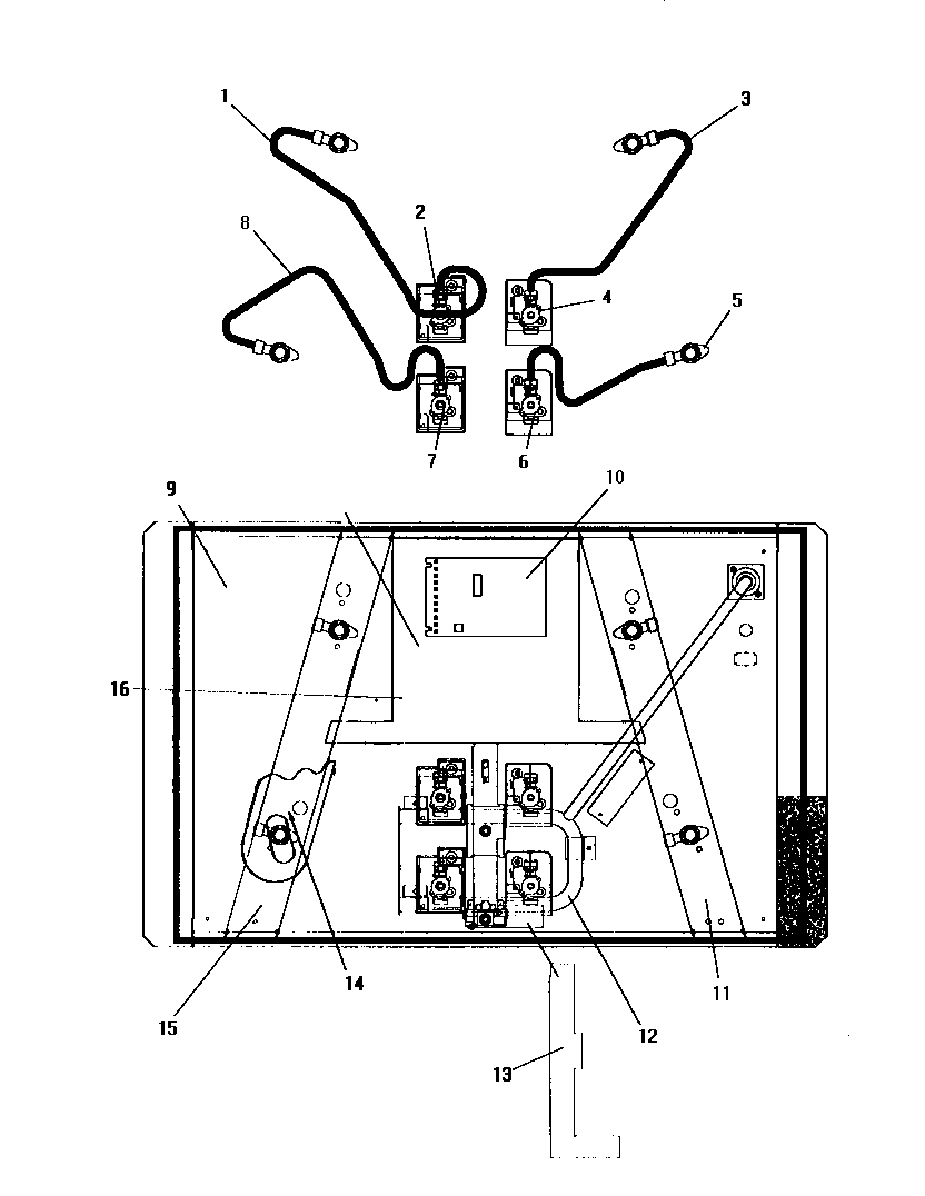
Complete Burner#5

Gas control valve detail Diagram

Complete burner

Part #20-02-114
This item is not returnable
In Stock
$4.99
Ring#8

Main top Diagram

Ring

Part #20-02-042
This item is not returnable
In Stock
$3.99
Filter#4

Cv2236n & cv2230n Diagram

Filter

Part #19-19-414
In Stock
$22.50
Bracket

See All Related Diagrams

Bracket

Part #20-02-044
In Stock
$28.99

Symptoms common to all cooktops

Choose a symptom to see related cooktop repairs.

Main causes: lack of electrical power, gas supply failure, bad pressure regulator, control system failure

Repair guides for gas cooktops

How to replace a spark igniter switch on a gas cooktop

Follow these step-by-step instructions to fix the surface burner ignition system on your gas cooktop by replacing the spark igniter switches.

Repair difficulty
Time required
 45 minutes or less
November 20, 2014
By Lyle Weischwill
How to replace a spark module on a gas cooktop

No flame on your gas cooktop? Installing a new spark module could be the fix you need.

Repair difficulty
Time required
 30 minutes or less

Articles and videos common to all cooktops

Use the advice and tips in these articles and videos to get the most out of your cooktop.

November 12, 2022

5 Holiday Cleaning Tasks Essential to Boosting Your Home’s Image

By Lyle Weischwill

Get tips on completing essential holiday cleaning tasks to brighten your home.

August 19, 2022

Are DIY appliance repairs safe?

By Lyle Weischwill

Find out how to stay safe when repairing your appliances.

July 9, 2021

How to clean stainless steel appliances video

By Lyle Weischwill

Learn how to keep the stainless-steel appliances in your home clean and shining bright.