GE
Countertop Microwave

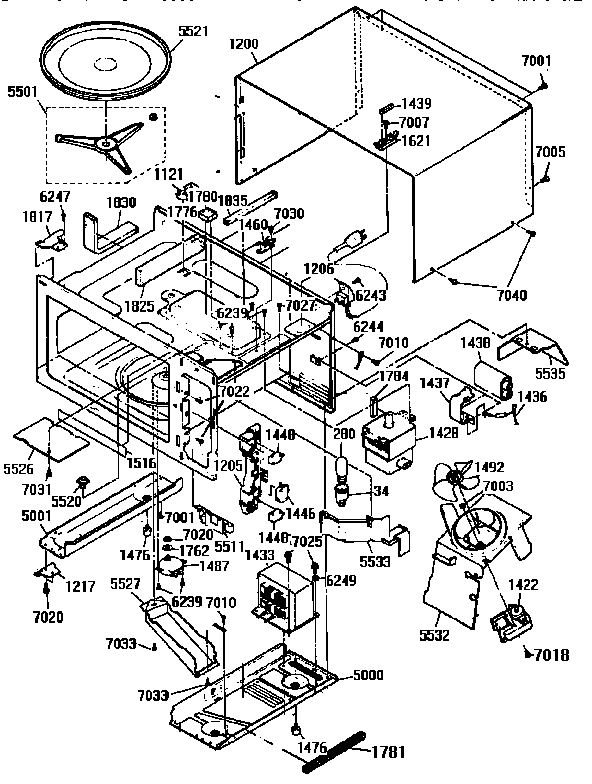
Model #JES1224T01 Official GE microwave

Here are the diagrams and repair parts for GE JES1224T01 microwave, as well as links to manuals and error code tables, if available.

There are a couple of ways to find the part or diagram you need:

  • Click a diagram to see the parts shown on that diagram.
  • In the search box below, enter all or part of the part number or the part’s name.

Not all parts are shown on the diagrams—those parts are labeled NI, for “not illustrated”.

We encourage you to save the model to your profile, so it’s easy to access parts and manuals for your appliance whenever you log in.

For DIY troubleshooting advice and repair guides, visit our repair help section.

Showing 10 of 75 parts

Mini Manual

#*79042

All parts Diagram

Mini manual

Part #31-1079
In Stock
$21.99
Use and Care Guide

#*79040

All parts Diagram

Use and care guide

Part #49-8229
In Stock
$8.59 | 
10% OFF 
Phone Price: $9.59
Bot Plate Rt

#5000

All parts Diagram

Bot plate rt

Part #WB56X2119
In Stock
$29.49
Wiring/schem

#*79041

All parts Diagram

Wiring/schem

Part #31-1079-A
In Stock
$21.99
Power Support Cord

#1206

All parts Diagram

Power support cord

Part #WB18X0459

The manufacturer no longer makes this part, and there's no substitute part

Main Wiring Harness

#1648

All parts Diagram

Main wiring harness

Part #WB18X0470

The manufacturer no longer makes this part, and there's no substitute part

Wire H V

#1435

All parts Diagram

Wire h v

Part #WB18X0460

The manufacturer no longer makes this part, and there's no substitute part

W Harn Lvolt

#1649

All parts Diagram

W harn lvolt

Part #WB18X0428

The manufacturer no longer makes this part, and there's no substitute part

Door Button

#5510

All parts Diagram

Door button

Part #WB03X0850

The manufacturer no longer makes this part, and there's no substitute part

Ck Gd Label

#1516

All parts Diagram

Ck gd label

Part #WB04X0138

The manufacturer no longer makes this part, and there's no substitute part

Articles and videos common to all microwaves

November 12, 2022

5 Holiday Cleaning Tasks Essential to Boosting Your Home’s Image

Lyle Weischwill

Get tips on completing essential holiday cleaning tasks to brighten your home.

August 19, 2022

Are DIY appliance repairs safe?

Lyle Weischwill

Find out how to stay safe when repairing your appliances.

August 5, 2022

Introducing new technical repair content that we’re developing for the Sears Technical Institute

Lyle Weischwill

Learn about Sears Technical Institute and the advanced technical content being developed for aspiring appliance techs.