Escalade
Toys & Games

Model #52725402 Official Escalade pool table

Here are the diagrams and repair parts for Escalade 52725402 pool table, as well as links to manuals and error code tables, if available.

There are a couple of ways to find the part or diagram you need:

  • Click a diagram to see the parts shown on that diagram.
  • In the search box below, enter all or part of the part number or the part’s name.

Not all parts are shown on the diagrams—those parts are labeled NI, for “not illustrated”.

We encourage you to save the model to your profile, so it’s easy to access parts and manuals for your appliance whenever you log in.

For DIY troubleshooting advice and repair guides, visit our repair help section.

Showing 10 of 51 parts

1/4 Washer#22

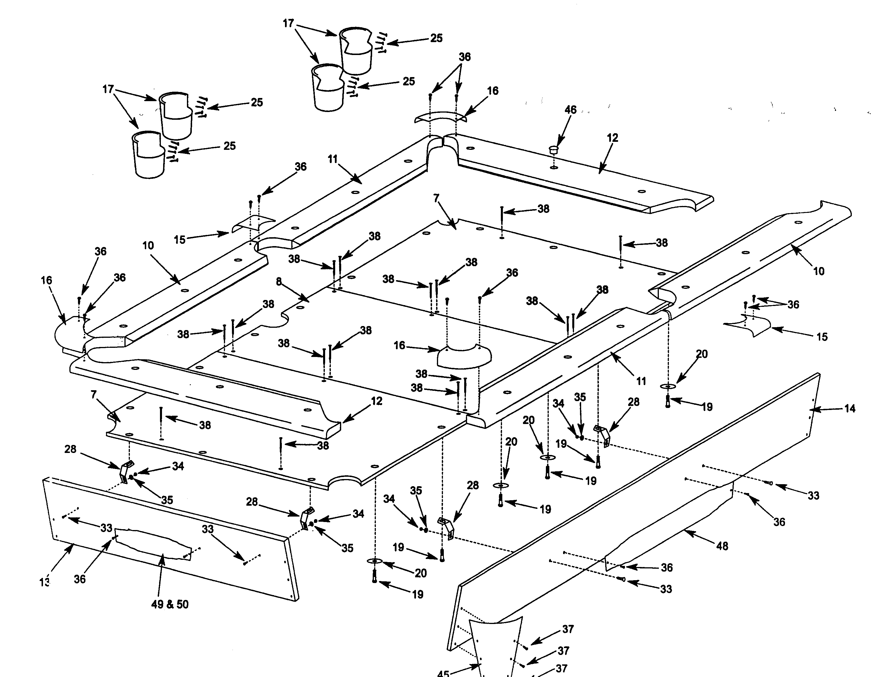
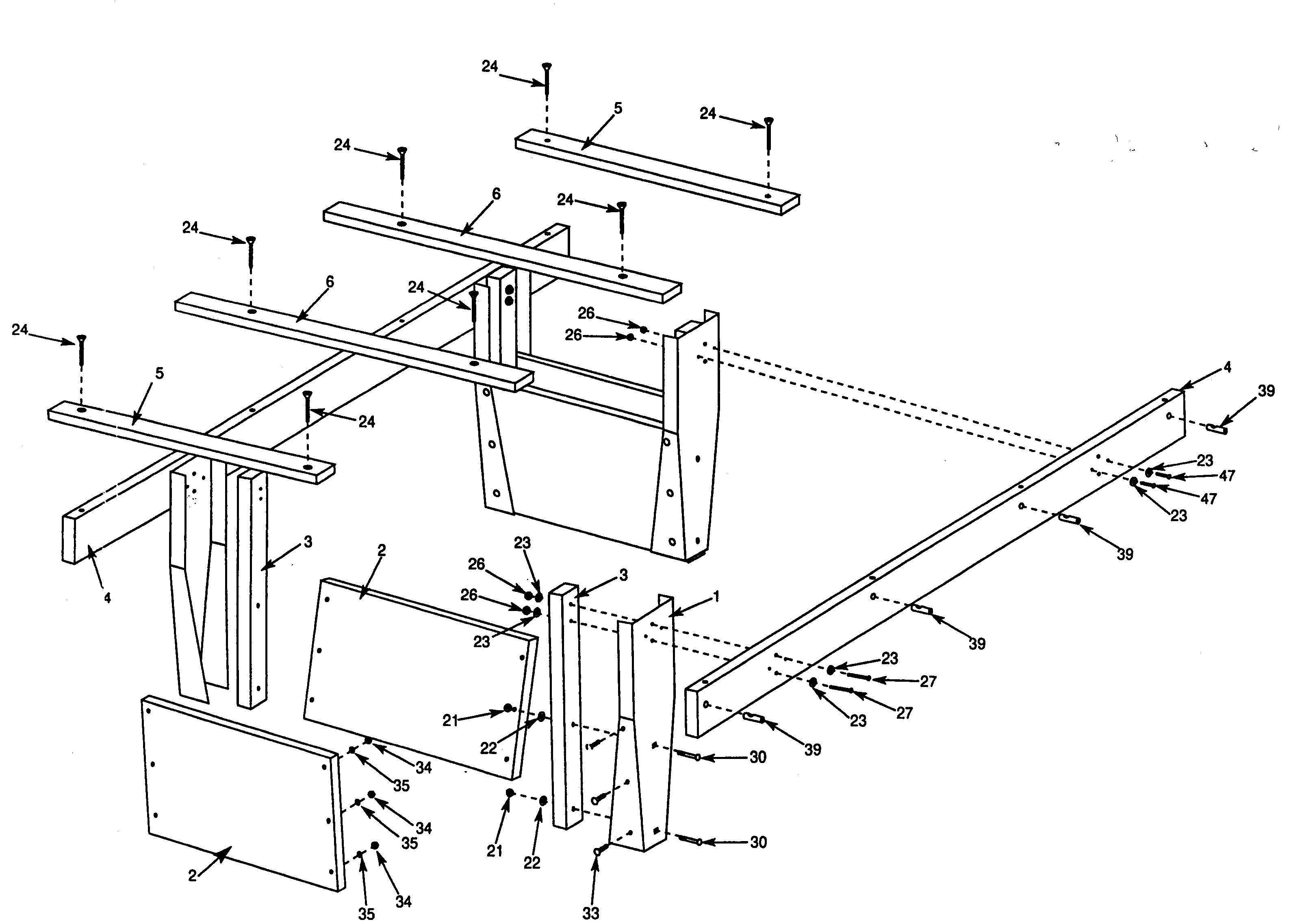
Legs Diagram

1/4 washer

Part #801-9B

The manufacturer no longer makes this part, and there's no substitute part

Washer#23

Legs Diagram

Washer

Part #2B-6024-00

The manufacturer no longer makes this part, and there's no substitute part

Hardware#26

Legs Diagram

Hardware

Part #2B-6009-01

The manufacturer no longer makes this part, and there's no substitute part

Bolt#19

Top Diagram

Bolt

Part #801-142

The manufacturer no longer makes this part, and there's no substitute part

Bolt#30

Legs Diagram

Bolt

Part #1B-6117-00

The manufacturer no longer makes this part, and there's no substitute part

F Locknut#34

Top Diagram

F locknut

Part #601-80B

The manufacturer no longer makes this part, and there's no substitute part

Lock Nut#21

Legs Diagram

Lock nut

Part #2B-6016-02

The manufacturer no longer makes this part, and there's no substitute part

Hex Bolt#NI

Top Diagram

Hex bolt

Part #901-18

The manufacturer no longer makes this part, and there's no substitute part

Washer #10#35

Top Diagram

Washer #10

Part #701-1B

The manufacturer no longer makes this part, and there's no substitute part

Pool Table Screw#24

Legs Diagram

Pool table screw

Part #1B-6115-00

The manufacturer no longer makes this part, and there's no substitute part