Sony
CD Player

Model #CDP-CX450 Official Sony cd player

Here are the diagrams and repair parts for Sony CDP-CX450 cd player, as well as links to manuals and error code tables, if available.

There are a couple of ways to find the part or diagram you need:

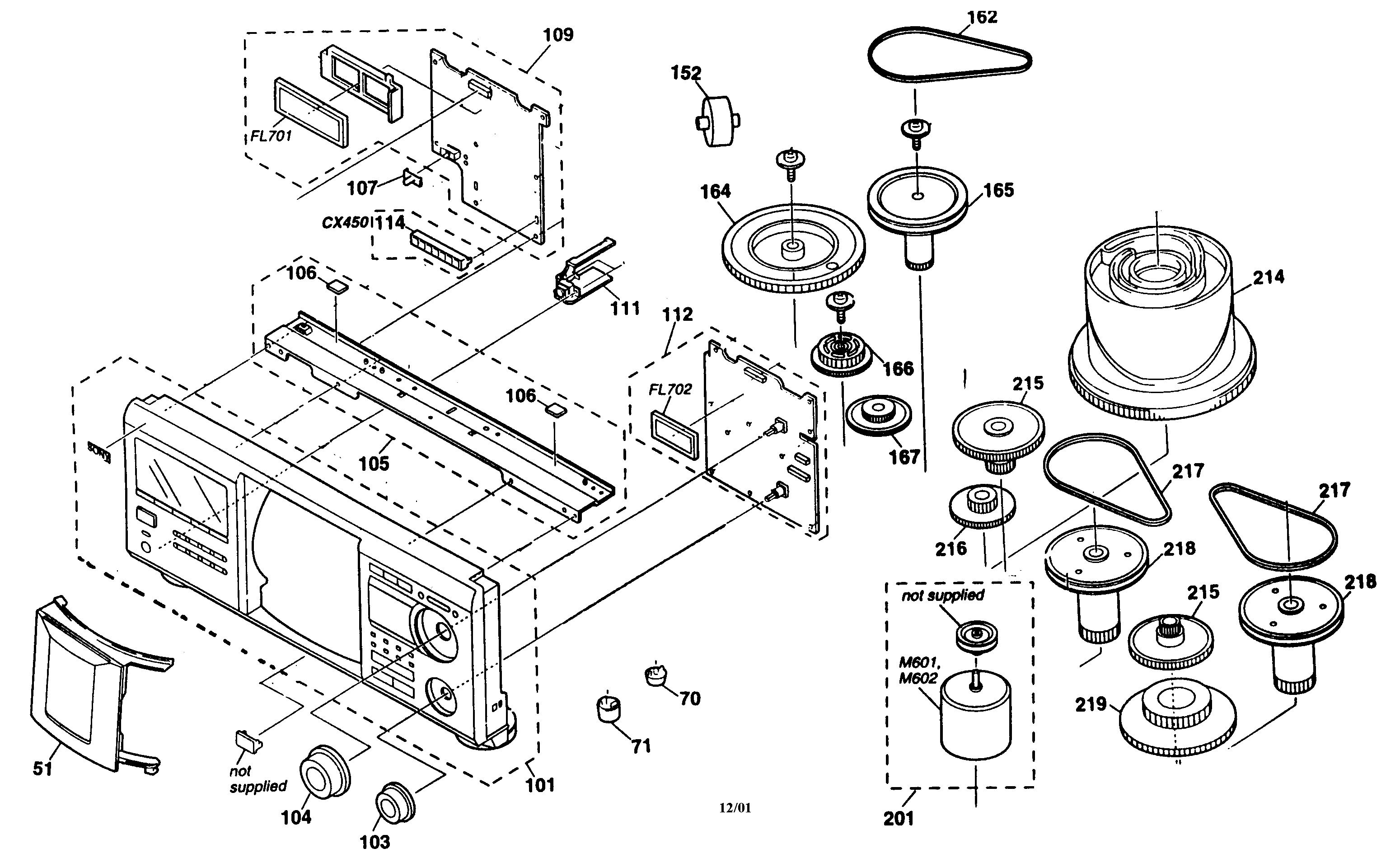
  • Click a diagram to see the parts shown on that diagram.
  • In the search box below, enter all or part of the part number or the part’s name.

Not all parts are shown on the diagrams—those parts are labeled NI, for “not illustrated”.

We encourage you to save the model to your profile, so it’s easy to access parts and manuals for your appliance whenever you log in.

For DIY troubleshooting advice and repair guides, visit our repair help section.

Showing 10 of 64 parts

Component#NI

Cabinet parts Diagram

Component

Part #123616411

The manufacturer no longer makes this part, and there's no substitute part

Ic La6510#NI

Cabinet parts Diagram

Ic la6510

Part #875982238

The manufacturer no longer makes this part, and there's no substitute part

Bracket#105

Cabinet parts Diagram

Bracket

Part #X49526421

The manufacturer no longer makes this part, and there's no substitute part

Switch#NI

Cabinet parts Diagram

Switch

Part #157130021

The manufacturer no longer makes this part, and there's no substitute part

Encoder#NI

Cabinet parts Diagram

Encoder

Part #147554311

The manufacturer no longer makes this part, and there's no substitute part

Tr Pt483f1#NI

Cabinet parts Diagram

Tr pt483f1

Part #872992631

The manufacturer no longer makes this part, and there's no substitute part

Filter#NI

Cabinet parts Diagram

Filter

Part #142448511

The manufacturer no longer makes this part, and there's no substitute part

Gear Cam#164

Cabinet parts Diagram

Gear cam

Part #422682801

The manufacturer no longer makes this part, and there's no substitute part

Battery Lid#NI

Cabinet parts Diagram

Battery lid

Part #498164301

The manufacturer no longer makes this part, and there's no substitute part

Integrated Circuit#NI

Cabinet parts Diagram

Integrated circuit

Part #875945986

The manufacturer no longer makes this part, and there's no substitute part