Sony
Digital Camcorder

Model #DCR-IP220 Official Sony digital camcorder

Here are the diagrams and repair parts for Sony DCR-IP220 digital camcorder, as well as links to manuals and error code tables, if available.

There are a couple of ways to find the part or diagram you need:

  • Click a diagram to see the parts shown on that diagram.
  • In the search box below, enter all or part of the part number or the part’s name.

Not all parts are shown on the diagrams—those parts are labeled NI, for “not illustrated”.

We encourage you to save the model to your profile, so it’s easy to access parts and manuals for your appliance whenever you log in.

For DIY troubleshooting advice and repair guides, visit our repair help section.

Owner’s manual

Showing 10 of 205 parts

Button#312

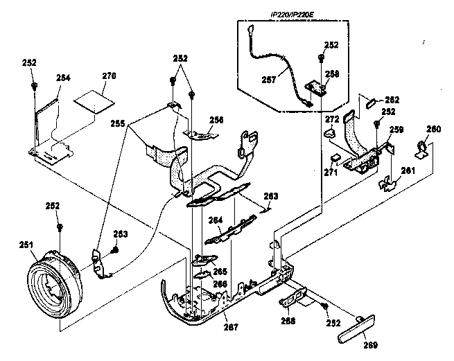
Cabinet parts l Diagram

Button

Part #306989001

The manufacturer no longer makes this part, and there's no substitute part

Transformer#404

Lcd unit Diagram

Transformer

Part #147666911

The manufacturer no longer makes this part, and there's no substitute part

Cabinet F#58

Cabinet parts f Diagram

Cabinet f

Part #X39527601

The manufacturer no longer makes this part, and there's no substitute part

Jk Bracket#324

Cabinet parts l Diagram

Jk bracket

Part #307753501

The manufacturer no longer makes this part, and there's no substitute part

Cushion#221

Lens block Diagram

Cushion

Part #307842601

The manufacturer no longer makes this part, and there's no substitute part

Ms Sheet#366

Cabinet parts rear Diagram

Ms sheet

Part #307896001

The manufacturer no longer makes this part, and there's no substitute part

Cover F#73

Cabinet parts f Diagram

Cover f

Part #X39528851

The manufacturer no longer makes this part, and there's no substitute part

Integrated Circuit#NI

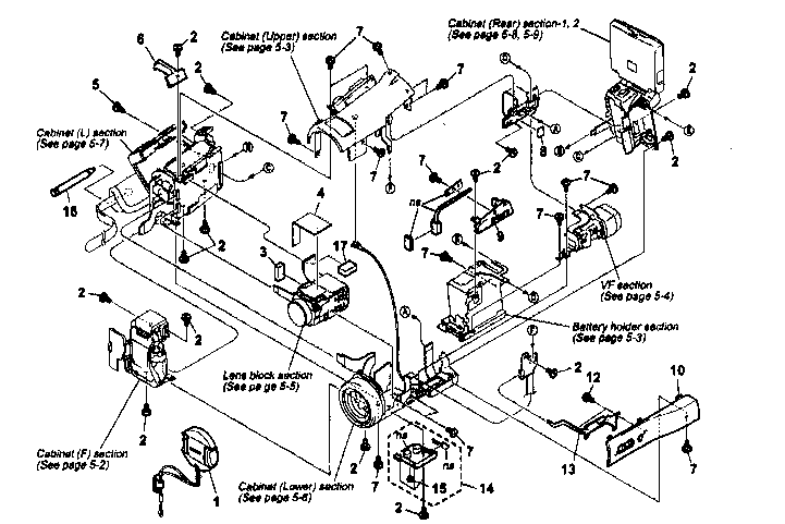
Overall section Diagram

Integrated circuit

Part #875958111

The manufacturer no longer makes this part, and there's no substitute part

Lock Screw#309

Cabinet parts l Diagram

Lock screw

Part #338952315

The manufacturer no longer makes this part, and there's no substitute part

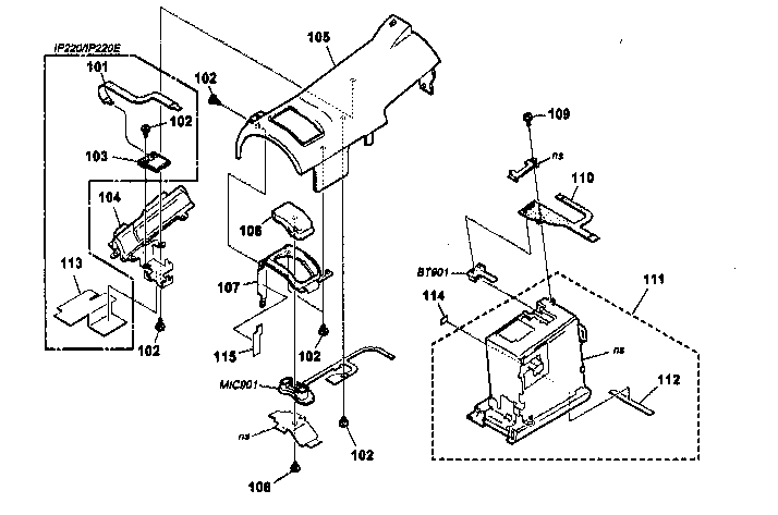
Cabinet Up#105

Cabinet parts upper Diagram

Cabinet up

Part #307752601

The manufacturer no longer makes this part, and there's no substitute part