Panasonic
Countertop Microwave

Model #NN-S251WL Official Panasonic microwave

Here are the diagrams and repair parts for Panasonic NN-S251WL microwave, as well as links to manuals and error code tables, if available.

There are a couple of ways to find the part or diagram you need:

  • Click a diagram to see the parts shown on that diagram.
  • In the search box below, enter all or part of the part number or the part’s name.

Not all parts are shown on the diagrams—those parts are labeled NI, for “not illustrated”.

We encourage you to save the model to your profile, so it’s easy to access parts and manuals for your appliance whenever you log in.

For DIY troubleshooting advice and repair guides, visit our repair help section.

Showing 10 of 79 parts

Cable Assembly#43

High voltage Diagram

Cable assembly

Part #K606V2510AP

The manufacturer no longer makes this part, and there's no substitute part

Fuse, 20-amp#54

Fan assy Diagram

Fuse

Part #K62312510AP
Replaced by #STD388200
?
Manufacturer substitution
This part replaces K62312510AP. Substitute parts can look different from the original.
This item is not returnable
In Stock
$1.63 | 
38% OFF 
Phone Price: $2.63
Rotating Ring#36

High voltage Diagram

Rotating ring

Part #K290D2510AP
In Stock
$39.93
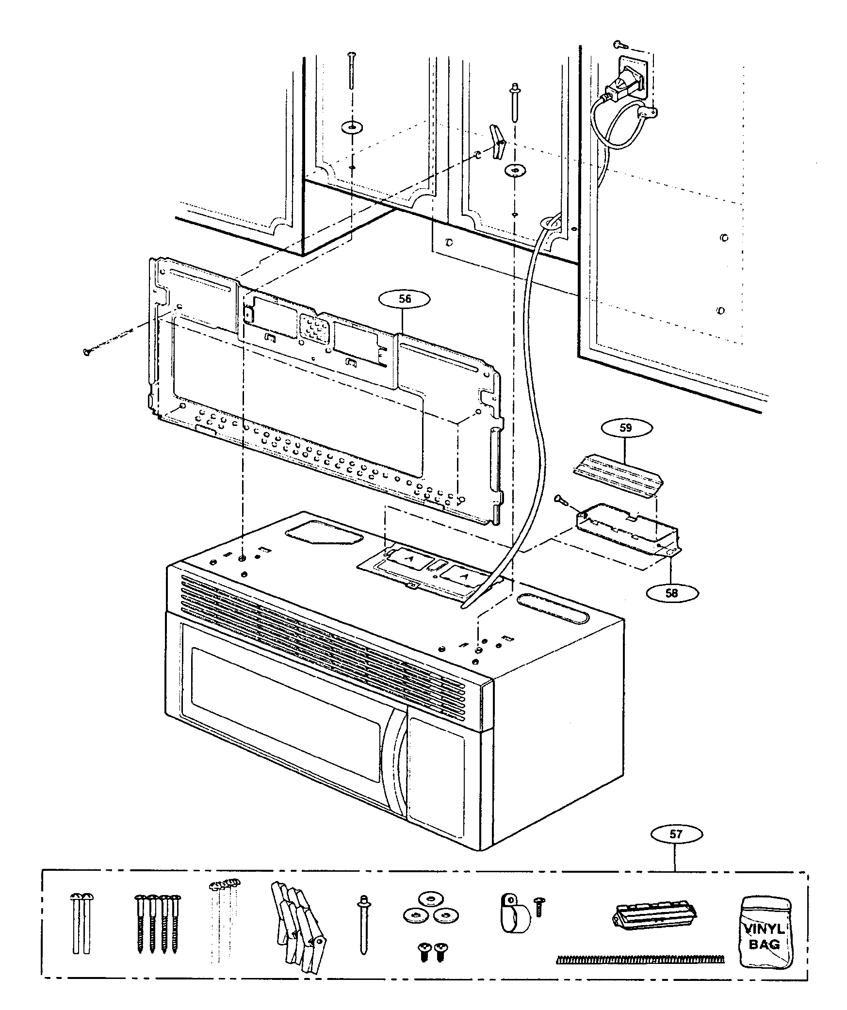
Canopy#15

Oven cavity Diagram

Canopy

Part #K20552510AP
In Stock
$22.49
Screw#63

Oven cavity Diagram

Screw

Part #SANE0004
This item is not returnable
In Stock
$4.99
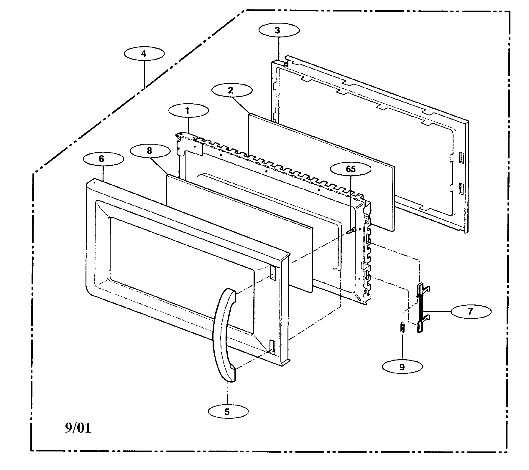
Door Key#7

Door assy Diagram

Door key

Part #K30182510AP
In Stock
$15.17
Magnetron#44

High voltage Diagram

Magnetron

Part #K50012510AP
In Stock
$77.99
Board Assembly#29

Door hook Diagram

Board assembly

Part #K393C2510AP
In Stock
$48.33
Key#13A

Control assy Diagram

Key

Part #K64792550AP
In Stock
$51.60
Door Hook#28

Door hook Diagram

Door hook

Part #K30202510AP
In Stock
$20.49

Articles and videos common to all microwaves

November 12, 2022

5 Holiday Cleaning Tasks Essential to Boosting Your Home’s Image

Lyle Weischwill

Get tips on completing essential holiday cleaning tasks to brighten your home.

August 19, 2022

Are DIY appliance repairs safe?

Lyle Weischwill

Find out how to stay safe when repairing your appliances.

August 5, 2022

Introducing new technical repair content that we’re developing for the Sears Technical Institute

Lyle Weischwill

Learn about Sears Technical Institute and the advanced technical content being developed for aspiring appliance techs.