Sony
Camera

Model #DSC-W510B Official Sony digital camera

Here are the diagrams and repair parts for Sony DSC-W510B digital camera, as well as links to manuals and error code tables, if available.

There are a couple of ways to find the part or diagram you need:

  • Click a diagram to see the parts shown on that diagram.
  • In the search box below, enter all or part of the part number or the part’s name.

Not all parts are shown on the diagrams—those parts are labeled NI, for “not illustrated”.

We encourage you to save the model to your profile, so it’s easy to access parts and manuals for your appliance whenever you log in.

For DIY troubleshooting advice and repair guides, visit our repair help section.

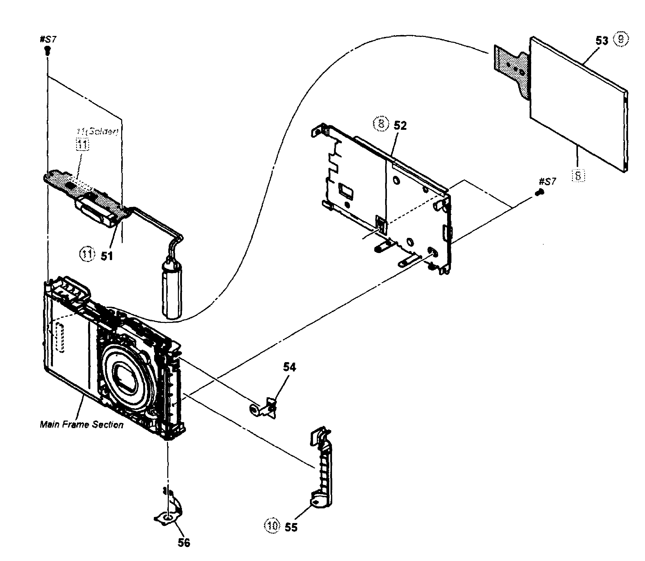
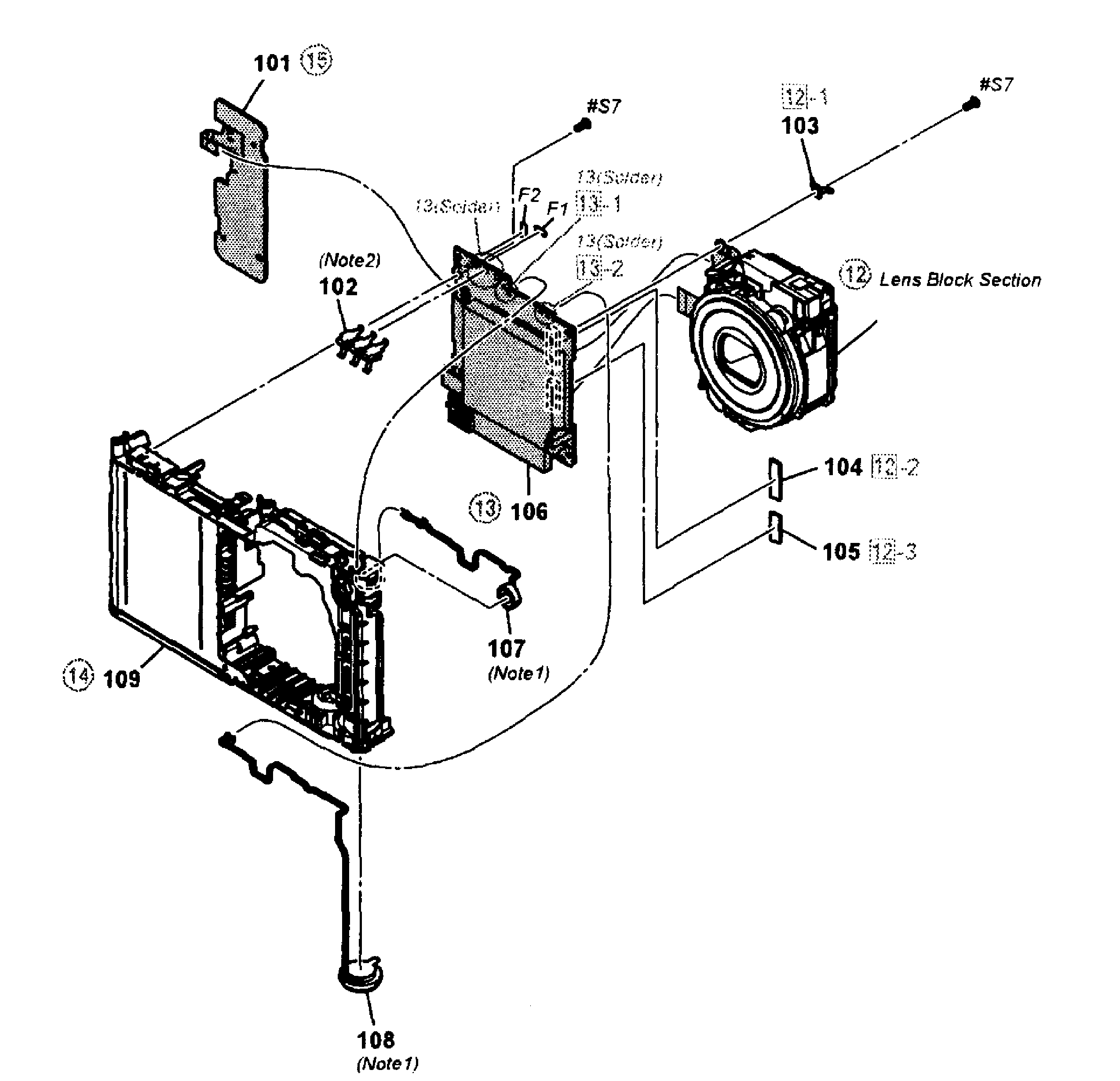
Showing 10 of 47 parts

Cover Assembly Top (Black)#3

Cabinet parts Diagram

In Stock
$31.00
Plate Assembly#54

Lcd assy Diagram

Plate assembly

Part #X25807231
This item is not returnable
In Stock
$2.25
Ring A#152

Lens assy Diagram

Ring a

Part #415585001
In Stock
$13.24
Cushion#105

Main frame Diagram

Cushion

Part #427359901
This item is not returnable
In Stock
$2.16
Main Frame#109

Main frame Diagram

Main frame

Part #X25807261
In Stock
$34.41
Digital Camera Battery Charger#NI

Cabinet parts Diagram

In Stock
$93.11
Block Assembly#163

Lens assy Diagram

Block assembly

Part #A1813018A
In Stock
$103.67
Barrier Bl#154

Lens assy Diagram

Barrier bl

Part #A1799286A
In Stock
$31.13
Screw#S3

Cabinet parts Diagram

Screw

Part #427357701
This item is not returnable
In Stock
$2.16
Lid Black#4

Cabinet parts Diagram

Lid black

Part #427359211
In Stock
$21.10