GE
Electric Cooktop

Model #ZEU633L1 Official GE cooktop

Here are the diagrams and repair parts for GE ZEU633L1 cooktop, as well as links to manuals and error code tables, if available.

There are a couple of ways to find the part or diagram you need:

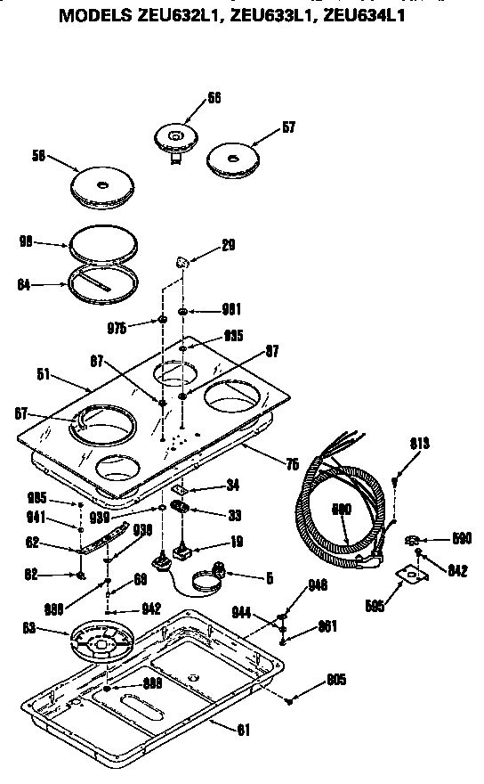
  • Click a diagram to see the parts shown on that diagram.
  • In the search box below, enter all or part of the part number or the part’s name.

Not all parts are shown on the diagrams—those parts are labeled NI, for “not illustrated”.

We encourage you to save the model to your profile, so it’s easy to access parts and manuals for your appliance whenever you log in.

For DIY troubleshooting advice and repair guides, visit our repair help section.

Error Codes

Showing 10 of 62 parts

Range Screw

#813

All parts Diagram

Range screw

Part #WB1X1261
In Stock
$7.69 | 
12% OFF 
Phone Price: $8.69
Condenser Plate

#595

All parts Diagram

Condenser plate

Part #WB2X9867
In Stock
$18.59 | 
10% OFF 
Phone Price: $20.59
Screw

#842

All parts Diagram

Screw

Part #WB1X1297
This item is not returnable
In Stock
$7.09 | 
12% OFF 
Phone Price: $8.09
Indicator Lens

#20

All parts Diagram

Indicator lens

Part #WB36X770

The manufacturer no longer makes this part, and there's no substitute part

Indicator

#33

All parts Diagram

Indicator

Part #WB25X97

The manufacturer no longer makes this part, and there's no substitute part

Burner Box

#61

All parts Diagram

Burner box

Part #WB64M07

The manufacturer no longer makes this part, and there's no substitute part

Gl Mt Asm

#51

All parts Diagram

Gl mt asm

Part #WB57M16

The manufacturer no longer makes this part, and there's no substitute part

Trim Ring

#98

All parts Diagram

Trim ring

Part #WB32X117

The manufacturer no longer makes this part, and there's no substitute part

Clamp

#9

All parts Diagram

Clamp

Part #WB2X9515

The manufacturer no longer makes this part, and there's no substitute part

Element Clamp

#34

All parts Diagram

Element clamp

Part #WB2X9871

The manufacturer no longer makes this part, and there's no substitute part

Symptoms common to all cooktops

Choose a symptom to see related cooktop repairs.

Main causes: lack of electrical power, gas supply failure, bad pressure regulator, control system failure

Repair guides for electric cooktops

How to replace a coil surface element on an electric cooktop

Easily replace a coil surface element in 15 minutes or less by following these step-by-step instructions.

Repair difficulty
Time required
 15 minutes or less
November 20, 2014
By Lyle Weischwill
How to replace the glass top on an electric cooktop

Don't use a cracked or damage glass cooktop—replace it, using these instructions to guide you.

Repair difficulty
Time required
 30 minutes or less
How to replace a radiant element on an electric cooktop

Follow these step-by-step instructions to replace a damaged radiant element on your electric cooktop when the element won’t heat when it receives voltage from the control.

Repair difficulty
Time required
 45 minutes or less

Articles and videos common to all cooktops

Use the advice and tips in these articles and videos to get the most out of your cooktop.

November 12, 2022

5 Holiday Cleaning Tasks Essential to Boosting Your Home’s Image

By Lyle Weischwill

Get tips on completing essential holiday cleaning tasks to brighten your home.

August 19, 2022

Are DIY appliance repairs safe?

By Lyle Weischwill

Find out how to stay safe when repairing your appliances.

July 9, 2021

How to clean stainless steel appliances video

By Lyle Weischwill

Learn how to keep the stainless-steel appliances in your home clean and shining bright.