Panasonic
Countertop Microwave

Model #NN6813A Official Panasonic microwave

Here are the diagrams and repair parts for Panasonic NN6813A microwave, as well as links to manuals and error code tables, if available.

There are a couple of ways to find the part or diagram you need:

  • Click a diagram to see the parts shown on that diagram.
  • In the search box below, enter all or part of the part number or the part’s name.

Not all parts are shown on the diagrams—those parts are labeled NI, for “not illustrated”.

We encourage you to save the model to your profile, so it’s easy to access parts and manuals for your appliance whenever you log in.

For DIY troubleshooting advice and repair guides, visit our repair help section.

Showing 10 of 118 parts

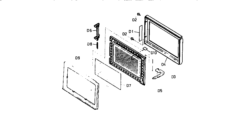
Microwave Latch Body (replaces F30186P40AG)#D6

Door assembly Diagram

Door key

Part #A30184650AP
Replaced by #F30186P40CP
?
Manufacturer substitution
This part replaces A30184650AP. Substitute parts can look different from the original.
This item is not returnable
In Stock
$8.88
Cover#13

Microwave parts Diagram

Cover

Part #B20557050AP
This item is not returnable
In Stock
$5.43
Integrated Circuit

#NI

All parts Diagram

Integrated circuit

Part #AEICC9578633
In Stock
$40.49
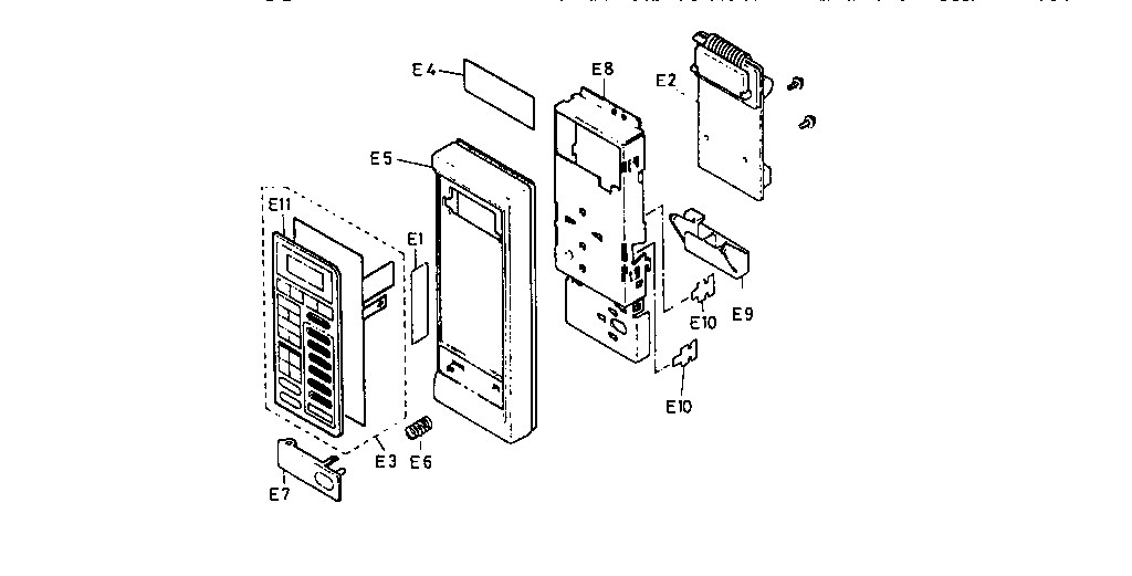
Open Lever#E9

Escutcheon base Diagram

Open lever

Part #A82567010AP
In Stock
$8.14
Open Button#E7

Escutcheon base Diagram

Open button

Part #A80727010AP
This item is not returnable
In Stock
$3.34
Label#1

Microwave parts Diagram

Label

Part #B00066260AP
This item is not returnable
In Stock
$2.99
Connector

#NI

All parts Diagram

Connector

Part #AEEMMF00703W
This item is not returnable
In Stock
$2.99
Motor#47

Microwave parts Diagram

Motor

Part #B63264080AP
In Stock
$29.66
Roller B#18

Microwave parts Diagram

Roller b

Part #A202K4650AP
In Stock
$16.94
Microwave Lamp#33

Microwave parts Diagram

Microwave lamp

Part #A60307050AP
In Stock
$23.18

Articles and videos common to all microwaves

November 12, 2022

5 Holiday Cleaning Tasks Essential to Boosting Your Home’s Image

Lyle Weischwill

Get tips on completing essential holiday cleaning tasks to brighten your home.

August 19, 2022

Are DIY appliance repairs safe?

Lyle Weischwill

Find out how to stay safe when repairing your appliances.

August 5, 2022

Introducing new technical repair content that we’re developing for the Sears Technical Institute

Lyle Weischwill

Learn about Sears Technical Institute and the advanced technical content being developed for aspiring appliance techs.