Universal/Multiflex (Frigidaire)
Chest Freezer

Model #MFC09M3BW4 Official Universal/Multiflex (Frigidaire) freezer - 5995297560

Here are the diagrams and repair parts for Universal/Multiflex (Frigidaire) MFC09M3BW4 freezer - 5995297560, as well as links to manuals and error code tables, if available.

There are a couple of ways to find the part or diagram you need:

  • Click a diagram to see the parts shown on that diagram.
  • In the search box below, enter all or part of the part number or the part’s name.

Not all parts are shown on the diagrams—those parts are labeled NI, for “not illustrated”.

We encourage you to save the model to your profile, so it’s easy to access parts and manuals for your appliance whenever you log in.

For DIY troubleshooting advice and repair guides, visit our repair help section.

Error Codes

Showing 10 of 48 parts

Freezer Door Key#5

Door Diagram

Key

Part #216388700
Replaced by #297147700
?
Manufacturer substitution
This part replaces 216388700. Substitute parts can look different from the original.
BEST SELLER
This item is not returnable
In Stock
$6.36 | 
14% OFF 
Phone Price: $7.36
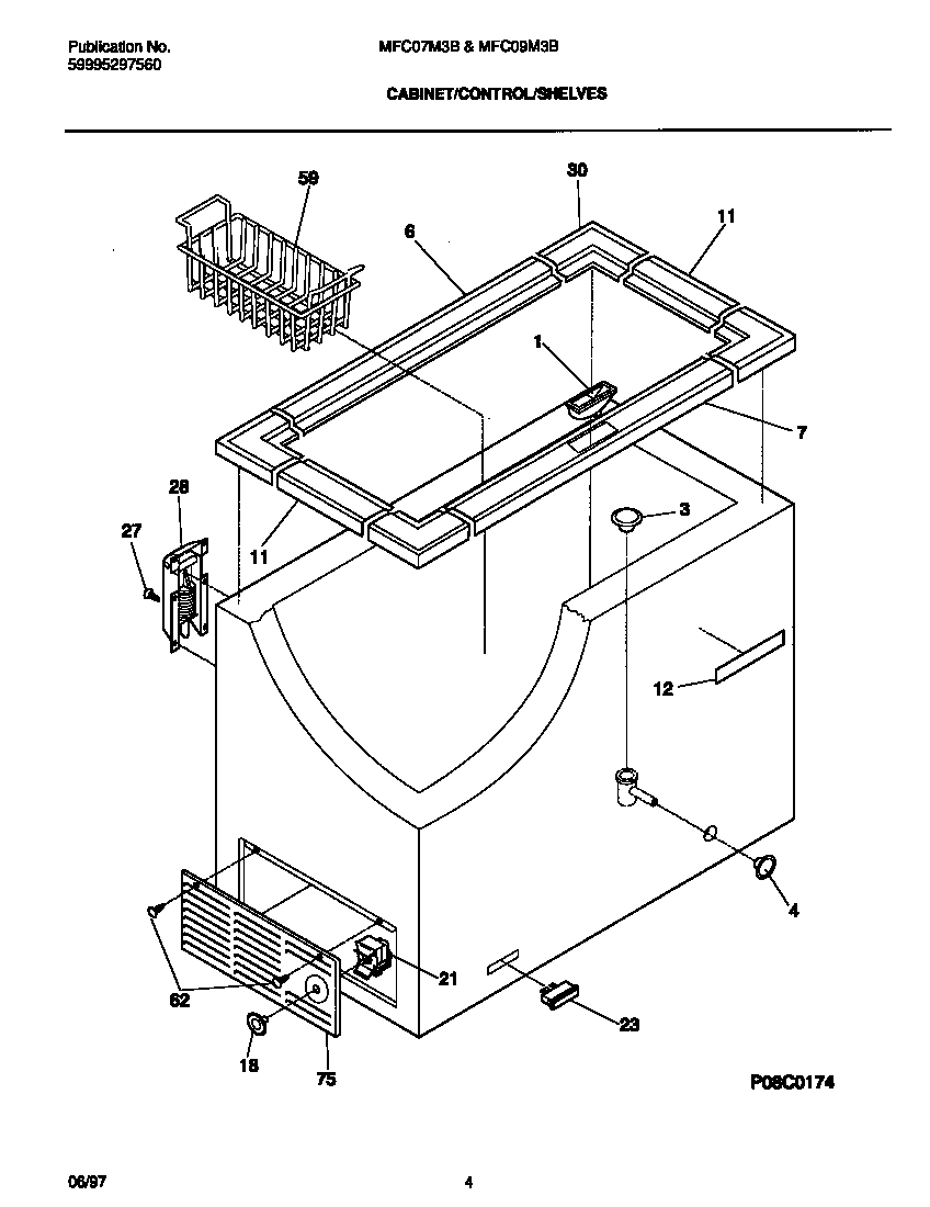
Freezer Basket#59

Cabinet/control/shelves Diagram

Basket

Part #216078600
Replaced by #216848200
?
Manufacturer substitution
This part replaces 216078600. Substitute parts can look different from the original.
BEST SELLER
In Stock
$31.00 | 
14% OFF 
Phone Price: $36.00
Freezer Lid Gasket#1

Door Diagram

Freezer lid gasket

Part #216481001
BEST SELLER
In Stock
$135.88 | 
7% OFF 
Phone Price: $145.88
Freezer Drain Plug#3

Cabinet/control/shelves Diagram

Plug

Part #216297600
Replaced by #216502600
?
Manufacturer substitution
This part replaces 216297600. Substitute parts can look different from the original.
BEST SELLER
This item is not returnable
In Stock
$11.93 | 
14% OFF 
Phone Price: $13.93
Freezer Drain Plug#4

Cabinet/control/shelves Diagram

Plug

Part #216073900
Replaced by #297013600
?
Manufacturer substitution
This part replaces 216073900. Substitute parts can look different from the original.
BEST SELLER
This item is not returnable
In Stock
$9.99 | 
9% OFF 
Phone Price: $10.99
Laundry Appliance Screw, #8-18 x 31/100-in#62

Cabinet/control/shelves Diagram

Grille screw

Part #131168200
Replaced by #131168200
?
Manufacturer substitution
This part replaces 131168200. Substitute parts can look different from the original.
In Stock
$9.78 | 
30% OFF 
MSRP: $14.00
Refrigerator Filter Dryer#4

System Diagram

Filter drier

Part #216099900
Replaced by #5303305677
?
Manufacturer substitution
This part replaces 216099900. Substitute parts can look different from the original.
In Stock
$11.44 | 
30% OFF 
MSRP: $16.34
Refrigerator Door Insulation

#NI

All parts Diagram

In Stock
$212.89 | 
$10.00 OFF 
Phone Price: $222.89
Refrigeration Appliance Compressor Grommet#27

System Diagram

Grommet

Part #5308002681
Replaced by #216498900
?
Manufacturer substitution
This part replaces 5308002681. Substitute parts can look different from the original.
This item is not returnable
In Stock
$13.39 | 
13% OFF 
Phone Price: $15.39
Light#23

Cabinet/control/shelves Diagram

Light

Part #06594648
Replaced by #297181900
?
Manufacturer substitution
This part replaces 06594648. Substitute parts can look different from the original.
This item is not returnable
In Stock
$18.54

Symptoms common to all freestanding freezers

Choose a symptom to see related freezer repairs.

Main causes: burned out light bulb, bad door or lid switch, faulty LED light board, wiring failure, control system failure
Main causes: lack of power, bad compressor, refrigerant leak, bad thermistor, defrost system failure, dirty condenser coils, control failure
Main causes: leaky door or lid gasket, broken defrost heater, bad defrost bi-metal thermostat, defrost control failure, faulty compressor
Main causes: compressor failure, no refrigerant, faulty sensor, control failure, broken defrost heater, bad defrost bi-metal thermostat
Main causes: excessive frost, bad defrost heater, bad defrost bi-metal, control system failure, low refrigerant charge, compressor problems
Main causes: damaged door or lid gasket, cracked cabinet liner, bad defrost bi-metal thermostat, broken defrost heater, bad defrost timer
Main causes: lack of power, control system failure, broken compressor start relay, locked up compressor, compressor motor failure
Main causes: dirty condenser coils, condenser fan failure, dirty bottom front grill, leaky door or lid gasket

Repair guides for chest freezers

February 20, 2015
By Lyle Weischwill
How to replace a freezer compressor start relay

The compressor start relay starts the compressor. If the compressor won’t start, follow these steps to replace a defective compressor start relay.

Repair difficulty
Time required
 15 minutes or less
How to replace a freezer temperature control thermostat

The cold control thermostat regulates the freezer temperature. A defective cold control thermostat can prevent the compressor from cycling on or off. Follow these steps to replace a defective cold control thermostat.

Repair difficulty
Time required
 15 minutes or less
February 1, 2015
By Lyle Weischwill
How to replace a freezer lid gasket

The lid gasket prevents air and moisture from entering the freezer when the lid is closed. Follow these steps to replace a torn or damaged lid gasket.

Repair difficulty
Time required
 30 minutes or less

Articles and videos common to all freestanding freezers

Use the advice and tips in these articles and videos to get the most out of your freezer.

August 5, 2022

Introducing new technical repair content that we’re developing for the Sears Technical Institute

By Lyle Weischwill

Learn about Sears Technical Institute and the advanced technical content being developed for aspiring appliance techs.

April 12, 2021

7 tips to prevent freezer burn

By Lyle Weischwill

See how you can save frozen food from freezer burn.

December 15, 2014

5 tips for finding food in the freezer faster

By Lyle Weischwill

Don't get chapped hands digging through the icy depths. Get organized! Here's how.