KitchenAid
Wall Oven/Microwave Combo

Model #YKEHC309JB5 Official KitchenAid electric built-in double oven

Here are the diagrams and repair parts for KitchenAid YKEHC309JB5 electric built-in double oven, as well as links to manuals and error code tables, if available.

There are a couple of ways to find the part or diagram you need:

  • Click a diagram to see the parts shown on that diagram.
  • In the search box below, enter all or part of the part number or the part’s name.

Not all parts are shown on the diagrams—those parts are labeled NI, for “not illustrated”.

We encourage you to save the model to your profile, so it’s easy to access parts and manuals for your appliance whenever you log in.

For DIY troubleshooting advice and repair guides, visit our repair help section.

Installation guideOwner’s manual

Showing 10 of 282 parts

Appliance Touch-Up Paint, 0.6-oz (White) (replaces 21020, 72017R, 8006, W10813125, Y058028)#NI

Microwave door parts, optional parts Diagram

Appliance touch-up paint

Part #72017
Replaced by #72017
?
Manufacturer substitution
This part replaces 72017. Substitute parts can look different from the original.
BEST SELLER
In Stock
$8.29 | 
11% OFF 
Phone Price: $9.29
Wall Oven Door Inner Glass (replaces 4449259)#3

Oven door parts Diagram

Wall oven door inner glass

Part #4449259
Replaced by #WP4449259
?
Manufacturer substitution
This part replaces 4449259. Substitute parts can look different from the original.
BEST SELLER
In Stock
$85.83 | 
6% OFF 
MSRP: $91.60
Appliance Touch-Up Paint, 0.6-oz (Black) (replaces 20001009, 72032P, 72032R, W10831982)#NI

Microwave door parts, optional parts Diagram

Touch-up paint (black)

Part #72032
Replaced by #72032
?
Manufacturer substitution
This part replaces 72032. Substitute parts can look different from the original.
BEST SELLER
This item is not returnable
In Stock
$4.89 | 
38% OFF 
MSRP: $7.90
Wall Oven Temperature Sensor (replaces W10131825)#29

Oven parts Diagram

Wall oven temperature sensor

Part #4455636
Replaced by #WPW10131825
?
Manufacturer substitution
This part replaces 4455636. Substitute parts can look different from the original.
BEST SELLER
In Stock
$83.05 | 
6% OFF 
Phone Price: $88.05
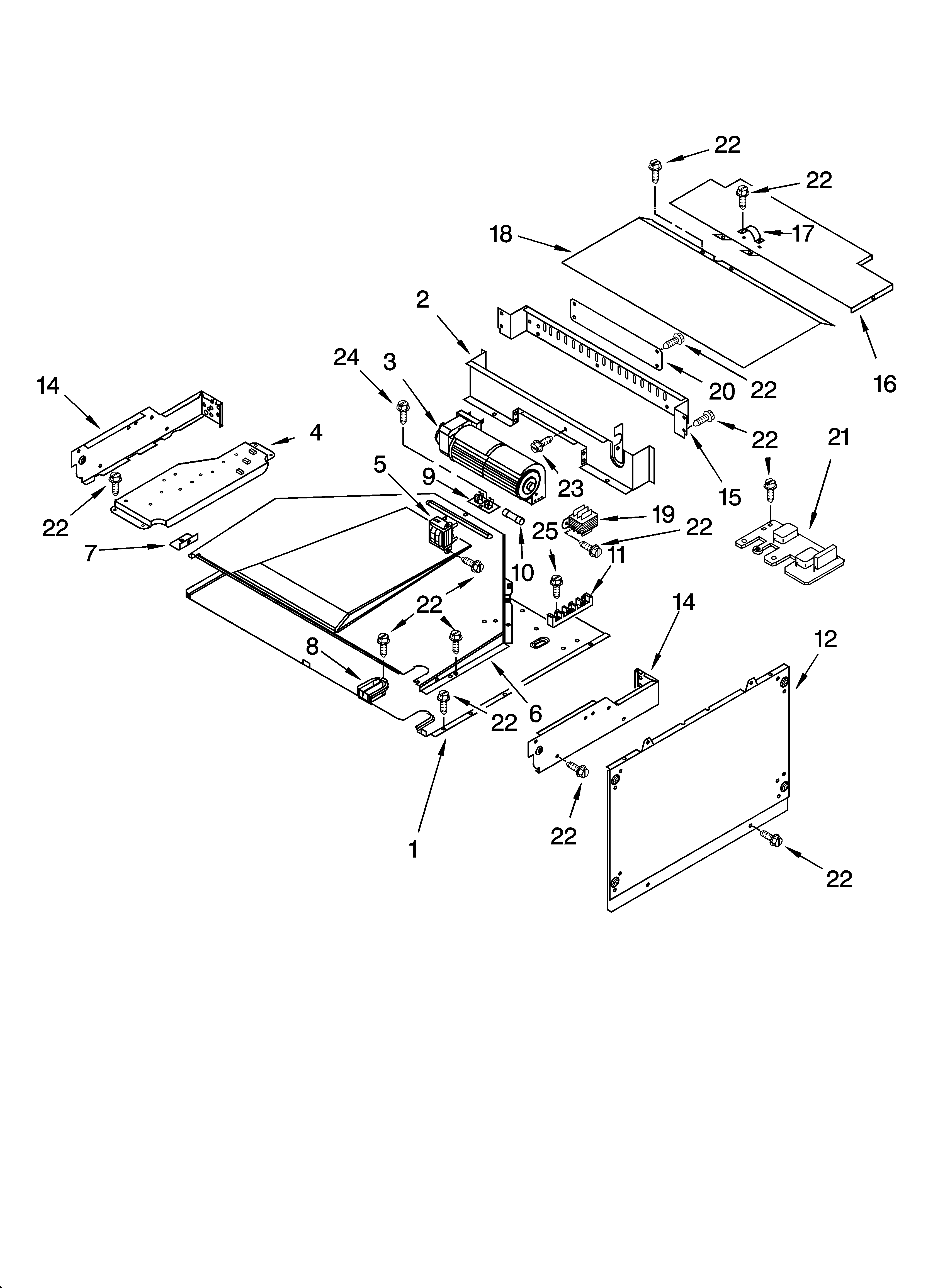
Wall Oven Cooling Fan (replaces W10016550)#16

Latch parts Diagram

Blower

Part #6610168
Replaced by #WPW10016550
?
Manufacturer substitution
This part replaces 6610168. Substitute parts can look different from the original.
BEST SELLER
In Stock
$163.80 | 
9% OFF 
MSRP: $180.00
Range High-Limit Thermostat (replaces 9759243)#37

Oven parts Diagram

Range high-limit thermostat

Part #9759243
Replaced by #WP9759243
?
Manufacturer substitution
This part replaces 9759243. Substitute parts can look different from the original.
BEST SELLER
In Stock
$45.89 | 
18% OFF 
MSRP: $56.00
Wall Oven Door Outer Panel (replaces 4452316, W10176986)#12C

Oven door parts Diagram

Oven door glass (black)

Part #4452316
Replaced by #W10401225
?
Manufacturer substitution
This part replaces 4452316. Substitute parts can look different from the original.
BEST SELLER
In Stock
$238.19 | 
$10.00 OFF 
Phone Price: $248.19
Range Broil Element#1

Internal oven parts Diagram

Broiler element

Part #4456104
Replaced by #WPW10207400
?
Manufacturer substitution
This part replaces 4456104. Substitute parts can look different from the original.
In Stock
$145.13 | 
24% OFF 
MSRP: $190.00
Wall Oven Microwave Convection Cooking Rack#23

Cabinet and stirrer parts Diagram

In Stock
$48.19 | 
33% OFF 
MSRP: $72.00
Microwave Door Torsion Spring (replaces 4452395)#16A

Microwave door parts, optional parts Diagram

Microwave door torsion spring

Part #4452395
Replaced by #WP4452395
?
Manufacturer substitution
This part replaces 4452395. Substitute parts can look different from the original.
In Stock
$58.69 | 
8% OFF 
Phone Price: $63.69