Sears
Toys & Games

Model #37210 Official Sears gym set

Here are the diagrams and repair parts for Sears 37210 gym set, as well as links to manuals and error code tables, if available.

There are a couple of ways to find the part or diagram you need:

  • Click a diagram to see the parts shown on that diagram.
  • In the search box below, enter all or part of the part number or the part’s name.

Not all parts are shown on the diagrams—those parts are labeled NI, for “not illustrated”.

We encourage you to save the model to your profile, so it’s easy to access parts and manuals for your appliance whenever you log in.

For DIY troubleshooting advice and repair guides, visit our repair help section.

Showing 10 of 45 parts

1/4x1-1/2#3

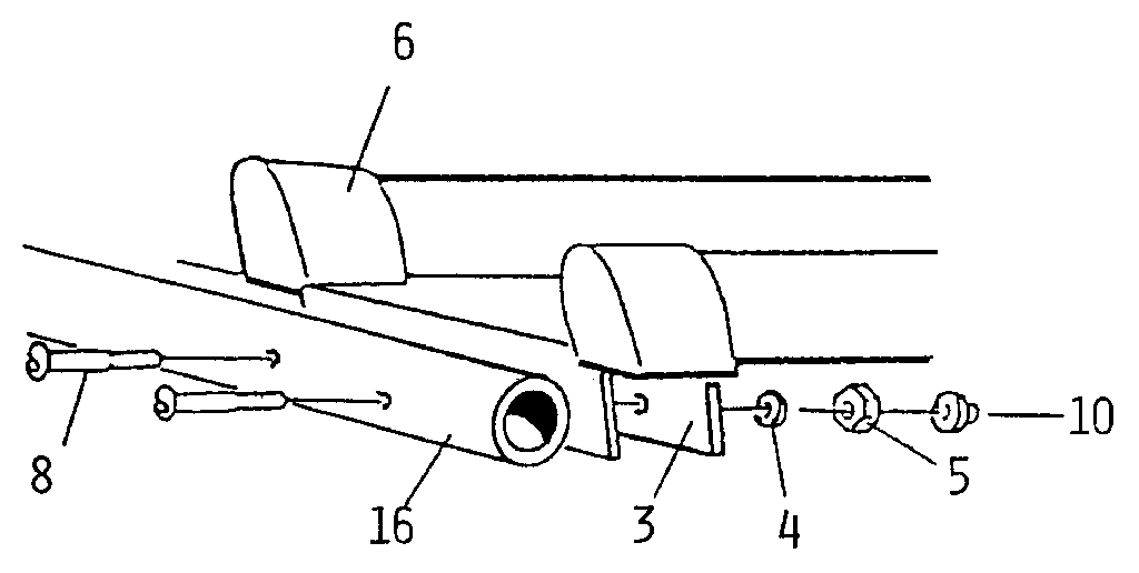
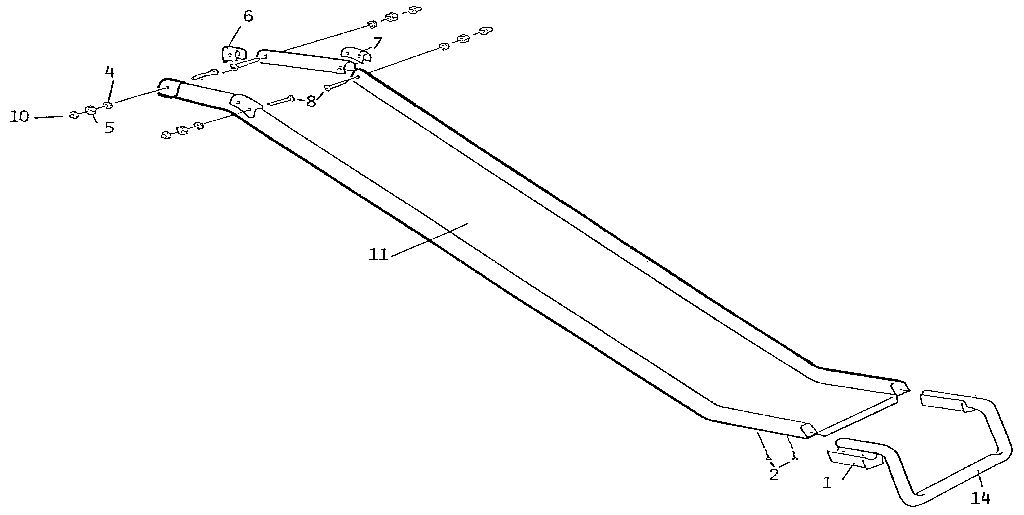
Slide & top bar assembly Diagram

1/4x1-1/2

Part #514P

The manufacturer no longer makes this part, and there's no substitute part

1/4x1-1/4

See All Related Diagrams

1/4x1-1/4

Part #512P

The manufacturer no longer makes this part, and there's no substitute part

1/4x1-3/4

See All Related Diagrams

1/4x1-3/4

Part #1021P

The manufacturer no longer makes this part, and there's no substitute part

1/4 Hex Nu

See All Related Diagrams

1/4 hex nu

Part #1213P

The manufacturer no longer makes this part, and there's no substitute part

1/4 Lock W

See All Related Diagrams

1/4 lock w

Part #710P

The manufacturer no longer makes this part, and there's no substitute part

1/4x2 Bol#36

Ladder hardware assembly Diagram

1/4x2 bol

Part #67P

The manufacturer no longer makes this part, and there's no substitute part

Protectv Cap#11

Slide & top bar assembly Diagram

Protectv cap

Part #1371P

The manufacturer no longer makes this part, and there's no substitute part

Leg#1

Ladder assembly Diagram

Leg

Part #71310M

The manufacturer no longer makes this part, and there's no substitute part

Owner's Manual

#NI

All parts Diagram

Owner's manual

Part #INS37210

The manufacturer no longer makes this part, and there's no substitute part

1/4 Prot C

See All Related Diagrams

1/4 prot c

Part #1340P

The manufacturer no longer makes this part, and there's no substitute part