Craftsman
Walk-Behind Mower

Model #13197774 Official Craftsman 22" self-propelled rotary lawn mower

Here are the diagrams and repair parts for Craftsman 13197774 22" self-propelled rotary lawn mower, as well as links to manuals and error code tables, if available.

There are a couple of ways to find the part or diagram you need:

  • Click a diagram to see the parts shown on that diagram.
  • In the search box below, enter all or part of the part number or the part’s name.

Not all parts are shown on the diagrams—those parts are labeled NI, for “not illustrated”.

We encourage you to save the model to your profile, so it’s easy to access parts and manuals for your appliance whenever you log in.

For DIY troubleshooting advice and repair guides, visit our repair help section.

Showing 10 of 133 parts

Lawn & Garden Equipment Washer#9

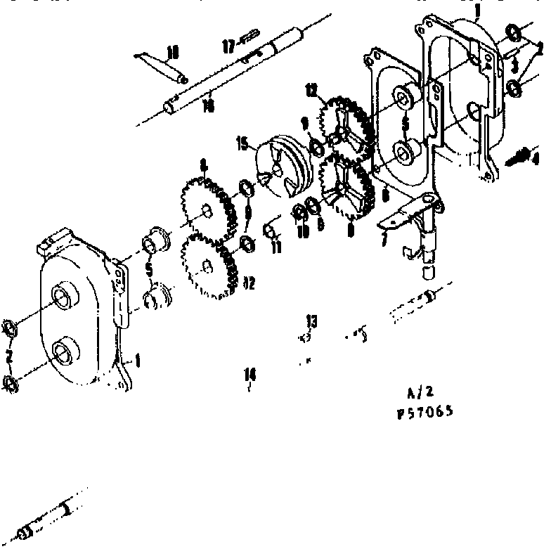
Unit parts Diagram

Lawn & garden equipment washer

Part #57079
BEST SELLER
This item is not returnable
In Stock
$3.09 | 
24% OFF 
Phone Price: $4.09
Lawn Mower Washer

See All Related Diagrams

Washer

Part #52160
Replaced by #596040101
?
Manufacturer substitution
This part replaces 52160. Substitute parts can look different from the original.
BEST SELLER
This item is not returnable
In Stock
$2.16
Keps Nut

See All Related Diagrams

Keps nut

Part #271184

The manufacturer no longer makes this part, and there's no substitute part

Bolt

See All Related Diagrams

Bolt

Part #60854

The manufacturer no longer makes this part, and there's no substitute part

Woodruff Key#13

Unit parts Diagram

Woodruff key

Part #427261

The manufacturer no longer makes this part, and there's no substitute part

E-Ring#10

Unit parts Diagram

E-ring

Part #53753

The manufacturer no longer makes this part, and there's no substitute part

Key#17

Unit parts Diagram

Key

Part #57074

The manufacturer no longer makes this part, and there's no substitute part

Deflector#71

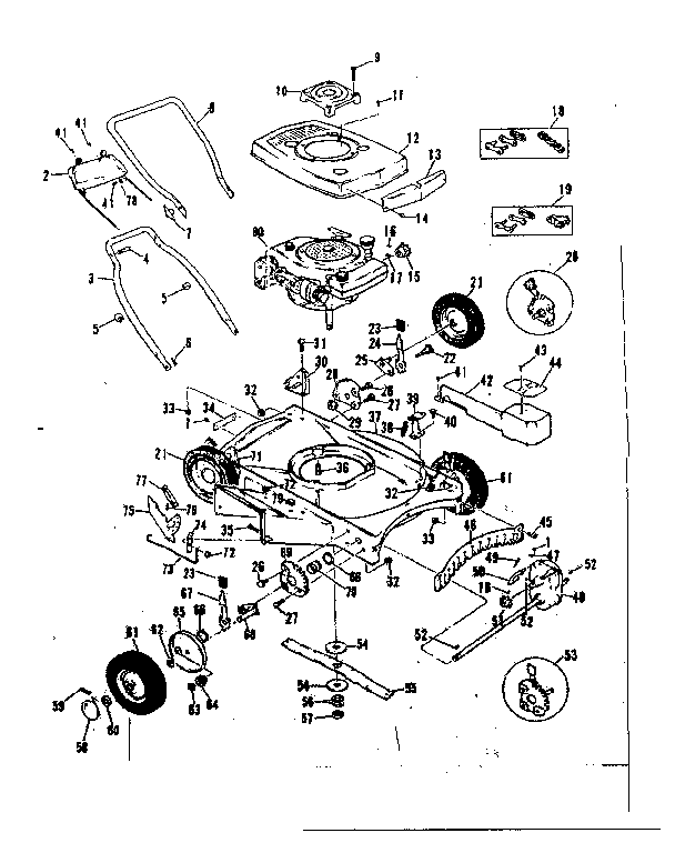
Exploded view-mower deck Diagram

Deflector

Part #60325

The manufacturer no longer makes this part, and there's no substitute part

Detent Spring

See All Related Diagrams

Detent spring

Part #60320

The manufacturer no longer makes this part, and there's no substitute part

SCREW, SELF-TAPPING NO. 10-24 X 7/16

See All Related Diagrams

Screw, self-tapping no. 10-24 x 7/16

Part #39742

The manufacturer no longer makes this part, and there's no substitute part

Articles and videos common to all walk-behind mowers

February 11, 2023

Top 10 electric lawn and garden tools for 2023

By Lyle Weischwill

Learn about the top 10 must-have electric lawn & garden tools for 2023

August 30, 2022

How to enjoy all the online benefits we offer on our Sears PartsDirect website

By Lyle Weischwill

Learn about all the convenient features on our Sears PartsDirect website that make your parts purchases easier.

August 5, 2022

Introducing new technical repair content that we’re developing for the Sears Technical Institute

By Lyle Weischwill

Learn about Sears Technical Institute and the advanced technical content being developed for aspiring appliance techs.