Craftsman
Snowblower

Model #88414 Official Craftsman snow blower

Here are the diagrams and repair parts for Craftsman 88414 snow blower, as well as links to manuals and error code tables, if available.

There are a couple of ways to find the part or diagram you need:

  • Click a diagram to see the parts shown on that diagram.
  • In the search box below, enter all or part of the part number or the part’s name.

Not all parts are shown on the diagrams—those parts are labeled NI, for “not illustrated”.

We encourage you to save the model to your profile, so it’s easy to access parts and manuals for your appliance whenever you log in.

For DIY troubleshooting advice and repair guides, visit our repair help section.

Showing 10 of 134 parts

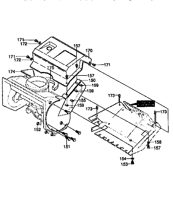
Snowblower Chute and Deflector (replaces 325847MA, 334234MA, 762221MA, 762222)#590

Discharge chute Diagram

Chute

Part #585414
Replaced by #762222MA
?
Manufacturer substitution
This part replaces 585414. Substitute parts can look different from the original.
BEST SELLER
In Stock
$51.87 | 
18% OFF 
MSRP: $63.00
Snowblower Chute and Deflector (replaces 325847MA, 334234MA, 762221MA, 762222)#600

Discharge chute Diagram

Chute deflector

Part #307665
Replaced by #762222MA
?
Manufacturer substitution
This part replaces 307665. Substitute parts can look different from the original.
BEST SELLER
In Stock
$51.87 | 
18% OFF 
MSRP: $63.00
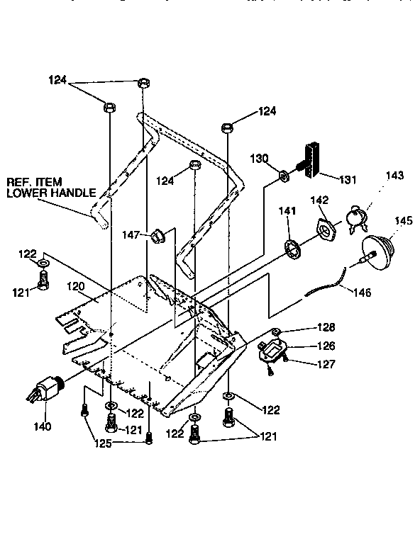
Snowblower Drive Cable, Lower#740

Handle Diagram

Cable

Part #313449
Replaced by #1501122MA
?
Manufacturer substitution
This part replaces 313449. Substitute parts can look different from the original.
BEST SELLER
In Stock
$8.46 | 
11% OFF 
Phone Price: $9.46
Snowblower Nut

See All Related Diagrams

Lock nut

Part #1502
Replaced by #703251
?
Manufacturer substitution
This part replaces 1502. Substitute parts can look different from the original.
BEST SELLER
In Stock
$8.07 | 
11% OFF 
Phone Price: $9.07
Snowblower Drive Cable Spring Boot#743

Handle Diagram

Boot spring

Part #308146
Replaced by #308146MA
?
Manufacturer substitution
This part replaces 308146. Substitute parts can look different from the original.
BEST SELLER
In Stock
$10.97 | 
15% OFF 
Phone Price: $12.97
Snowblower Bolt#602

Discharge chute Diagram

Bolt

Part #302843
Replaced by #704210
?
Manufacturer substitution
This part replaces 302843. Substitute parts can look different from the original.
BEST SELLER
In Stock
$7.69 | 
12% OFF 
Phone Price: $8.69
Snowblower Electric Starter Power Cord (replaces 56023)#930

For model f2034-010 only Diagram

Extension cord

Part #56023
Replaced by #56023MA
?
Manufacturer substitution
This part replaces 56023. Substitute parts can look different from the original.
In Stock
$37.83 | 
12% OFF 
Phone Price: $42.83
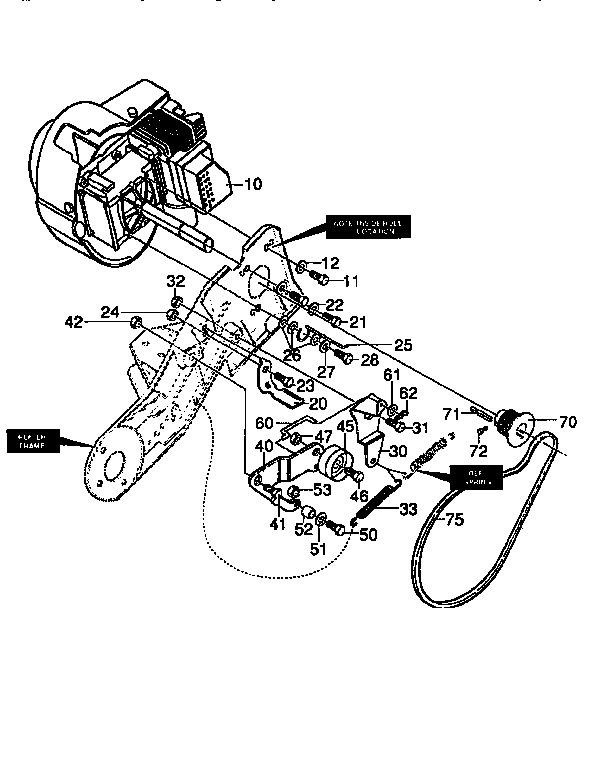
Snowblower Auger Drive Belt, 9/16 x 35-7/8-in#75

Engine and drive Diagram

V-belt

Part #319596
Replaced by #319596MA
?
Manufacturer substitution
This part replaces 319596. Substitute parts can look different from the original.

Get free shipping with Automatic Reorder

In Stock
$31.01 | 
14% OFF 
Phone Price: $36.01
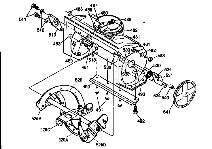
Snowblower Flange Bearing#510

Auger housing Diagram

Bearing assembly

Part #54837
Replaced by #577023MA
?
Manufacturer substitution
This part replaces 54837. Substitute parts can look different from the original.
In Stock
$9.59 | 
9% OFF 
Phone Price: $10.59
Snowblower Auger#520A

Auger housing Diagram

Blade

Part #302565
Replaced by #302565MA
?
Manufacturer substitution
This part replaces 302565. Substitute parts can look different from the original.

Get free shipping with Automatic Reorder

In Stock
$26.94 | 
16% OFF 
MSRP: $32.00

Articles and videos common to all snowblowers

December 12, 2022

How to adjust the snowblower auger control

By Lyle Weischwill

This video shows how to adjust a snowblower's auger control.

December 8, 2022

How to lubricate a snowblower drive hex shaft video

By Lyle Weischwill

This short video shows how to lubricate a snowblower drive hex shaft.

November 17, 2022

What are the major parts of a snowblower?

By Lyle Weischwill

Learn about major functional parts of your snowblower and when to replace them.