Ramsey
Automotive

Model #RE10000R Official Ramsey winch

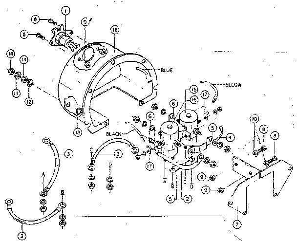
Here are the diagrams and repair parts for Ramsey RE10000R winch, as well as links to manuals and error code tables, if available.

There are a couple of ways to find the part or diagram you need:

  • Click a diagram to see the parts shown on that diagram.
  • In the search box below, enter all or part of the part number or the part’s name.

Not all parts are shown on the diagrams—those parts are labeled NI, for “not illustrated”.

We encourage you to save the model to your profile, so it’s easy to access parts and manuals for your appliance whenever you log in.

For DIY troubleshooting advice and repair guides, visit our repair help section.

Showing 10 of 108 parts

Snap Ring#66

Unit Diagram

Snap ring

Part #490003

The manufacturer no longer makes this part, and there's no substitute part

Roler Fr#6A

Roller type fairlead Diagram

Roler fr

Part #439001

The manufacturer no longer makes this part, and there's no substitute part

Gasket#45

Unit Diagram

Gasket

Part #442001

The manufacturer no longer makes this part, and there's no substitute part

Grs Fitting#50

Unit Diagram

Grs fitting

Part #456001

The manufacturer no longer makes this part, and there's no substitute part

Cable Drum#10

Unit Diagram

Cable drum

Part #332136

The manufacturer no longer makes this part, and there's no substitute part

Thrust Washer#69

Unit Diagram

Thrust washer

Part #518002

The manufacturer no longer makes this part, and there's no substitute part

Pinion Gear#14

Unit Diagram

Pinion gear

Part #334129

The manufacturer no longer makes this part, and there's no substitute part

SOLENOID ASS'Y. (24V)#3

Unit Diagram

Solenoid ass'y. (24v)

Part #278028

The manufacturer no longer makes this part, and there's no substitute part

Oil Seal#63

Unit Diagram

Oil seal

Part #486009

The manufacturer no longer makes this part, and there's no substitute part

7902#3B

Roller type fairlead Diagram

7902

Part #354033

The manufacturer no longer makes this part, and there's no substitute part