ICP
Central Air Conditioner

Model #NCHAA47AH01 Official ICP heat pump

Here are the diagrams and repair parts for ICP NCHAA47AH01 heat pump, as well as links to manuals and error code tables, if available.

There are a couple of ways to find the part or diagram you need:

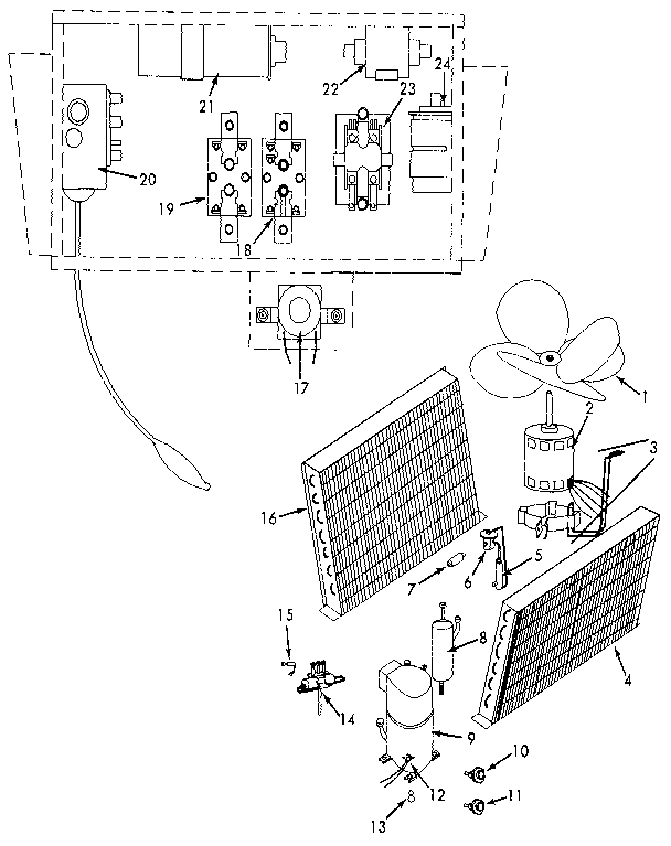
  • Click a diagram to see the parts shown on that diagram.
  • In the search box below, enter all or part of the part number or the part’s name.

Not all parts are shown on the diagrams—those parts are labeled NI, for “not illustrated”.

We encourage you to save the model to your profile, so it’s easy to access parts and manuals for your appliance whenever you log in.

For DIY troubleshooting advice and repair guides, visit our repair help section.

Showing 10 of 40 parts

Motor Run Capacitor#24

Functional replacement parts Diagram

Capacitor

Part #1056313
Replaced by #12005
?
Manufacturer substitution
This part replaces 1056313. Substitute parts can look different from the original.
In Stock
$16.12 | 
11% OFF 
Phone Price: $18.12
Cover#11

Non-functional replacement parts Diagram

Cover

Part #1056015
In Stock
$22.49
Plate Couple#9

Non-functional replacement parts Diagram

Plate couple

Part #1051780
This item is not returnable
In Stock
$5.99
Panel End#10

Non-functional replacement parts Diagram

Panel end

Part #1052065
In Stock
$39.49
Half Couple#10

Functional replacement parts Diagram

Half couple

Part #713238
In Stock
$26.74
Control Box#13

Non-functional replacement parts Diagram

Control box

Part #1052041
In Stock
$50.49
Relay#18

Functional replacement parts Diagram

Relay

Part #604199
In Stock
$23.95
Dryer Filter#7

Functional replacement parts Diagram

Dryer filter

Part #713894
In Stock
$39.57
Panel#4

Non-functional replacement parts Diagram

Panel

Part #706510
In Stock
$16.99
Volt Cover#6

Non-functional replacement parts Diagram

Volt cover

Part #708683
In Stock
$23.99

Articles and videos common to all central air conditioners

October 24, 2022

Easy DIY appliance repairs that anyone can do

Lyle Weischwill

Get advice on simple DIY fixes for appliances that you can safely do on your own.

August 5, 2022

Introducing new technical repair content that we’re developing for the Sears Technical Institute

Lyle Weischwill

Learn about Sears Technical Institute and the advanced technical content being developed for aspiring appliance techs.

June 29, 2022

Top questions about Sears and Sears PartsDirect

Lyle Weischwill

Get answers to frequently asked questions about Sears and Sears PartsDirect.