KitchenAid
Built-In Microwave

Model #KBMC147HSS0 Official KitchenAid built-in microwave

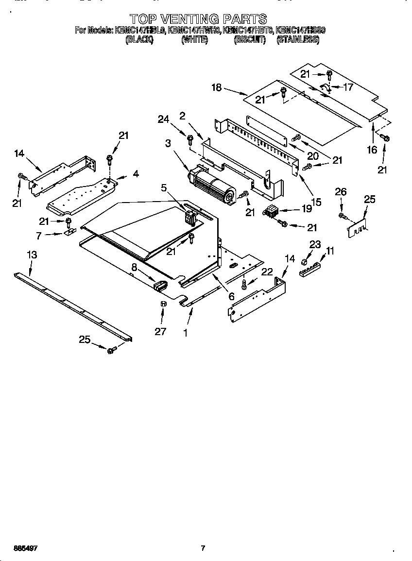
Here are the diagrams and repair parts for KitchenAid KBMC147HSS0 built-in microwave, as well as links to manuals and error code tables, if available.

There are a couple of ways to find the part or diagram you need:

  • Click a diagram to see the parts shown on that diagram.
  • In the search box below, enter all or part of the part number or the part’s name.

Not all parts are shown on the diagrams—those parts are labeled NI, for “not illustrated”.

We encourage you to save the model to your profile, so it’s easy to access parts and manuals for your appliance whenever you log in.

For DIY troubleshooting advice and repair guides, visit our repair help section.

Installation guideOwner’s manual

Showing 10 of 185 parts

Appliance Spray Paint (White) (replaces 094566-64, 206923, 2780-0001, 4395978, 5303203125, 66208, 788343, 799343, 799433, 99343, A0050702, F94566-010, Y057937, Y350930)

#NI

All parts Diagram

Spray w

Part #350930
Replaced by #350930
?
Manufacturer substitution
This part replaces 350930. Substitute parts can look different from the original.
BEST SELLER
This item is not returnable
In Stock
$15.69 | 
11% OFF 
Phone Price: $17.69
Microwave Glass Turntable Tray#72

Cabinet and stirrer Diagram

Cook tray

Part #4375405
Replaced by #W10818723
?
Manufacturer substitution
This part replaces 4375405. Substitute parts can look different from the original.
BEST SELLER
In Stock
$112.09 | 
8% OFF 
Phone Price: $122.09
Microwave Door Interlock Switch#73

Cabinet and stirrer Diagram

Microwave door interlock switch

Part #4375346
Replaced by #W10211972
?
Manufacturer substitution
This part replaces 4375346. Substitute parts can look different from the original.
BEST SELLER
In Stock
$25.91 | 
19% OFF 
MSRP: $32.00
Microwave Light Bulb#75

Cabinet and stirrer Diagram

Oven baseless lamp

Part #4375348
Replaced by #WPW10440740
?
Manufacturer substitution
This part replaces 4375348. Substitute parts can look different from the original.
BEST SELLER
In Stock
$22.69 | 
18% OFF 
Phone Price: $27.69
Microwave Door Torsion Spring#16

Microwave door Diagram

Microwave door torsion spring

Part #4452395
Replaced by #WP4452395
?
Manufacturer substitution
This part replaces 4452395. Substitute parts can look different from the original.
In Stock
$58.69 | 
8% OFF 
Phone Price: $63.69
Appliance Spray Paint (Black)

#NI

All parts Diagram

Spray bl

Part #830864
Replaced by #285006
?
Manufacturer substitution
This part replaces 830864. Substitute parts can look different from the original.
This item is not returnable
In Stock
$28.89 | 
15% OFF 
Phone Price: $33.89
Microwave Crisping Tray Handle#22

Cabinet and stirrer Diagram

Pan handle

Part #4393900
Replaced by #W10851464
?
Manufacturer substitution
This part replaces 4393900. Substitute parts can look different from the original.
This item is not returnable
In Stock
$15.59 | 
11% OFF 
Phone Price: $17.59
Wall Oven Microwave Thermostat#63

Cabinet and stirrer Diagram

In Stock
$26.59 | 
16% OFF 
Phone Price: $31.59
Range Screw#21B

Microwave door Diagram

Range screw

Part #WPW10132940
This item is not returnable
In Stock
$5.49 | 
15% OFF 
Phone Price: $6.49
Appliance Silicone Sealant

#NI

All parts Diagram

Adhesive

Part #482338
Replaced by #WP482338
?
Manufacturer substitution
This part replaces 482338. Substitute parts can look different from the original.
In Stock
$31.27 | 
20% OFF 
MSRP: $39.00

Articles and videos common to all microwaves

November 12, 2022

5 Holiday Cleaning Tasks Essential to Boosting Your Home’s Image

By Lyle Weischwill

Get tips on completing essential holiday cleaning tasks to brighten your home.

August 19, 2022

Are DIY appliance repairs safe?

By Lyle Weischwill

Find out how to stay safe when repairing your appliances.

August 5, 2022

Introducing new technical repair content that we’re developing for the Sears Technical Institute

By Lyle Weischwill

Learn about Sears Technical Institute and the advanced technical content being developed for aspiring appliance techs.