Craftsman
Water Pump

Model #39028471 Official Craftsman standard submersible pump

Here are the diagrams and repair parts for Craftsman 39028471 standard submersible pump, as well as links to manuals and error code tables, if available.

There are a couple of ways to find the part or diagram you need:

  • Click a diagram to see the parts shown on that diagram.
  • In the search box below, enter all or part of the part number or the part’s name.

Not all parts are shown on the diagrams—those parts are labeled NI, for “not illustrated”.

We encourage you to save the model to your profile, so it’s easy to access parts and manuals for your appliance whenever you log in.

For DIY troubleshooting advice and repair guides, visit our repair help section.

Showing 10 of 40 parts

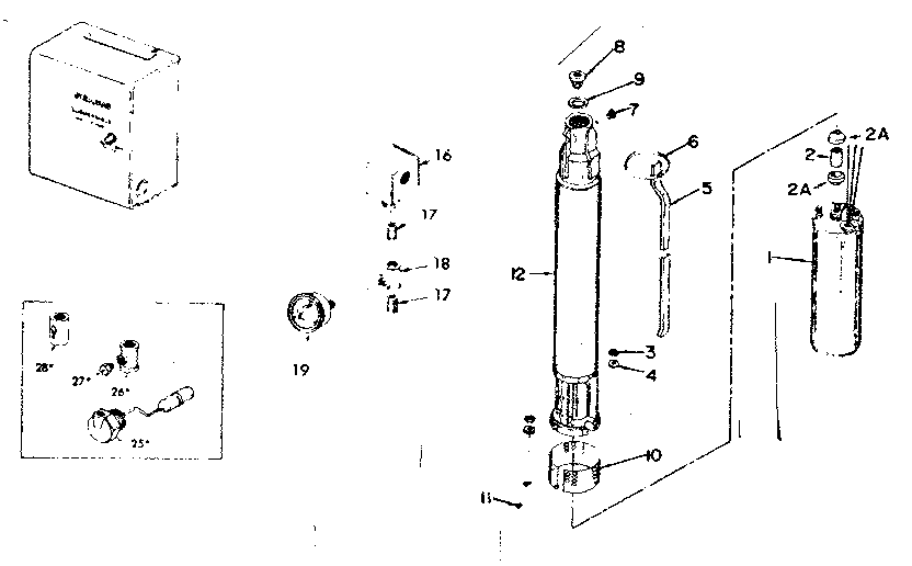
Pump Pressure Gauge#19

Replacement parts Diagram

Gauge

Part #U239-2
Replaced by #TC104-P2
?
Manufacturer substitution
This part replaces U239-2. Substitute parts can look different from the original.
In Stock
$27.99 | 
15% OFF 
Phone Price: $32.99
Screen#10B

Replacement parts Diagram

Screen

Part #P8-20
This item is not returnable
In Stock
$5.19
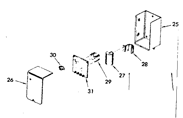
Control#25

Replacement parts Diagram

Control

Part #E238-2
In Stock
$68.79
Pipe Nipple#17

Replacement parts Diagram

Pipe nipple

Part #U37-17GP
This item is not returnable
In Stock
$6.98
Capacitor

See All Related Diagrams

Capacitor

Part #U18-812

The manufacturer no longer makes this part, and there's no substitute part

Lock Washer#4

Replacement parts Diagram

Lock washer

Part #U43-11SS

The manufacturer no longer makes this part, and there's no substitute part

Jet Pump Air Volume Control Assembly

#NI

All parts Diagram

Control

Part #42-2770
Replaced by #18395
?
Manufacturer substitution
This part replaces 42-2770. Substitute parts can look different from the original.
Back Order
$28.89 | 
15% OFF 
Phone Price: $33.89
Motor Kit#3

Replacement parts Diagram

Nut

Part #U36-41SS
Replaced by #B76087
?
Manufacturer substitution
This part replaces U36-41SS. Substitute parts can look different from the original.
In Stock
$53.74
Guarantee

#NI

All parts Diagram

Guarantee

Part #F642-8771A

The manufacturer no longer makes this part, and there's no substitute part

Slinger#2A

Replacement parts Diagram

Slinger

Part #P69-1

The manufacturer no longer makes this part, and there's no substitute part