Sears
Toys & Games

Model #512720922 Official Sears gym set

Here are the diagrams and repair parts for Sears 512720922 gym set, as well as links to manuals and error code tables, if available.

There are a couple of ways to find the part or diagram you need:

  • Click a diagram to see the parts shown on that diagram.
  • In the search box below, enter all or part of the part number or the part’s name.

Not all parts are shown on the diagrams—those parts are labeled NI, for “not illustrated”.

We encourage you to save the model to your profile, so it’s easy to access parts and manuals for your appliance whenever you log in.

For DIY troubleshooting advice and repair guides, visit our repair help section.

Showing 10 of 97 parts

Screw#13

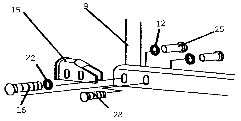
Climber Diagram

Screw

Part #416-1134C

The manufacturer no longer makes this part, and there's no substitute part

Bolt#11

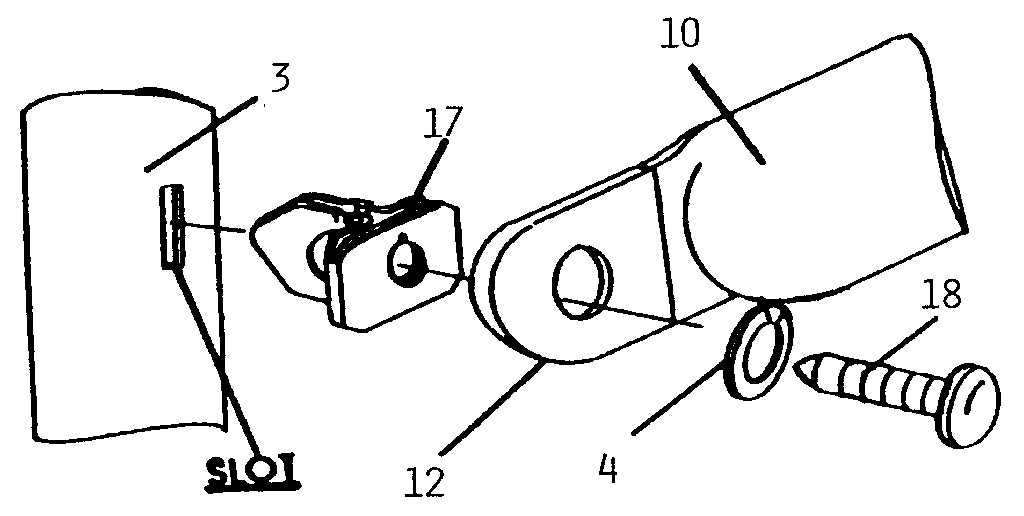
Lawn swing Diagram

Bolt

Part #416-908C

The manufacturer no longer makes this part, and there's no substitute part

Screw Mtl#18

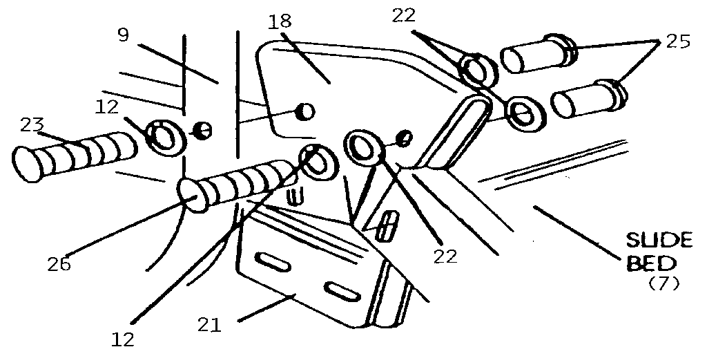
Turn bar Diagram

Screw mtl

Part #416-4072C

The manufacturer no longer makes this part, and there's no substitute part

Hex Nut#16

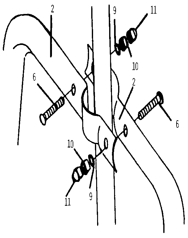
Swing hanger Diagram

Hex nut

Part #216-2C

The manufacturer no longer makes this part, and there's no substitute part

Screw#8

Merry go round Diagram

Screw

Part #416-940C

The manufacturer no longer makes this part, and there's no substitute part

Lock Washer

See All Related Diagrams

Lock washer

Part #419-103C

The manufacturer no longer makes this part, and there's no substitute part

Hex Nut#12

Merry go round floor board Diagram

Hex nut

Part #416-2C

The manufacturer no longer makes this part, and there's no substitute part

Hex Nut

See All Related Diagrams

Hex nut

Part #416-103C

The manufacturer no longer makes this part, and there's no substitute part

Rh Bolt

See All Related Diagrams

Rh bolt

Part #416-924C

The manufacturer no longer makes this part, and there's no substitute part

Bolt Hx Hd

See All Related Diagrams

Bolt hx hd

Part #416-3777C

The manufacturer no longer makes this part, and there's no substitute part