Sony
Digital Camcorder

Model #DCR-SR67 Official Sony digital camcorder

Here are the diagrams and repair parts for Sony DCR-SR67 digital camcorder, as well as links to manuals and error code tables, if available.

There are a couple of ways to find the part or diagram you need:

  • Click a diagram to see the parts shown on that diagram.
  • In the search box below, enter all or part of the part number or the part’s name.

Not all parts are shown on the diagrams—those parts are labeled NI, for “not illustrated”.

We encourage you to save the model to your profile, so it’s easy to access parts and manuals for your appliance whenever you log in.

For DIY troubleshooting advice and repair guides, visit our repair help section.

Owner’s manual

Showing 10 of 78 parts

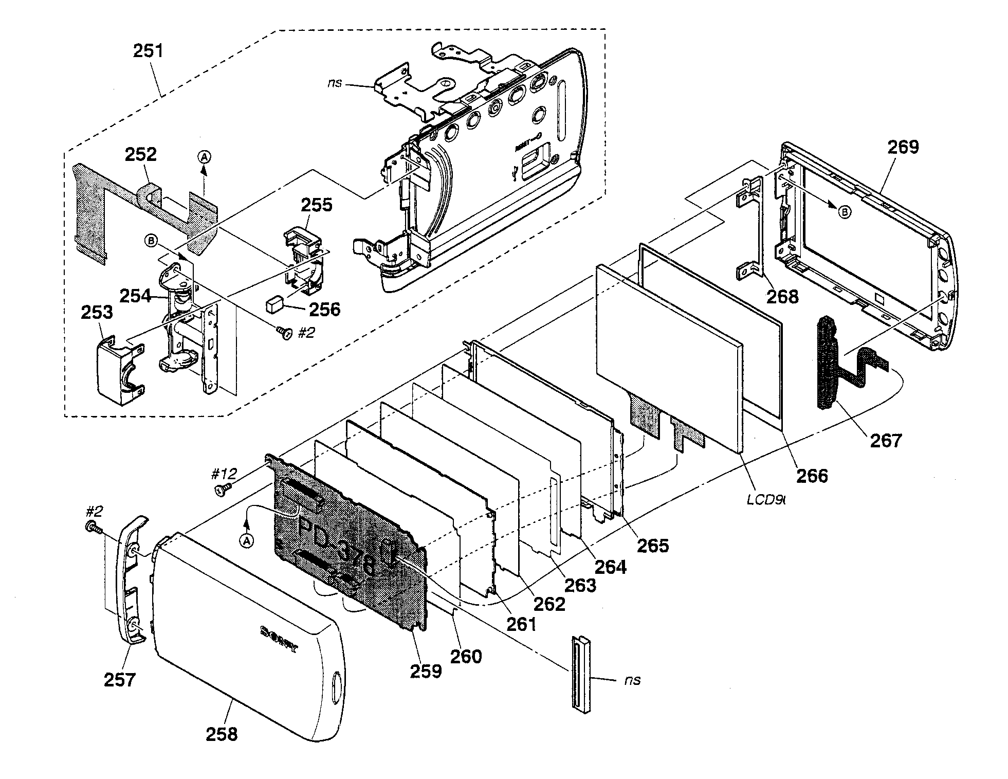
Cabinet#258

Lcd assy Diagram

Cabinet

Part #A1643650A

The manufacturer no longer makes this part, and there's no substitute part

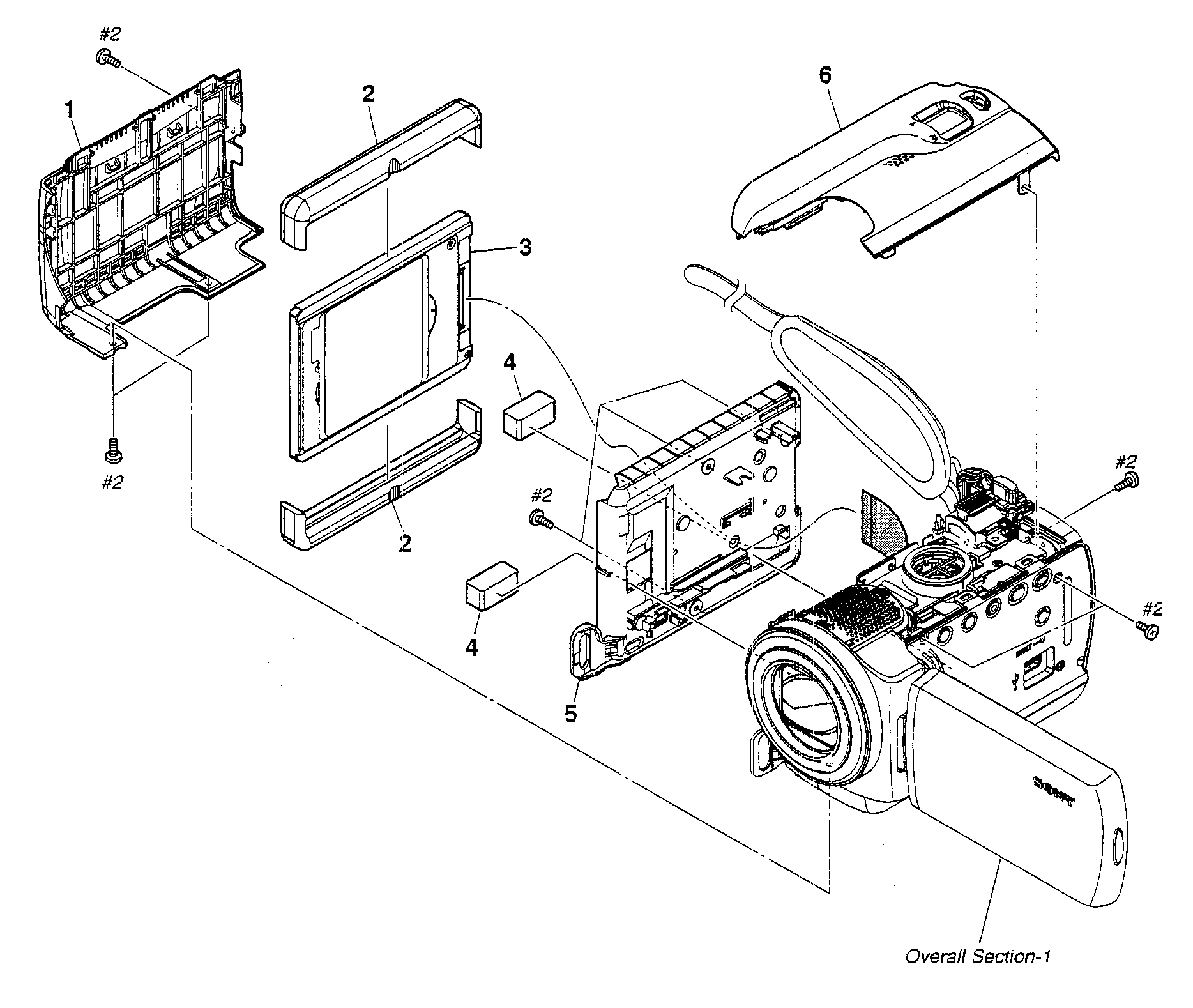
Battery#NI

Hdd assy Diagram

Battery

Part #NPFH70

The manufacturer no longer makes this part, and there's no substitute part

Battery,li#BT58

Right cabinet Diagram

Battery,li

Part #175613412

The manufacturer no longer makes this part, and there's no substitute part

Screw(red)

See All Related Diagrams

Screw(red)

Part #266040101

The manufacturer no longer makes this part, and there's no substitute part

Harness#210

Right cabinet Diagram

Harness

Part #196496611

The manufacturer no longer makes this part, and there's no substitute part

Sensor#NI

Hdd assy Diagram

Sensor

Part #148711811

The manufacturer no longer makes this part, and there's no substitute part

Tp Block#LCD9

Lcd assy Diagram

Tp block

Part #A1363617A

The manufacturer no longer makes this part, and there's no substitute part

A/V Cable#NI

Hdd assy Diagram

A/v cable

Part #182315661

The manufacturer no longer makes this part, and there's no substitute part

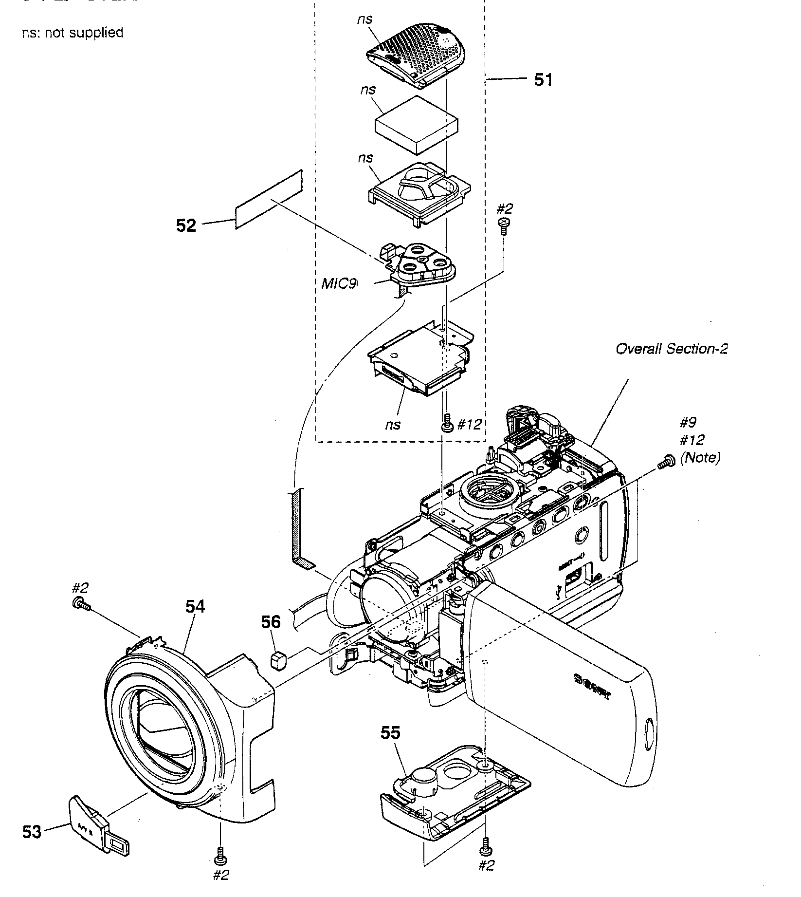
Screw#158

Lens assy Diagram

Screw

Part #328364301

The manufacturer no longer makes this part, and there's no substitute part

Screw

See All Related Diagrams

Screw

Part #263556231

The manufacturer no longer makes this part, and there's no substitute part