Sears
Camping

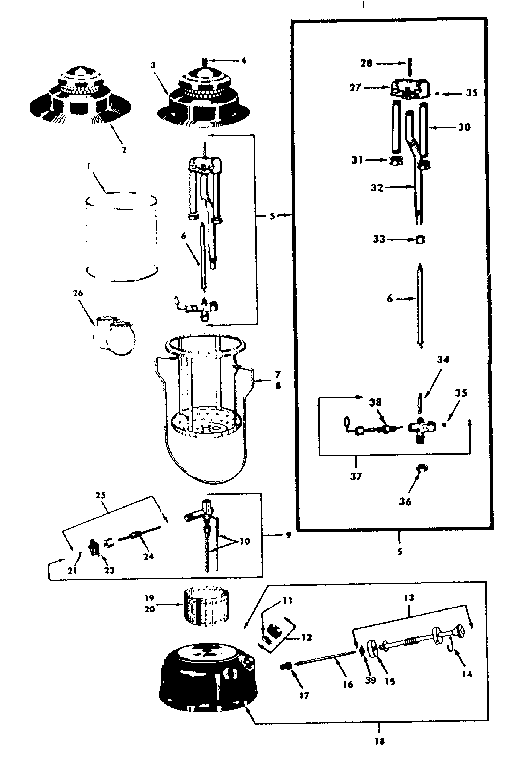
Model #47672213 Official Sears lantern

Here are the diagrams and repair parts for Sears 47672213 lantern, as well as links to manuals and error code tables, if available.

There are a couple of ways to find the part or diagram you need:

  • Click a diagram to see the parts shown on that diagram.
  • In the search box below, enter all or part of the part number or the part’s name.

Not all parts are shown on the diagrams—those parts are labeled NI, for “not illustrated”.

We encourage you to save the model to your profile, so it’s easy to access parts and manuals for your appliance whenever you log in.

For DIY troubleshooting advice and repair guides, visit our repair help section.

Showing 10 of 38 parts

Ecent Block#34

Unit parts Diagram

Ecent block

Part #118A3041

The manufacturer no longer makes this part, and there's no substitute part

Vent Rod#28

Unit parts Diagram

Vent rod

Part #220B340

The manufacturer no longer makes this part, and there's no substitute part

Gas Lantern Pump Cup Retainer#39

Unit parts Diagram

Gas lantern pump cup retainer

Part #242-1071

The manufacturer no longer makes this part, and there's no substitute part

Base Rest#20

Unit parts Diagram

Base rest

Part #261A4291

The manufacturer no longer makes this part, and there's no substitute part

Stem Assem#25

Unit parts Diagram

Stem assem

Part #260-6531

The manufacturer no longer makes this part, and there's no substitute part

Packing#24

Unit parts Diagram

Packing

Part #118B6201

The manufacturer no longer makes this part, and there's no substitute part

Fount Compl#18

Unit parts Diagram

Fount compl

Part #260-1651

The manufacturer no longer makes this part, and there's no substitute part

Screw#21

Unit parts Diagram

Screw

Part #425-175

The manufacturer no longer makes this part, and there's no substitute part

Plunger#13

Unit parts Diagram

Plunger

Part #242D5201

The manufacturer no longer makes this part, and there's no substitute part

Cap/screen#31

Unit parts Diagram

Cap/screen

Part #112-3231

The manufacturer no longer makes this part, and there's no substitute part