Craftsman
Tool Chest

Model #706657626 Official Craftsman tool box

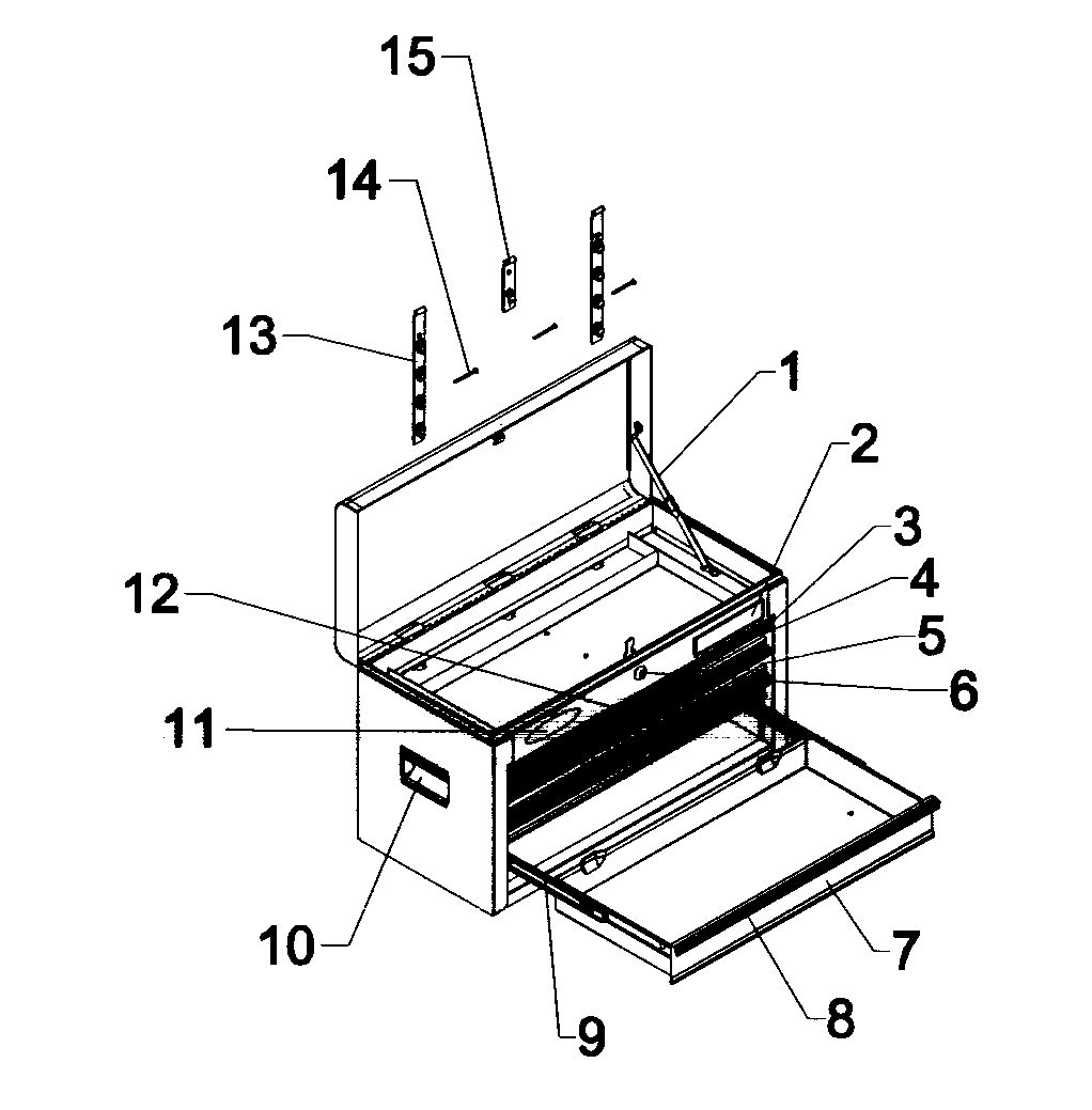
Here are the diagrams and repair parts for Craftsman 706657626 tool box, as well as links to manuals and error code tables, if available.

There are a couple of ways to find the part or diagram you need:

  • Click a diagram to see the parts shown on that diagram.
  • In the search box below, enter all or part of the part number or the part’s name.

Not all parts are shown on the diagrams—those parts are labeled NI, for “not illustrated”.

We encourage you to save the model to your profile, so it’s easy to access parts and manuals for your appliance whenever you log in.

For DIY troubleshooting advice and repair guides, visit our repair help section.

Showing 10 of 16 parts

Tool Chest Handle#10

Tool box Diagram

Tool chest handle

Part #M12833

The manufacturer no longer makes this part, and there's no substitute part

Tool Cabinet Drawer Trim#8

Tool box Diagram

Tool cabinet drawer trim

Part #M12842

The manufacturer no longer makes this part, and there's no substitute part

Label#11

Tool box Diagram

Label

Part #M16303

The manufacturer no longer makes this part, and there's no substitute part

Tool Chest Door Hinge Pin#14

Tool box Diagram

Tool chest door hinge pin

Part #M1495

The manufacturer no longer makes this part, and there's no substitute part

Drawer, 3-in#7

Tool box Diagram

Drawer, 3-in

Part #15395A9-ERED

The manufacturer no longer makes this part, and there's no substitute part

Drawer Trim#3

Tool box Diagram

Drawer trim

Part #M12842A3

The manufacturer no longer makes this part, and there's no substitute part

Tool Chest Lock Bar#13

Tool box Diagram

Tool chest lock bar

Part #16514-ERED

The manufacturer no longer makes this part, and there's no substitute part

2"drawer/red#5

Tool box Diagram

2"drawer/red

Part #15395A10-ERED

The manufacturer no longer makes this part, and there's no substitute part

Tool Chest Lock Bar#15

Tool box Diagram

Tool chest lock bar

Part #16948-ERED

The manufacturer no longer makes this part, and there's no substitute part

Cover Stop#1

Tool box Diagram

Cover stop

Part #27275

The manufacturer no longer makes this part, and there's no substitute part