Canon
Digital Camcorder

Model #ELURA70A Official Canon digital video camera

Here are the diagrams and repair parts for Canon ELURA70A digital video camera, as well as links to manuals and error code tables, if available.

There are a couple of ways to find the part or diagram you need:

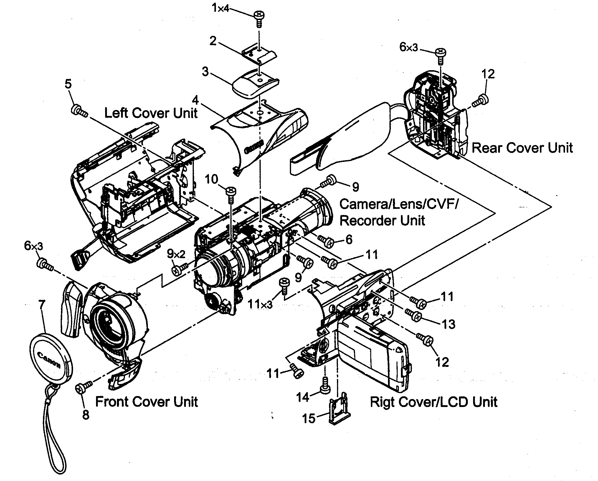
  • Click a diagram to see the parts shown on that diagram.
  • In the search box below, enter all or part of the part number or the part’s name.

Not all parts are shown on the diagrams—those parts are labeled NI, for “not illustrated”.

We encourage you to save the model to your profile, so it’s easy to access parts and manuals for your appliance whenever you log in.

For DIY troubleshooting advice and repair guides, visit our repair help section.

Showing 10 of 92 parts

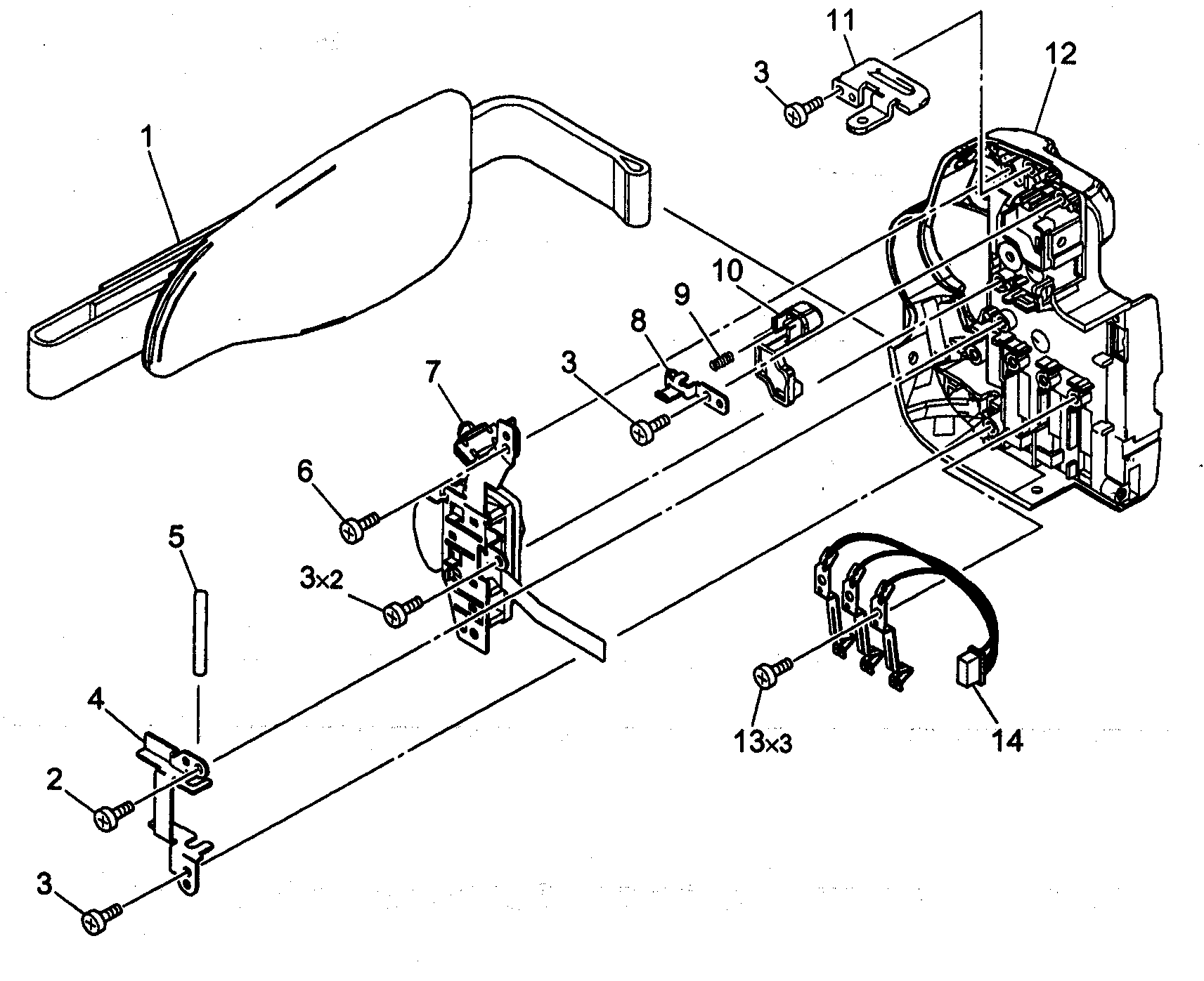
Cover#13

Right cover assy 1 Diagram

Cover

Part #DA3-1436-000

The manufacturer no longer makes this part, and there's no substitute part

PCB Assembly#6

Right cover assy 1 Diagram

Pcb assembly

Part #DG3-0403-000

The manufacturer no longer makes this part, and there's no substitute part

Connector#2

Recorder assy 1 Diagram

Connector

Part #DG3-0410-000

The manufacturer no longer makes this part, and there's no substitute part

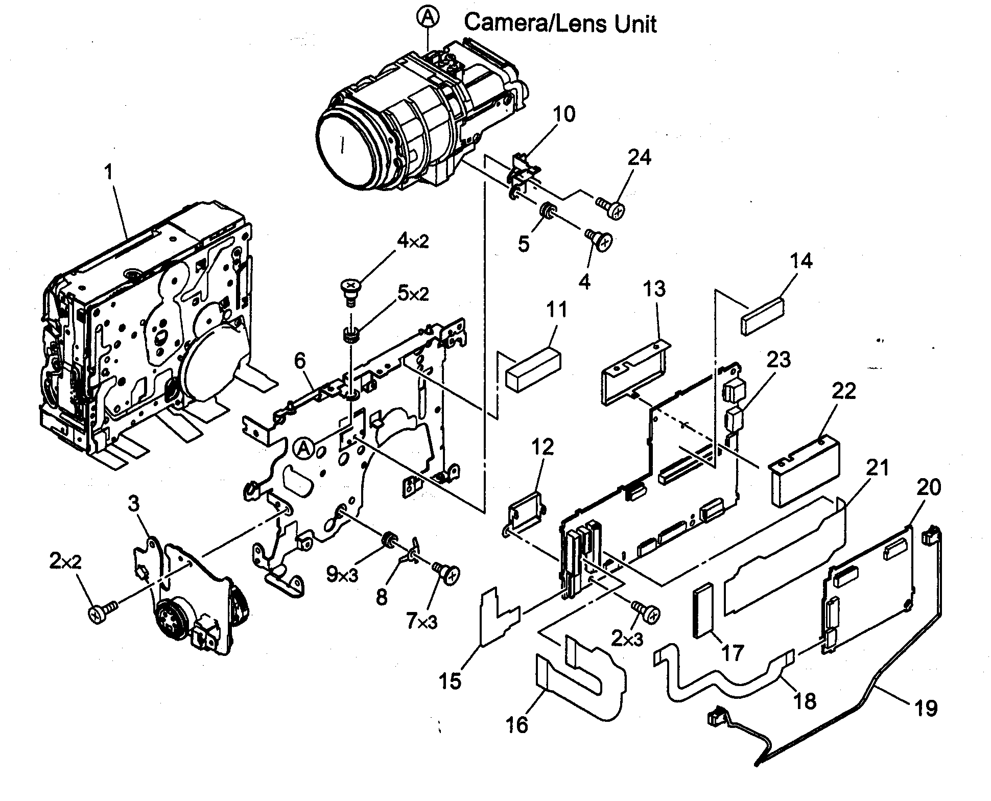
PCB Assembly#5

Camera assy Diagram

Pcb assembly

Part #DG3-0399-000

The manufacturer no longer makes this part, and there's no substitute part

PCB Assembly#7

Cvf assy Diagram

Pcb assembly

Part #DG3-0405-000

The manufacturer no longer makes this part, and there's no substitute part

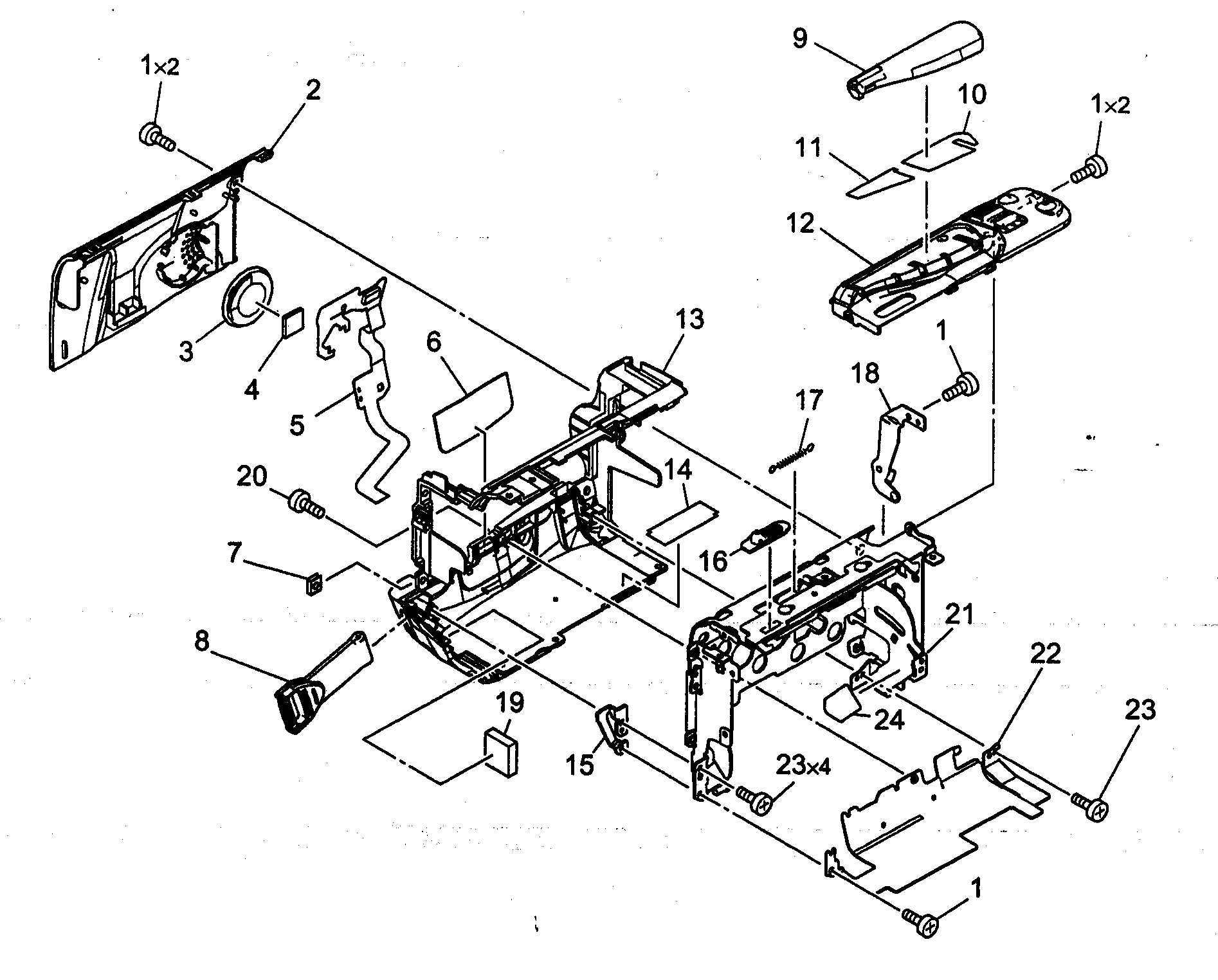
Hook#8

Left cover assy Diagram

Hook

Part #DA3-1484-000

The manufacturer no longer makes this part, and there's no substitute part

Microphone Assembly#17

Front cover assy Diagram

Microphone assembly

Part #DF1-5058-000

The manufacturer no longer makes this part, and there's no substitute part

Cover Assembly#9

Right cover assy 1 Diagram

Cover assembly

Part #DY1-8656-000

The manufacturer no longer makes this part, and there's no substitute part

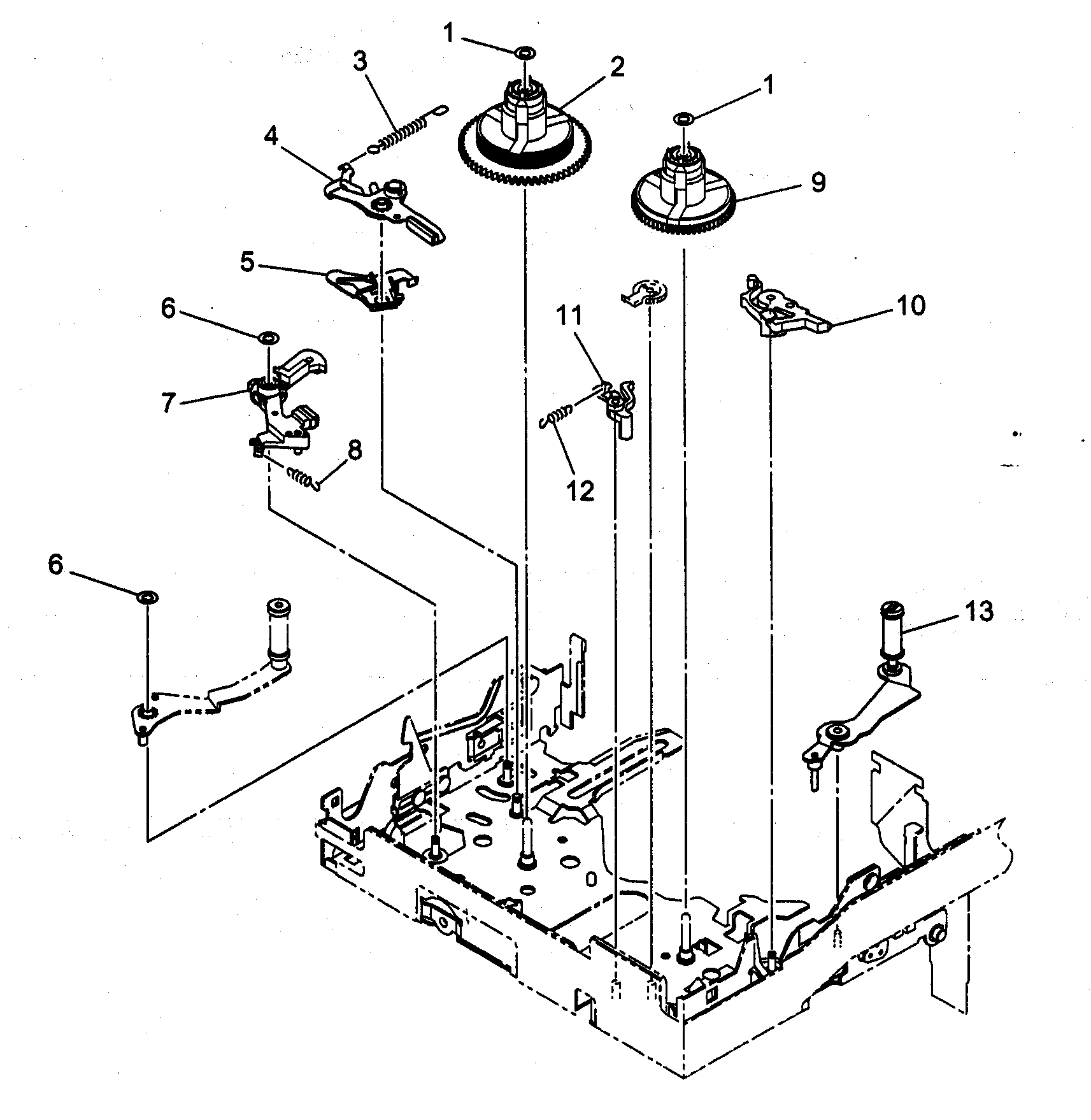
Reel Asy,s#2

Mechanical chassis 2 Diagram

Reel asy,s

Part #DG1-4504-000

The manufacturer no longer makes this part, and there's no substitute part

Fpc#15

Lcd assy Diagram

Fpc

Part #DH2-5205-000

The manufacturer no longer makes this part, and there's no substitute part