Shakespeare
Boating

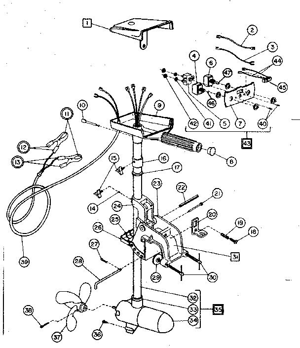
Model #SIGMA 28CK Official Shakespeare electric outboard motor

Here are the diagrams and repair parts for Shakespeare SIGMA-28CK electric outboard motor, as well as links to manuals and error code tables, if available.

There are a couple of ways to find the part or diagram you need:

  • Click a diagram to see the parts shown on that diagram.
  • In the search box below, enter all or part of the part number or the part’s name.

Not all parts are shown on the diagrams—those parts are labeled NI, for “not illustrated”.

We encourage you to save the model to your profile, so it’s easy to access parts and manuals for your appliance whenever you log in.

For DIY troubleshooting advice and repair guides, visit our repair help section.

Showing 10 of 47 parts

Propeller#37

Unit parts Diagram

Propeller

Part #64-49-0006-01

The manufacturer no longer makes this part, and there's no substitute part

Circuit Breaker#5

Unit parts Diagram

Circuit breaker

Part #64-08-0006-01

The manufacturer no longer makes this part, and there's no substitute part

Collar#16

Unit parts Diagram

Collar

Part #64-17-0017-01

The manufacturer no longer makes this part, and there's no substitute part

Red Insltr#12

Unit parts Diagram

Red insltr

Part #64-41-0010-01

The manufacturer no longer makes this part, and there's no substitute part

Bolt#18

Unit parts Diagram

Bolt

Part #64-58-0062-03

The manufacturer no longer makes this part, and there's no substitute part

Mtr/tube Asm#35

Unit parts Diagram

Mtr/tube asm

Part #65-39-0065-07

The manufacturer no longer makes this part, and there's no substitute part

Tube Adapt C#33

Unit parts Diagram

Tube adapt c

Part #64-17-0016-03

The manufacturer no longer makes this part, and there's no substitute part

Switch Speed#4

Unit parts Diagram

Switch speed

Part #64-68-0051-01

The manufacturer no longer makes this part, and there's no substitute part

Clamp Screw#30

Unit parts Diagram

Clamp screw

Part #64-58-0016-01

The manufacturer no longer makes this part, and there's no substitute part

Clamp Assembly#31

Unit parts Diagram

Clamp assembly

Part #65-07-0036-02

The manufacturer no longer makes this part, and there's no substitute part