Kenmore
Central Air Conditioner

Model #2539750990 Official Kenmore air conditioner

Here are the diagrams and repair parts for Kenmore 2539750990 air conditioner, as well as links to manuals and error code tables, if available.

There are a couple of ways to find the part or diagram you need:

  • Click a diagram to see the parts shown on that diagram.
  • In the search box below, enter all or part of the part number or the part’s name.

Not all parts are shown on the diagrams—those parts are labeled NI, for “not illustrated”.

We encourage you to save the model to your profile, so it’s easy to access parts and manuals for your appliance whenever you log in.

For DIY troubleshooting advice and repair guides, visit our repair help section.

    Showing 10 of 102 parts

    Louver#8

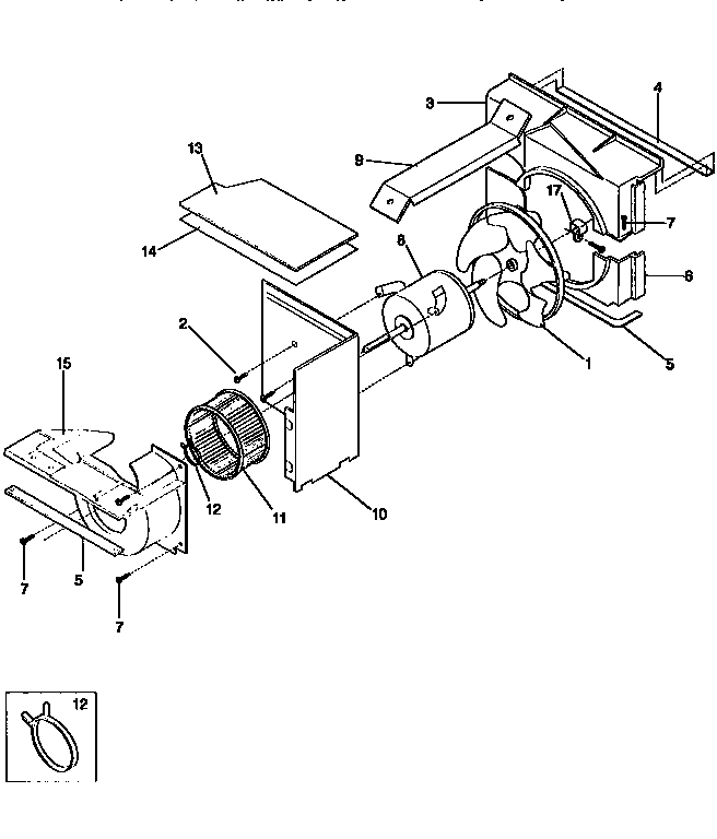
    Wrapper Diagram

    Louver

    Part #5303309924
    In Stock
    $15.64
    Partition#10

    Control panel Diagram

    Partition

    Part #5303295753
    In Stock
    $32.49
    Nameplate#24

    Wrapper Diagram

    Nameplate

    Part #5303299902
    This item is not returnable
    In Stock
    $3.49
    Room Air Conditioner Owner's Manual

    #NI

    All parts Diagram

    Room air conditioner owner's manual

    Part #5303306245
    This item is not returnable
    In Stock
    $3.84
    Room Air Conditioner Filter Dryer#17

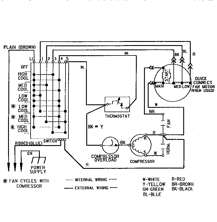
    Compressor Diagram

    In Stock
    $110.08
    Screw-wrapper#39

    Wrapper Diagram

    Screw-wrapper

    Part #5303293767
    This item is not returnable
    In Stock
    $3.23
    Spacer#12

    Control panel Diagram

    Spacer

    Part #5303211009
    This item is not returnable
    In Stock
    $3.24
    Room Air Conditioner Screw#14

    Control panel Diagram

    In Stock
    $7.83 | 
    11% OFF 
    Phone Price: $8.83
    Room Air Conditioner Screw#2

    Air handling Diagram

    Screw

    Part #3202975
    Replaced by #5304410881
    ?
    Manufacturer substitution
    This part replaces 3202975. Substitute parts can look different from the original.
    This item is not returnable
    In Stock
    $4.77
    Range Hex Flange Nut, #10-32 x 3/8-in#12

    Window mounting Diagram

    Nut-hex

    Part #3017023
    Replaced by #316205500
    ?
    Manufacturer substitution
    This part replaces 3017023. Substitute parts can look different from the original.
    This item is not returnable
    In Stock
    $12.37

    Articles and videos common to all central air conditioners

    November 30, 2022

    2023 HVAC regulation changes and how they may affect you

    By Lyle Weischwill

    Find out how new DOE standards going into effect in 2023 can affect you and what you need to do.

    October 24, 2022

    Easy DIY appliance repairs that anyone can do

    By Lyle Weischwill

    Get advice on simple DIY fixes for appliances that you can safely do on your own.

    August 5, 2022

    Introducing new technical repair content that we’re developing for the Sears Technical Institute

    By Lyle Weischwill

    Learn about Sears Technical Institute and the advanced technical content being developed for aspiring appliance techs.