LXI
Audio Equipment

Model #56421942450 Official LXI stereo cassette player & recorder with am/fm stereo

Here are the diagrams and repair parts for LXI 56421942450 stereo cassette player & recorder with am/fm stereo, as well as links to manuals and error code tables, if available.

There are a couple of ways to find the part or diagram you need:

  • Click a diagram to see the parts shown on that diagram.
  • In the search box below, enter all or part of the part number or the part’s name.

Not all parts are shown on the diagrams—those parts are labeled NI, for “not illustrated”.

We encourage you to save the model to your profile, so it’s easy to access parts and manuals for your appliance whenever you log in.

For DIY troubleshooting advice and repair guides, visit our repair help section.

Showing 10 of 75 parts

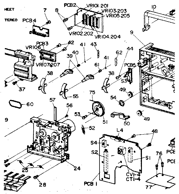
Steel Ball

#41

All parts Diagram

Steel ball

Part #R-147183

The manufacturer no longer makes this part, and there's no substitute part

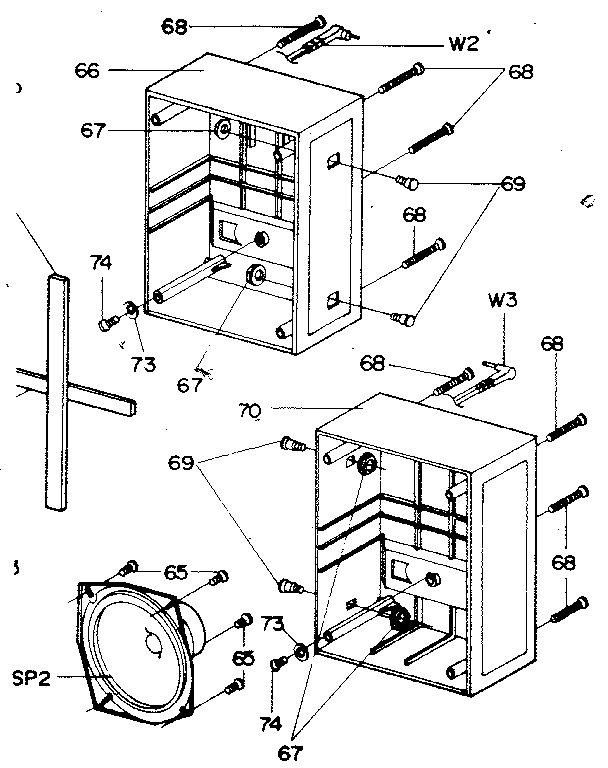
Nut 4mm Flng

#67

All parts Diagram

Nut 4mm flng

Part #W-SFRN40Z1

The manufacturer no longer makes this part, and there's no substitute part

Box Speaker

#72

All parts Diagram

Box speaker

Part #R-467366

The manufacturer no longer makes this part, and there's no substitute part

Belt

#60

All parts Diagram

Belt

Part #R-4470914

The manufacturer no longer makes this part, and there's no substitute part

Nut

#54

All parts Diagram

Nut

Part #R-247206

The manufacturer no longer makes this part, and there's no substitute part

Volume Knob

#5

All parts Diagram

Volume knob

Part #R-3976418-1

The manufacturer no longer makes this part, and there's no substitute part

Screw

#69

All parts Diagram

Screw

Part #R-147178A

The manufacturer no longer makes this part, and there's no substitute part

AC Cord

#80

All parts Diagram

Ac cord

Part #R-S37225-2

The manufacturer no longer makes this part, and there's no substitute part

Screw

#15

All parts Diagram

Screw

Part #B-STPN3010C2

The manufacturer no longer makes this part, and there's no substitute part

Cass Case

#32

All parts Diagram

Cass case

Part #R-3170089

The manufacturer no longer makes this part, and there's no substitute part